05 Пояснительная записка (1205041), страница 11
Текст из файла (страница 11)
3.2.5.1 Общие принципы выбора машин
Главные цели выбора техники: обеспечение требуемого темпа строительства и сокращение затрат на технику.
3.2.5.2 Землеройно-транспортные машины
1. Экскаваторы обратная лопата представлены в таблице 3.5.
Производительность рассчитывается при коэффициенте загрузки ковша в 1,2 и коэффициенте использования:
- при работе в отвал - 0,9;
- при работе в землевоз - 0,8.
Таблица 3.5 – Характеристики экскаватора
| Ёмкость ковша, м | Длительность цикла при работе, сек | Расчётная производительность при работе, м/час | |||
|
| в отвал | в землевоз | в отвал | в землевоз | |
| 0,3 | 12-14 | 16-18 | 92-108 | 58-65 | |
| 0,6 | 14-16 | 18-20 | 162-185 | 103-115 | |
| 1,2 | 15-17 | 20-22 | 305-345 | 235-259 | |
| 1,8 | 16-18 | 23-25 | 432-486 | 311-338 | |
| 2,4 | 17-19 | 26-28 | 545-609 | 370-398 | |
| 3,0 | 18-20 | 29-31 | 648-720 | 418-446 | |
Производительность рассчитывается при коэффициенте загрузки ковша в 0,9 и коэффициенте использования в 0,8.
Таблица 3.6 – Производительность экскаватора
| Ёмкость ковша, м | Длительность цикла, сек, при работе из штабеля в землевоз | Расчётная производительность, м/час, при работе из штабеля в землевоз |
| 1,1 | 24-28 | 102-119 |
| 1,35 | 25-28 | 125-146 |
| 1,65 | 26-29 | 147-171 |
| 2,0 | 26-29 | 179-207 |
| 3,0 | 27-30 | 259-299 |
3.2.6 Техника безопасности и охрана труда
Экскаваторы во время работы должны устанавливаться на спланированной площадке. Запрещается подкладывать под гусеницы брёвна, камни и другие предметы.
При работе экскаватора рабочим запрещается находиться под его ковшом, стрелой, проводить другие работы со стороны забоя. Во время перерывов в работе ковш должен быть опущен на землю. Очистку ковша можно производить, только опустив его на грунт.
При погрузке грунта ковш экскаватора не должен перемещаться над кабинами автомобилей.
Запрещается изменять вылет стрелы при заполненном ковше, регулировать тормоза при поднятом ковше.
3.3 Технологическая карта на отсыпку насыпи думпкарами
3.3.1. Общие положения
Вагоны промышленного транспорта предназначены для внутренних перевозок, связанных с производственным процессом промышленных предприятий (доставка металлургического сырья, полуфабрикатов, готовой продукции, строительных материалов), а также непосредственно с технологическим процессом в качестве транспортного средства для выполнения внутризаводских или внутрицеховых транспортных операций. Кроме того, такие вагоны используются для внешних перевозок до мест примыкания дорог промышленного транспорта к магистральным железным дорогам. Некоторые типы вагонов с определенными осевыми нагрузками промышленного транспорта могут эксплуатироваться и на магистральных дорогах России, а на дорогах промышленного транспорта могут эксплуатироваться в свою очередь обычные универсальные и специализированные вагоны магистральных железных дорог.
Четырехосные думпкары предназначены для перевозки горнорудных пород, грунта и сыпучих грузов удельным весом до 2,2 т/м3. Конструкция думпкара допускает погрузку крупных глыб породы массой до 2,0 т на предварительно подсыпанный слой мелкой породы толщиной не менее 300 мм с высоты до 2 м от уровня пола.
Шестиосный думпкар типа 2ВС-105 (рис. 3.3) с трехосными тележками УВЗ-11А с центральным рессорным подвешиванием, предназначенный для перевозки грузов с удельным весом до 2,0 т/м3, имеет продольные штампосварные металлические борта, лобовые стенки 1 с рычажным механизмом открывания продольных бортов, верхнюю раму 2, нижнюю раму 3 и шесть пневмоцилиндров 4 для наклона кузова при разгрузке, два из которых (по одному с каждой стороны думпкара) — двойного действия для возвращения кузова после разгрузки в горизонтальное положение.
Рисунок 3.3 – Шестиосный думпкар
Восьмиосные думпкары с двумя четырехосными тележками служат для перевозки вскрышных пород с удельным весом до 2,0 т/м3 и скальных пород и руд с удельным весом до 2,5-3,0 т/м3 на предприятиях горной металлургии. Кузов думпкара имеет такую же принципиальную схему, как у шестиосного думпкара; отличия лишь в конструктивном исполнении отдельных узлов и деталей.
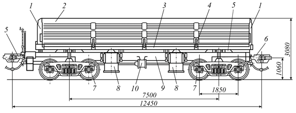
Рисунок 3.4 - Вагон-самосвал (думпкар) модели 31-674;
1 – лобовые стенки с шарнирно-рычажными механизмами открывания бортов; 2 – продольные борта; 3 – верхняя рама; 4 – петли; 5 – упоры; 6 – автосцепки СА-3; 7 – ходовые тележки 18-100; 8 – пневмоцилиндры наклона кузова; 9 – нижняя рама;
10 – тормозная система
3.3.2 Организация и технология выполнения работ
3.3.2.1 Состав и последовательность работ
Состав работ по отсыпке насыпи думпкарной вертушкой принят следующий:
- загрузка думпкаров на карьере Корфовский;
- перевозка грунта в думпкарах до места работ;
- выгрузка грунта на участке строительства;
- срезка растительного слоя бульдозером;
- перемещение и разравнивание грунта бульдозером;
- перемещение грунта экскаватором;
- планировка временного обхода;
- уплотнение насыпи.
3.3.2.2 Загрузка думпкаров
Большинство вагонов промышленного транспорта имеет специальную конструкцию, позволяющую эффективно выполнять погрузо-разгрузочные, транспортные и технологические операции. Наиболее широкое распространение на промышленном транспорте получили думпкары (вагоны-самосвалы), позволяющие применять механизированные способы и средства погрузки и выгрузки грузов. Основные технические характеристики думпкаров приведены в табл. 3.7.
Думпкары с механизированной погрузкой грузов (вскрышные породы, никелевые, марганцовые, апатитовые, железные руды, уголь и др.) экскаваторами и механизированной погрузкой гравитационным способом предназначены в основном для эксплуатации на открытых разработках полезных ископаемых (карьерах и разрезах).
Таблица 3.7 – Технические характеристики думпкаров
3.3.2.3 Выгрузка грунта из думпкаров
При разгрузке кузов с металлическими шарнирными бортами и трехслойным полом (верхняя стальная плита толщиной 12 мм, нижний стальной лист толщиной 4 мм, средняя упругая прослойка из деревянных брусьев толщиной 75 мм) с помощью специального рычажного механизма на торцевых бортах и пневматических цилиндров, укрепленных на думпкаре, наклоняется под углом 40-45° к горизонту.
При этом боковой борт со стороны разгрузки автоматически с помощью механизма думпкара откидывается вниз и становится продолжением пола, предотвращая высыпание груза на ходовые части думпкара. При этом противоположный боковой борт удерживается рычажным механизмом в закрытом положении.
3.3.2.4 Работы, выполняемые бульдозером
До начала работ по возведению насыпи предусмотрена срезка растительного грунта. Срезка растительного грунта производится бульдозером мощностью 130л.с. с перемещением до 20м с последующей погрузкой экскаватором емкостью ковша 0,65м3 в автосамосвалы и вывозом грунта в отвал на расстояние от 1 до 3 км в места, отводимые местной администрацией.
Возведение временных обходов после выгрузки скального грунта думпкарами осуществляется бульдозером. Насыпь возводится послойно.
Для обеспечения уплотнения грунта в теле насыпи, насыпь по всей ширине и длине отсыпается горизонтальными слоями толщиной 40 см, грунт послойно разравнивается бульдозером. Уплотнение грунта в теле насыпи предусмотрено пневмокатками весом 25 т за 6-8 проходов.
Нормы времени на перемещение грунта бульдозером представлены в таблице 3.8.
Состав работы:
- Приведение агрегата в рабочее положение.
- Перемещение бульдозера с подъемом и опусканием отвала во время хода.
- Возвращение бульдозера порожняком.
Таблица 3.8 - Нормы времени и расценки на 100 м3 породы
| Марка трактора | Марка бульдозера | Расстояние перемещения грунта, м | |
| до 10 | добавлять на каждые следующие 10 | ||
| Т-180 | ДЗ-24А (Д-521А) | 1,2 (1,2) 1-27 | 0,6 (0,6) 0-63,6 |
|
|
| а | б |
Примечание. Нормами и расценками учтено перемещение грунта по пути с подъемом до 10 %. При подъемах до 20 % длину пути на участках с подъемом умножать на 1,2, а при подъемах св. 20 % - на 1,4 (ПР-1).
3.3.2.5 Перемещение выгруженного грунта экскаватором
На некоторых участках производства работ грунт, выгруженный думпкарами, разрабатывается экскаватором. Состав работ при этом следующий:
- резание грунта и заполнение ковша;
- подъем ковша с грунтом;
- поворот экскаватора вокруг оси к месту выгрузки;
- выгрузка грунта из ковша;
- обратный поворот экскаватора;
- опускание ковша на грунт и подача его для резания грунта.
Разработку грунта одноковшовыми экскаваторами ведут позиционно. Рабочая площадка экскаватора называется забоем. Планировку поверхности сооружения производят бульдозером.
Таблица 3.9 - Технические характеристики экскаватора ЕТ-18
| Показатель | Значение | ||
| Вес, т | 18,5 | ||
| Емкость ковша (по SAE), куб.м | 1,0 (0,65; 0,77) | ||
| Длина, мм | 9400 | ||
| Ширина, мм | 2750 | ||
| Высота, мм | 3140 | ||
| Двигатель | Д-245 | ||
| Мощность двигателя, л.с. | 105 | ||
| Продолжительность цикла, с | 18,5 | ||
| Давление в гидросистеме, МПа | 28 | ||
| Скорость передвижения, км/час | 2,4 | ||
| Параметры копания | |||
| Рукоять, м | 2,2 | 2,8 | 3,4 |
| Радиус копания, м | 9,2 | 9,8 | 10,3 |
| Радиус копания на уровне стоянки, м | 9,0 | 9,6 | 10,1 |
| Кинематическая глубина копания, м | 6,0 | 6,6 | 7,2 |
| Высота выгрузки, м | 6,0 | 6,27 | 6,54 |
| Угол поворота ковша, град. | 177 | 177 | 177 |
| Максимальная емкость ковша (по SAE), куб.м | 1,0 | 0,77 | 0,65 |















