Лекция №13-14. Конспекты к слайдам (1186397), страница 4
Текст из файла (страница 4)
Тогда переходят к модели логарифмически-нормального распределения
Значения ln σц и ln b распределены в этом случае по нормальному закону, отношение
определяется выражением kц=еD/2.
При изменении дисперсии D величина kц изменяется от 1 до ∞, что является достоинством аппроксимации (76).
Еще более широкие возможности аппроксимации дает совокупность распределений Джонсона.
Это распределения случайных величин s=σц или s=b, трансформированных из гауссовских величин z с единичной дисперсией и нулевым математическим ожиданием при помощи нелинейных функций si(z) (i=1,2,3) трех типов, одна из которых приводит к (76).
Слайд 42
Подбор типа функции осуществляется по соотношению коэффициентов асимметрии и эксцесса экспериментальной кривой, например р(σц). Для простых целей [144] с малым числом блестящих точек лучший результат дает ограниченное с двух сторон по переменной s преобразование
где ε, λ, γ, η — параметры.
Широкое развитие электронно-вычислительной техники позволяет моделировать случайные числа z и величины si(z), соответствующие найденным распределениям.
Могут моделироваться также дискреты помехи и значения b и σц для каждого возможного расположения отражающих элементов цели в пространстве.
Это обеспечивает прямое моделирование процесса обнаружения.
Слайд 43
2.4 Структурные схемы обнаружителей сигналов со случайной начальной фазой и со случайными амплитудой и начальной фазой.
Алгоритмы оптимального многоканального обнаружения когерентных сигналов со случайной начальной фазой и со случайными амплитудой и начальной фазой одинаковы.
Отношение правдоподобия (его логарифм) является в обоих случаях монотонной функцией от модульного значения |Z| комплексного весового интеграла Z.
Алгоритм оптимального обнаружения может быть сведен к сравнению этого значения с порогом (порогами).
Вычисление модульного значения весового интеграла реализуется путем квадратурной обработки:
Обработка (след. рис. 11) проводится в двух независимых каналах, называемых квадратурными.
На каждый из них подается совокупность опорных напряжений, сдвинутых по фазе на 90° относительно совокупности напряжений другого канала.
Слайд 44
Опорные напряжения описываются вектор-столбцом комплексных амплитуд R(t) в первом канале и вектор-столбцом — jR(t) — во втором. Интегрирование в каждом канале проводится на видеочастоте.
Результаты поканальной обработки объединяются в квадратуре и сравниваются с порогом.
Возможно такое соотношение начальных фаз сигнала и опорного напряжения, при котором полезный эффект полностью пропадает в одном из квадратурных каналов.
Тогда он максимален в другом квадратурном канале.
Слайд 45
Выходной эффект всей квадратурной схемы в целом от соотношения начальных фаз не зависит.
При разделении обработки на пространственную и временную квадратурная временная обработка может проводиться после пространственной, реализуемой на радиочастоте.
Квадратурная обработка (рис. 11) может быть проведена в принципе начиная от модулей антенной решетки (в частности, в цифровой форме).
Недостатком такого варианта обработки является необходимость раздельного ее проведения в каждом элементе разрешения.
Рисунок 11 – Схема квадратурной обработки для оптимального обнаружителя
В условиях стационарных помех аналоговую квадратурную обработку во временной области обычно заменяют сочетанием фильтровой обработки и амплитудного детектирования.
Операция вычисления весового интеграла (60) или часть ее, составляющая временную обработку, выполняется оптимальным фильтром (ОФ).
Слайд 46
Значение |Z| находится как амплитуда напряжения на выходе фильтра в момент времени, зависящий от ожидаемого запаздывания сигнала. Эта амплитуда определяется по величине напряжения, снимаемого с амплитудного детектора, стоящего на выходе фильтра. Последнее подлежит сравнению с порогом. Структурная схема обработки показана на рис. 12. Она разделяется на составные части, реализующие пространственную и временную обработки. Схема рис. 12 рассчитана на сигналы как со случайной начальной фазой, так и со случайными амплитудой и начальной фазой. Фильтровая обработка позволяет избежать многоканальности корреляционной обработки при обнаружении сигналов с различным запаздыванием. Разветвлений на квадратурные каналы при этом также не требуется.
Рисунок 12 – Схема с сочетанием фильтровой обработки и амплитудного детектирования
Слайд 47
2.5 Показатели качества двухальтернативного оптимального обнаружения когерентных сигналов со случайными параметрами.
При одинаковом алгоритме сравнения |Z| или |Zн| с порогом показатели качества обнаружения не зависят от варианта построения схемы обработки (рис. 6.4, 6.5). Поэтому при их расчете ориентируемся на одну из схем — схему рис. 6.4. Ее квадратурные ветви представляют собой устройства обработки сдвинутых по фазе на 90° сигналов с известными параметрами. В отсутствие полезного сигнала выходные напряжения ветвей распределены по нормальному закону с нулевым математическим ожиданием и дисперсией σ02=q2. Значение |Zн|=s распределено по закону Релея
Условная вероятность ложной тревоги F определяется выражением
Отсюда уровень порога
Слайд 48
Условную вероятность правильного обнаружения найдем из соотношения
Функция l(s) здесь описывает зависимость отношения правдоподобия от модульного значения весового интеграла s=|Zн|.
Для сигнала со случайной равномерно распределенной начальной фазой, подставляя (65), (78), (80), в (81), получаем
Для сигнала со случайными амплитудой и равномерно распределенной начальной фазой расчет проведем применительно к произвольному m-распределению амплитудного множителя. Подставляя (72), (78), (80) в (81) и заменяя при этом μ=q|ZH|=qs, находим
Слайд 49
Для релеевского распределения m=1 получим
Для распределения т=2 (Сверлинга) найдем
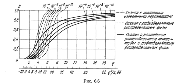
На рис. 6.6 нанесены кривые обнаружения D(q) при различных F=const для сигналов с известными параметрами, с равновероятным распределением начальной фазы, с релеевским распределением амплитуды и равновероятным распределением начальной фазы.
Слайд 50
По сравнению с кривыми для сигнала с полностью известными параметрами кривые обнаружения для сигнала со случайной начальной фазой несколько сдвинуты вправо.
Последнее связано с необходимостью увеличения порога из-за незнания начальной фазы.
Отбор принимаемых реализаций помехи окажется иначе недостаточно строгим и возрастет вероятность F.
Для сохранения прежнего значения D при увеличенном пороге s0 требуется несколько повысить энергию сигнала, а значит, параметры q и q2.
Значение q2 на кривых рис. 13 соответствует отношению пиковой (за период 1/f0 высокочастотных колебаний) мощности сигнала к средней мощности шума на выходе линейной системы обработки.
Рисунок 13 – Кривые обнаружения
При случайной амплитуде сигнала отложено среднее значение q2=М[q2(b)].
Наряду со шкалой q вдоль оси абсцисс рис. 6.6 нанесена децибельная шкала 10 lg(q2/2).
Слайд 51
Величина q2/2 характеризует отношение средней (за период 1/f0 высокочастотных колебаний) мощности сигнала к средней мощности шума.
При случайной амплитуде учитывается дополнительное усреднение по реализациям. Величина 10 lg(q2/2) при обнаружении на фоне стационарного некоррелированного шума — это (Эср/N0) [дБ].
Кривые обнаружения для сигнала с релеевской случайной амплитудой и начальной фазой существенно сдвинуты вправо в области больших значений D в связи с возможными флуктуационными замираниями сигнала.
В области малых D (D<0,2) флуктуации амплитуды облегчают обнаружение сигнала, а кривые обнаружения сдвинуты влево.
Влияние распределений Накагами на кривые обнаружения поясняется рис. 14 для m=1 (релеевских флуктуаций амплитуды), m=2 (второго случая Сверлинга), m=3 и
(нефлуктуирующего сигнала со случайной начальной фазой).
Слайд 52
Видно, что случай m=2 — промежуточный между m=1 и
. Аналогично можно говорить и о влиянии на кривые обнаружения параметра kц при логарифмически-нормальных распределениях (76), подробнее см. [106].
















