Белов- БЖД (1183106), страница 57
Текст из файла (страница 57)
Для гиперфильтрации используют ацетатцеллюлозные, полиамидные и тому подобные полимерные мембраны с ресурсом работы 1. 2 г Селективность мембран по отношению к ионам различных веществ характеризуется следующим рядом Al3+ > Zn2+ > Cd2+ > Mg2+ > Ca2+ > Ba2+ > SO2- > Na+ > F- > K+ > Cl- > Br- > I- > NO3- > H+.
Эвапорация реализуется обработкой паром сточной воды с содержанием летучих органических веществ, которые переходят в паровую фазу и вместе с паром удаляются из сточной воды. Процесс эвапорации осуществляют в испарительных установках (рис. 6. 23), в которых при протекании через эвапорационную колонну с насадками из колец Рашига навстречу потоку острого пара сточная вода нагревается до температуры 100° С. При этом содержащиеся в сточной воде летучие примеси переходят в паровую фазу и распределяются между двумя фазами (паром и водой) в соответствии с уравнением Сп/св = у, где Сп и св, – концентрации примеси в паре и сточной воде, кг/м3; у – коэффициент распределения. Для аммиака, этиламина, диэтиламина, анилина и фенола, содержащихся в сточной воде, коэффициент распределения соответственно равен 13, 20, 43; 5,5 и 2.
Концентрация примеси в сточной воде на выходе из эвапорацион-ной колонны
Св=Со(qY-1)(qyex-1)
где Co –концентрация примеси в исходной сточной воде, кг/м3; q – удельный расход пара, кг/кг; х = [рσН(qу–1)]/(Ьуу), здесь bqy – эмпирическая постоянная насадки; b–плотность орошения колонны водой, м3/м2; р –эмпирическая постоянная, м/с; ст –удельная площадь поверхности насадки, м^м2; Н–высота слоя насадки, м.
Выпаривание, испарение и кристаллизацию используют для очистки небольших объемов сточной воды с большим содержанием летучих веществ.
Биологическая очистка. Ее применяют для выделения тонкодисперсных и растворенных органических веществ. Она основана на способности микроорганизмов использовать для питания содержащиеся в сточных водах органические вещества (кислоты, спирты, белки, углеводы и т. п.). Процесс реализуется в две стадии, протекающие одновременно, но с различной скоростью: адсорбция из сточных вод тонкодисперсных и растворенных примесей органических веществ и разрушение адсорбированных веществ внутри клетки микроорганизмов при протекающих в них биохимических процессах (окислении или восстановлении). Обе стадии реализуются как в аэробных, так и в анаэробных условиях в зависимости от видов и свойств микроорганизмов. Биологическую очистку осуществляют в природных и искусственных условиях.
Сточные воды в природных условиях очищают на полях фильтрации, полях орошения и в биологических прудах [6.5]. Очистку и бытовых, и производственных сточных вод на полях фильтрации и полях орошения в настоящее время используют очень редко в связи с малой пропускной способностью единицы площади полей и непостоянством состава производственных сточных вод, а также из-за возможности попадания на поля токсичных для их микрофлоры примесей.
Биологические пруды используют для очистки и доочистки сточных вод суточным расходом не более 6000 м3. Применяют пруды с естественной и искусственной аэрацией.
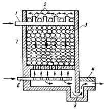
Биологические фильтры широко используют для очистки и бытовых, и производственных сточных вод. В качестве фильтровального материала для загрузки биофильтров применяют шлак, щебень, керамзит, пластмассу, гравий и т. п. Существуют биофильтры с естественной подачей воздуха; их применяют для очистки сточных вод суточным расходом не более 1000 м3 Для очистки производственных сточных вод больших расходов и сильно концентрированных используют биофильтры с принудительной подачей воздуха (рис 6 24)
Рис. 6. 24. Схема биофильтра с принудительной подачей воздуха
1–трубопровод подачи исходной сточной воды; 2–водораспределительные устройства; 3– фильтровальная загрузка; 4–трубопровод отвода очищенной сточной воды; 5–гидравлический затвор; 6 – трубопровод подвода сжатого воздуха; 7 – корпус фильтра
Нормальный ход процесса биологической очистки сточных вод устанавливается после образования на загрузочном материале биофильтра биологической пленки, микроорганизмы которой адаптировались к органическим примесям сточных вод. Период адаптации обычно составляет 2...4 недели, хотя в отдельных случаях он может достигать нескольких месяцев. Для оценки состава сточных вод в процессе биологической очистки используют биологическую потребность воды в кислороде (БПК) –количество кислорода, необходимое для окисления всех органических примесей, содержащихся в единице объема сточной воды.
Объем загрузочного материала V= (La–l)/m, где La и Lt,–БПК исходной и очищенной сточной воды, кг/м3; М–окислительная мощность биофильтра –масса кислорода, которая может быть получена в сутки с единицы объема загрузочного материала биофильтра, кг/(м3сут)
Аэротенки, используемые для очистки больших расходов сточных вод, позволяют эффективно регулировать скорость и полноту протекающих в них биохимических процессов, что особенно важно для очистки промышленных сточных вод нестабильного состава. Окислительная мощность аэротенков составляет 0,5...1,5 кг/м3 в сутки. В зависимости от состава примесей сточных вод и требуемой эффективности очистки применяют аэротенки с дифференцируемой подачей воздуха, аэротенки-смесители с дифференцируемой подачей сточной воды и аэротенки с регенераторами активного ила.
При БПК > 0,5 кг/м3 используют аэротенки с дифференцируемой (сосредоточенной) подачей смеси сточной воды и активного ила в начале сооружения (рис. 6.25). Воздух, интенсифицирующий процесс окисления органических примесей, распределяется равномерно по всей длине аэротенка. Диспергирование воздуха в очищаемой сточной воде осуществляют механическими или пневматическими аэраторами. Окислительная мощность аэротенков существенным образом зависит от концентрации активного ила в сточной воде При очистке производственных сточных вод концентрация ила обычно составляет 2...3 кг/м3 по сухому веществу.
Рис. 6. 25. Технологическая схема аэротенка
1 – трубопровод подачи исходной сточной воды; 2–первичный отстойник; 3– трубопровод подачи активного ила для повторного использования; 4–аэротенк; 5–трубопровод отвода отработанного ила; 6–трубопровод отвода очищенной сточной воды; 7–вторичный отстойник; 8-–трубопровод подвода сжатого воздуха
Окситенки обеспечивают более интенсивный процесс окисления органических примесей по сравнению с аэротенками за счет подачи в них технического кислорода и повышения концентрации активного ила. Для увеличения коэффициента использования подаваемого в объем сточной воды кислорода реактор окситенка герметизируют. Очищенная от органических примесей сточная вода из реактора поступает в илоотделитель, в котором происходит выделение из нее отработанного ила. При проектировании окситенков необходимо предусматривать мероприятия по обеспечению их пожаровзрывобезопасности с учетом вредных и опасных факторов, имеющих место при эксплуатации систем с использованием газообразного кислорода.
6.5. СБОР И ЛИКВИДАЦИЯ ТВЕРДЫХ И ЖИДКИХ ОТХОДОВ
Твердые отходы машиностроительного производства содержат амортизационный лом (отходы при модернизации оборудования, оснастки, инструмента), стружки и опилки металлов, древесины, пластмасс, шлаки, золы, шламы, осадки и пыли (отходы систем очистки воздуха и др.). Твердые отходы предприятия и бытовые составляют:
Отходы предприятия % по массе Бытовые отходы% по массе
Шлак, окалина, зола 67 Бумага, картон 20…36
Горелая формовочная смесь 6 Пищевые отходы 20…38
Шламы, флюсы 3 Дерево 1…4
Абразивы 0,1 Текстиль 3…6
Древесные отходы 2 Кожа, резина . 1,5…2,5
| Пластмассы | 2 | Кости | 1...2 |
| Бумага, картон | 0,5 | Полимерные материалы | 3...5 |
| Мусор | 19,4 | Черные и цветные металлы | 2...3 |
| Стекло | 5...7 | ||
| Камни, керамика | 1...3 | ||
| Уголь, шлак | 0…2,5 | ||
| Отсев размером менее 16 мм | 8…28 |
Для защиты почв, лесных угодий, поверхностных и грунтовых вод от неорганизованного выброса твердых и жидких отходов в настоящее время широко используют сбор промышленных и бытовых отходов на свалках и полигонах. На полигонах производят также переработку промышленных отходов.
Полигоны создают в соответствии с требованиям СНиП 2.01.28–85 и используют для обезвреживания и захоронения токсичных отходов промышленных предприятий, НИИ и учреждений. Приему на полигоны подлежат: мышьяксодержащие неорганические твердые отходы и шламы; отходы, содержащие свинец, цинк, олово, кадмий, никель, сурьму, висмут, кобальт и их соединения; отходы гальванического производства; использованные органические растворители; органические горючие (обтирочные материалы, ветошь, твердые смолы, обрезки пластмасс, оргстекла, остатки лакокрасочных материалов, загрязненные опилки, деревянная тара, промасленная бумага и упаковка, жидкие нефтепродукты, не подлежащие регенерации, масла, загрязненные бензин, керосин, нефть, мазут, растворители, эмали, краски, лаки, смолы); неисправные ртутные дуговые и люминесцентные лампы; формовочная смесь; песок, загрязненный нефтепродуктами; испорченные баллоны с остатками веществ и др. Жидкие токсичные отходы перед вывозом на полигон должны быть обезвожены на предприятиях.
Приему на полигон не подлежат: отходы, для которых разработаны эффективные методы извлечения металлов и других веществ; нефтепродукты, подлежащие регенерации; радиоактивные отходы.
Переработка отходов на полигонах предусматривает использование физико-химических методов, сжигание с утилизацией теплоты, демеркуризацию ламп с утилизацией ртути и других ценных металлов, прокаливание песка и формовочной смеси, подрыв баллонов в специальной камере, затаривание отходов в герметичные контейнеры и их захоронение
Полигоны должны иметь санитарно-защитные зоны: завод по обезвреживанию токсичных отходов мощностью 100 тыс. т и более отходов в год – 1000 м; менее 100 тыс. т – 500 м; участок захоронения токсичных отходов –не менее 300 м.
Получила развитие термическая переработка отходов их сжиганием в печах на мусоросжигающих заводах. Такие заводы работают во многих странах мира, в Москве, Санкт-Петербурге и некоторых других городах нашей страны.
Существующие в настоящее время системы сжигания опасных отходов не только позволяют достичь высокой степени деструкции отходов, но и дают возможность рекуперировать отходящую теплоту. Недостатком сжигания являются значительно большие издержки по сравнению с традиционными методами удаления опасных отходов: вывозом на свалку, сбросом в море и захоронением в отработанные шахты. Затраты, связанные с вывозом опасных отходов на свалки в 1980 г., изменились от 50 до 400 долл./т, издержки на сжигание 1 т отходов варьировались в пределах 75...2000 долл. (данные США). Кроме того, мусоросжигательные установки выбрасывают в атмосферу соединения тяжелых металлов и имеют значительные (до 35 % начальной массы мусора) золошлаковые отходы.
Среди токсичных металлов особое внимание привлекает ртуть: в связи с повышенной летучестью она легко переходит в парообразное состояние в процессе сжигания отходов и выделяется в атмосферу в виде паров металлической ртути. При непрерывной работе мусоросжигательной установки среднегодовой выброс ртути может достигать 160 кг.
Чтобы избежать высокого загрязнения земной поверхности и поверхностных вод в зоне мусоросжигательных заводов, используют передвижные мусоросжигающие установки, смонтированные на автоприцепах или морских судах.
Термический способ переработки отходов экологичнее складирования их на свалках и полигонах, однако, наличие газообразных токсичных выбросов печей и отходов в виде золы и шлаков не позволяет считать этот способ пригодным для решения стратегических задач.
Осадки сточных вод, скапливающиеся на очистных сооружениях, представляют собой водные суспензии с объемной концентрацией полидисперсной твердой фазы 0,5... 10 %. Прежде чем направить осадки сточных вод на ликвидацию или утилизацию, их подвергают предварительной обработке для получения шлама, свойства которого обеспечивают возможность его утилизации или ликвидации с наименьшими затратами энергии и загрязнениями окружающей среды. Технологический цикл обработки осадков сточных вод состоит из уплотнения осадков, их стабилизации, кондиционирования, обезвоживания и ликвидации. Первичная стадия обработки осадков сточных вод –уплотнение. Распространены гравитационный и флотационный методы уплотнения, осуществляемые в отстойниках-уплотнителях, в установках напорной флотации. Применяют также центробежное уплотнение путем фильтрования осадка через фильтрующие перегородки или с помощью вибраторов, погруженных в осадок.















