Белов- БЖД (1183106), страница 55
Текст из файла (страница 55)
где ΔQ –превышение расхода сточной воды при переменном сбросе, м3/с; τз – продолжительность переменного сброса, с; при kn < 5 V =ΔQτ3/ln[kп/(kп-1)].
После расчета объема усреднителя выбирают необходимое число секций, исходя из условия ΔQh/V≤. Wд, где h –высота секции усреднителя, м; Wд = 0,0025 м/с –допустимая скорость движения сточной воды в усреднителе.
В соответствии с видами процессов, реализуемых при очистке, целесообразно [6.5] существующие методы классифицировать на механические, физико-химические и биологические.
Механическая очистка. Для очистки сточных вод от взвешенных веществ используют процеживание, отстаивание, обработку в поле действия центробежных сил и фильтрование.
Процеживание реализуют в решетках и волокноуловителях. В вертикальных или наклонных решетках, ширина прозоров .обычно составляет 15...20 мм. Для удаления осадка веществ с входной поверхности решеток используют ручную или механическую очистку. Последующая обработка удаленного осадка требует дополнительных затрат и ухудшает санитарно-гигиенические условия в помещении. Эти недостатки устраняются при использовании решеток-дробилок, которые улавливают крупные взвешенные вещества и измельчают их до 10 мм и менее. В настоящее время используют несколько типоразмеров таких решеток, например, РД-200 производительностью 60 мЭ/ч и диаметром сетчатого барабана 200 мм.
Для выделения волокнистых веществ из сточных вод целлюлозно-бумажных и текстильных предприятий используют валокноуловители, например с использованием перфорированных дисков или в виде движущихся сеток с нанесенным на них слоем волокнистой массы.
Отстаивание основано на свободном оседании (всплывании) примесей с плотностью больше (меньше) плотности воды. Процесс отстаивания реализуют в песколовках, отстойниках и жироуловителях. Для расчета этих очистных устройств необходимо знать скорость свободного осаждения (всплывания) примесей (м/с)
Wo=gd24(P4-PB)/(18m),
где g–ускорение свободного падения, м/с2; d4,–средний диаметр частиц, м; рч и рв –плотности частицы и воды, кг/м3; m –динамическая вязкость воды. Па/с.
Песколовки используют для очистки сточных вод от частиц металла и песка размером более 0,25 мм. В зависимости от направления движения сточной воды применяют горизонтальные песколовки с прямолинейным и круговым движением воды, вертикальные и аэрируемые. На рис. 6.15 показана схема горизонтальной песколовки, ее длина (м)
L=αhW/Wo
где W–скорость движения воды в песколовке, W=0,15. ..0,3 м/с; α – коэффициент, учитывающий влияние возможной турбулентности и неравномерности скоростей движения сточной воды в песколовке α=1,3...1,7.
Рабочую глубину песколовки h выбирают из условия h/W≤τпр, где τпр –время пребывания воды в песколовке, τпр= 30...100 с. Ширина песколовки (м)
где Q –расход сточной воды, мУс; п –число секций в песколовке.
Отстойники используют для очистки сточных вод от механических частиц размером более 0,1 мм, а также от частиц нефтепродуктов. В зависимости от направления движения потока сточной воды применяют горизонтальные, радиальные или комбинированные отстойники. При расчете отстойников определяют, как правило, его длину и высоту. Существуют различные методики расчета длины отстойников. На рис. 6.16 представлена расчетная схема горизонтального отстойника [6.5]. В первой зоне длиной l1 (м) имеет место неравномерное распределение скоростей по глубине отстойника
где Н–рабочая высота отстойника, м; hо=0,25 H–высота движущегося слоя сточной воды в начале отстойника, м; β = (0,018...0,02) Wx;Wx – горизонтальная составляющая скорости движения воды, м/с.
Во второй зоне длиной l2 (м) скорость потока сточной воды постоянна. В этой зоне основная часть примесей должна осесть (всплыть) в иловую часть (на поверхность) отстойника, поэтому
Рис 6.15. Схема горизонтальной
песколовки.
1 – входной патрубок; 2 – корпус песколовки; 3–шламосборник; 4–выходной патрубок
l2=(H-h1)Wx(Wo-0,5Wx),
где h1 – максимально возможная высота подъема частицы в первой зоне, м. В третьей зоне длиной l3 (м) скорость потока увеличивается и условия осаждения частиц ухудшаются
l3=H/tgα,
где α –угол сужения потока воды в выходной части отстойника; α =25…30˚.
Для расчета общей длины отстойника l=l1+l2+l3 задают расход сточной воды и размеры поперечного сечения отстойника.
Очистку сточных вод в поле действия центробежных сил осуществляют в открытых или напорных гидроциклонах и центрифугах. Открытые гидроциклоны применяют для выделения из сточной воды крупных твердых примесей со скоростью осаждения более 0,02 м/с. Такие гидроциклоны имеют большую производительность и малые потери напора, не превышающие 0,5 м. Эффективность очистки сточных вод от твердых частиц в гидроциклонах зависит от состава примесей (материала, размера, формы частиц и др), а также от конструктивных и геометрических характеристик гидроциклона
Открытый гидроциклон (рис. 6.17) состоит из входного патрубка 1, кольцевого водослива 2, патрубка 3для отвода очищенной воды и шламоотводящей трубы 4. Существуют открытые гидроциклоны с нижним отводом очищенной воды, а также гидроциклоны с внутренней цилиндрической перегородкой.
Производительность (м3/с) открытого гидроциклона Q= 0,785qD2, где q – удельный расход воды; для гидроциклона с внутренней цилиндрической перегородкой q=7,15wo (wo–скорость свободного осаждения частиц в воде, м/с); D – диаметр цилиндрической части гидроциклона, м.
Для проектирования открытых гидроциклонов рекомендуются следующие его геометрические характеристики: D = 2...10 м; H= D; d= 0,ID при одном отверстии и d= 0,0707D при двух входных отверстиях; α = 60°.
Конструктивная схема напорного гидроциклона аналогична схеме циклона для очистки газов от твердых частиц. Производительность напорного гидроциклона
Рис. 6.16. Расчетная схема горизонтального отстойника.
Рис . 6.17. Схема открытого гидроциклона
где К – коэффициент, зависящий от условий входа воды в гидроциклон; для гидроциклонов с D)=0,125...0,6 м и α =30° K=0,524; ∆р– перепад давлений воды в гидроциклоне, Па; p – плотность очищаемой сточной воды, кг/м .
На рис. 6.18 представлена схема напорного гидроциклона, обеспечивающего очистку сточной воды и от твердых частиц, и от маслопродуктов. Сточная вода через установленный тангенциально по отношению к корпусу гидроциклона входной трубопровод 1 поступает в гидроциклон. Вследствие закручивания потока сточной воды твердые частицы отбрасываются к стенкам гидроциклона и стекают в шламосборник 7, откуда они периодически удаляются. Сточная вода с содержащимися в ней маслопродуктами движется вверх. При этом вследствие меньшей плотности маслопродуктов они концентрируются в ядре закрученного потока, который поступает в приемную камеру 3, и через трубопровод 5 маслопродукты выводятся из гидроциклона для последующей утилизации. Сточная вода, очищенная от твердых частиц и маслопродуктов, скапливается в камере 2, откуда через трубопровод 6 отводится для дальнейшей очистки. Трубопровод 4 с регулируемым проходным сечением предназначен для выпуска воздуха, концентрирующегося в ядре закрученного потока очищаемой сточной воды.
Рис. 6.18. Схема комбинированного гидроциклона
Такие гидроциклоны используют для очистки сточных вод прокатных цехов с концентрацией твердых частиц и маслопродуктов соответственно 0,13...0,16 и 0,01...0,015 кг/м3 и эффективностью их очистки около 0,7 и 0,5. При расходе очищаемой сточной воды 5 м3/ч перепад давлений в гидроциклоне составляет 0,1 МПа.
Фильтрование применяют для очистки сточных вод от тонкодисперсных примесей с малой их концентрацией.
Рис . 6.19. Схема зернистого фильтра
Его используют как на начальной стадии очистки сточных вод, так и после некоторых методов физико-химической или биологической очистки. Для очистки сточных вод фильтрованием применяют в основном два типа фильтров: зернистые, в которых очищаемую сточную воду пропускают через насадки несвязанных пористых материалов, и микрофильтры, фильтроэлементы которых изготовляют из связанных пористых материалов (сеток, натуральных и синтетических тканей, спеченных металлических порошков и т. п.).
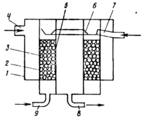
Для очистки больших расходов сточных вод от мелкодисперсных твердых примесей применяют зернистые фильтры (рис. 6.19). Сточная вода по трубопроводу 4 поступает в корпус 1 фильтра и проходит через фильтровальную загрузку 3 из частиц мраморной крошки, шунгизита и т. п., расположенную между пористыми перегородками 2 и 5. Очищенная от твердых частиц сточная вода скапливается в объеме, ограниченном пористой перегородкой 5, и выводится из фильтра через трубопровод 8. По мере осаждения твердых частиц в фильтровальном материале перепад давлений на фильтре увеличивается и при достижении предельного значения перекрывается входной трубопровод 4и по трубопроводу 9 подается сжатый воздух. Он вытесняет из фильтровального слоя 3 воду и твердые частицы в желоб 6, которые затем по трубопроводу 7 выводятся из фильтра. Достоинством конструкции фильтра является развитая поверхность фильтрования, а также простота конструкции и высокая эффективность.
В настоящее время для очистки сточных вод от маслопродуктов широко используют фильтры с фильтровальным материалом из частиц пенополиуретана. Пенополиуретановые частицы, обладая большой маслопоглощающей способностью, обеспечивают эффективность очистки до 0,97...0,99 при скорости фильтрования до 0,01 м/с. При этом насадка из пенополиуретана легко регенерируется при механическом выжимании маслопродуктов.
На рис. 6.20 представлена схема фильтра-сепаратора с фильтровальной загрузкой из частиц пенополиуретана, предназначенного для очистки сточных вод от маслопродуктов и твердых частиц. Сточную воду по трубопроводу 5 подают на нижнюю опорную решетку 4. Затем вода проходит через фильтровальную загрузку в роторе 2, верхнюю решетку 4 и очищенная от примесей переливается в приемный кольцевой карман 6 и выводится из корпуса 1. При концентрации маслопродуктов и твердых частиц до 0,1 кг/м3 эффективность очистки составляет соответственно 0,92 и 0,9; а время непрерывной эксплуатации фильтра 16...24 ч. Достоинствами данной конструкции являются простота и большая эффективность регенерации фильтра. При включении электродвигателя 7 вращается ротор 2 с фильтровальной загрузкой. В результате частицы пенополиуретана под действием центробежных сил отбрасываются к внутренним стенкам ротора, выжимая из него маслопродукты, которые поступают в карманы 3 и направляются на регенерацию. Время полной регенерации фильтра 0,1 ч.
Рис. 6.20. Схема фильтра-сепаратора
Физико-химические методы очистки. Данные методы используют для очистки от растворенных примесей, а в некоторых случаях и от взвешенных веществ. Многие методы физико-химической очистки требуют предварительного глубокого выделения из сточной воды взвешенных веществ, для чего широко используют процесс коагуляции.
В настоящее время в связи с использованием оборотных систем водоснабжения существенно увеличивается применение физико-химических методов очистки сточных вод, основными из которых являются флотация, экстракция, нейтрализация, сорбция, ионообменная и электрохимическая очистка, гиперфильтрация, эвапорация, выпаривание, испарение и кристаллизация.
Флотация предназначена для интенсификации процесса всплывания маслопродуктов при обволакивании их частиц пузырьками газа, подаваемого в сточную воду. В основе этого процесса имеет место молекулярное слипание частиц масла и пузырьков тонкодиспергированного в воде газа. Образование агрегатов «частица – пузырьки газа» зависит от интенсивности их столкновения друг с другом, химического взаимодействия содержащихся в воде веществ, избыточного давления газа в сточной воде и т. п.















