Примеры решения задач по споротивлению материалов (1092641), страница 4
Текст из файла (страница 4)
,
где N - предаваемая валом мощность, Вт,
– угловая скорость вращения вала, рад/с.
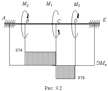
| Вычисляем момент на первом шкиве | М 1 = 40·10 3 / 20,94 = 1947,2 Нм. |
Моменты на втором и третьем шкивах будут одинаковыми и равны половине момента первого шкива
973,6 Нм.
|
| 2. Построение эпюры крутящих моментов. Так как подшипники вала крутящий момент не воспринимают, то на участках АВ и D К крутящий момент равен нулю. Участок А В : М к 1 = 0. Участок ВС : Участок С D : Участок А В : По полученным значениям построим эпю py M к (рис.9.2.) |
3. Определение окружных усилий. Моменты на шкивах можно записать как разность окружных усилий, умноженную на радиус шкива, т.е. М = ( Т - t )· D /2.
4. Рассчитываем усилия на вал от окружных усилий
,
,
и
:
|
|
|
5. Усилия Р 1 и Р 2 спроектируем на координатные оси х и у (см. рис.9.1):
|
| Р 1 х и Р 2 х действуют в горизонтальной плоскости и имеют противоположные направления.
Р 1 у и Р 2 у действуют в вертикальной плоскости и имеют одинаковые направления. |
6. Построение эпюр изгибающих моментов от горизонтальных и от вертикальных сил.
а) Изгиб вала от горизонтальных сил (подшипники вала принимаются за шарнирные опоры).
Определение опорных реакций:
Н.
Проверяем правильность найденных реакций:
.
|
| Для построения эпюры М гор рассмотрим каждый участок вала в отдельности (рис. 9.3). Участок АВ
Участок ВС
|
| Участок KD
| Участок DC
|
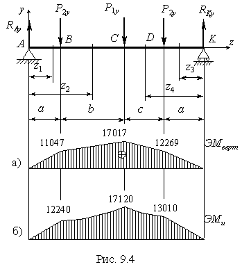
б) Изгиб вала от вертикальных сил (рис.9.4).
Определяем опорные реакции:
,
Н;
,
Н.
Проверяем полученные результаты
.
Следовательно, реакции опор определены правильно.
Построение эпюры М верт.
| Участок АВ
| Участок ВС
|
| Участок KD
| Участок DC
|
По вычисленным значениям строим эпюру М и (рис. 9.4б).
8. Определение опасного сечения и величины максимального расчетного момента по третьей теории прочности.
Из эпюр М к и М и видно, что опасное сечение будет в точке С , где
Нм,
Нм.
Нм.
9. Условие прочности вала по третьей теории прочности определяется по формуле
,
где W x - осевой момент сопротивления сечения. Для круга
.
Принимаем d = 135 мм.
Литература: 1, §4.9.
Задача 12. УСТОЙЧИВОСТЬ
Стальной стержень длиной l = 2,3 м сжимается силой Р = 300 кН. Условия закрепления стержня и форма его перечного сечения показаны на рис.(12.1).
|
| Требуется найти: 1) размеры поперечного сечения стержня 2) величину критической силы и коэффициент запаса устойчивости при допускаемом напряжении на сжатие Решение. Определим основные геометрические характеристики сечения стержня. Главные моменты инерции сечения |
Площадь сечения
Минимальный радиус инерции
Расчет производим последовательными приближениями, предварительно задавшись значением коэффициента уменьшения основного допускаемого напряжения
. Сечение будем считать подобранным удовлетворительно, если действующее в стержне напряжение ? и допускаемое напряжение на устойчивость
отличаются не более чем на 5%.
В первом приближении задаемся
. Тогда из условия устойчивости
находим:
Отсюда
м,
где
– коэффициент приведения длины, величина которого зависит от способа закрепления стержня. Для стержня, защемленного с одного конца
= 2.
Тогда
.
По значению
из таблицы для коэффициентов
найдем соответствующее значение
:
при
= 190
= 0,21,
при
= 200
= 0,19.
Используя процедуру линейной интерполяции, получаем:
Так как
значительно отличается от
1, то повторим расчет с другим значением
.
В качестве второго приближения возьмем
.
Из таблицы для коэффициента j подбираем:
.
В третьем приближении принимаем
В третьем приближении принимаем
,
м 2 ,
м,
м,
.
.
Критическая нагрузка может быть вычислена:
при
- по формуле Эйлера:
,
Для малоуглеродистых сталей предельная гибкость
= 100,
а = 310 МПа, b =1.14 МПа,
МПа.
В нашем случае
= 153,3 > 100. Следовательно, критическая сила равна
кН.
Коэффициент запаса устойчивости равен:
.
В заключение следует отметить, что в большинстве случаев для достижения удовлетворительного результата достаточно двух-трех приближений. В тех случаях, когда в первом приближении получается слишком большая гибкость (
> 200), можно порекомендовать в качестве начального приближения принять
= 0,1...0,2, либо воспользоваться приближенной формулой для вычисления
:
, где
.
В частности, для малоуглеродистых сталей
.
Литература: 1, гл.13; 2, гл.14.
Задача 15. СТАТИЧЕСКИ НЕОПРЕДЕЛИМАЯ РАМА
Для изображенной на рис.15.1 нагруженной в своей плоскости рамы, вертикальные элементы которой имеют моменты инерции J , а горизонтальные элементы – к J ;
|
| Исходные данные: k = 1,5; l = 6 м, h = 3 м, q = 10 кН/м. Требуется: 1) установить степень статической неопределимости и выбрать основную систему; 2) написать канонические уравнения; 3) построить эпюры изгибающего момента от единичных сил и от заданной нагрузки; 4) найти коэффициенты канонических уравнений; 5) найти величины «лишних» неизвестных Х ; 6) выполнить деформационную проверку правильности определения неизвестных; 7) построить эпюры внутренних силовых факторов N , Q y , M x . |
Решение.
1. Степень статической неопределимости системы определяется равенством s = n – 3, где 3 – число независимых уравнений статики, которые можно составить для плоской системы сил; n – число связей, наложенных на раму. В нашем случае s = 4 – 3 = 1.
Для раскрытия статической неопределимости используем метод сил. Так называемую основную систему, получаемую из заданной статически неопределимой путем отбрасывания «лишних» связей, удобно выбрать, отбросив опору А (рис.15.2). Вариантов выбора основной системы может быть несколько. Следует остановиться на таком, при котором эпюры изгибающих моментов от заданных и единичных нагрузок будут наиболее простыми. Кроме того, основная система должна быть геометрически неизменяемой. Нельзя, например, отбрасывать ни горизонтальную, ни вертикальную связи в точке С .
Н;
















