Примеры решения задач по споротивлению материалов (1092641), страница 2
Текст из файла (страница 2)
Решение.
При выполнении этой задачи необходимо руководствоваться следующим правилом знаков для нормальных и касательных напряжений: нормальное напряжение положительно, если оно направлено по внешней нормали к плоскости сечения, то есть оно является растягивающим, а сжимающее - отрицательно. Касательное напряжение по боковой грани призмы положительно, если изображающий его вектор до совмещения с внешней нормалью следует повернуть против часовой стрелки.
Расставим знаки напряжений на рис. (3.1).
Получим:
х = -90 МПа,
у = -80 M П a ,
х y = 50 МПа,
yх =-50 МПа
1. Найдем главные напряжения
Направление главных площадок относительно заданных площадок, определяется по формуле:
|
|
|
2. Найдем максимальные касательные напряжения. Они равны наибольшей полуразности главных напряжений:
3. Найдем главные деформации
1 ,
2 и
3 из обобщенного закона Гука, приняв коэффициент Пуассона равным V= 0,5:
|
|
|
|
|
|
4. Найдем эквивалентное напряжение
5. Найдем относительное изменение объема:
6. Найдем удельную потенциальную энергию деформации:
В данной задаче
.
Литература: 1; §1.3-§9.3
Задача 4. КРУЧЕНИЕ
К стальному валу приложены скручивающие моменты: М 1 , M 2 , M 3 , M 4 (рис. 4.1).
Исходные данные: М 1 = М 3 = 2 кНм, М 2 = М 4 = 1,6 кНм, а = b = с = 1,2 м, [
] = 80 МПа,[
]=0,3.
Решение.
1. Построить эпюру крутящих моментов.
Крутящие моменты, возникающие в поперечных сечениях брусьев, определяются с помощью метода сечений. Крутящие моменты в произвольных поперечных сечениях бруса численно равны алгебраической сумме внешних скручивающих моментов, приложенных к брусу по одну сторону от рассматриваемого сечения.
Рассекая последовательно участки вала, получим:
По значениям этих моментов строим эпюру М к в выбранном масштабе. Положительные значения М к откладываем вверх, отрицательные - вниз от нулевой линии эпюры (рис.4.2).
3. Построим эпюру углов закручивания вала.
Угол закручивания участка вала длиной l постоянного поперечного сечения определяется по формуле
Модуль сдвига для стали
|
| J p - полярный момент инерции круглого вала |
Вычислим углы закручивания сечений В , С , D и К относительно закрепленного конца вала (сечения А )
Строим эпюру углов закручивания (рис.4.2).
4. Найдем наибольший относительный угол закручивания
рад/м.
Литература: 1; §1.6-§4.6
Задача 5. ГЕОМЕТРИЧЕСКИЕ ХАРАКТЕРИСТИКИ ПЛОСКИХ СЕЧЕНИЙ
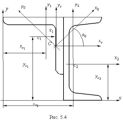
Для составного сечения, состоящего из швеллера №20 и уголка №14(10) (рис.5.1).
|
| Требуется 1) определить положение центра тяжести; 2) найти величины осевых и центробежных моментов инерции относительно центральных осей; 3) определить направления главных центральных осей; 4) найти величины моментов инерции относительно главных нейтральных осей; 5) вычертить сечение в масштабе 1:2 и указать на нем все размеры в числах и все оси. |
Решение.
Из сортамента прокатной стали (см. приложения [6]) выпишем необходимые для решения исходные данные:
Швеллер №20
1. Определим положение центра тяжести составного сечения. Для этого следует начертить профиль составного сечения в масштабе 1:2, провести координатные оси каждого профиля (рис.5.4).
|
| Введем координатную систему х - у так, чтобы всё сечение оказалось в первой четверти. Координаты центра тяжести определим по формулам где S х , S у - статические моменты сечения относительно осей х и у . |
|
|
|
По координатам х с и у с найдем положение центра тяжести сечения. Через точку С проведем центральные оси х с и у с .
2. Вычислим величины осевых и центробежных моментов сечения относительно центральных осей х с , у с :
|
|
|
|
где
3. Определим направление главных центральных осей.
Главные оси х 0 - у 0 проходят через центр тяжести т. С и повернуты относительно центральных осей на угол
0 , определяемый из формулы:
Так как
, то оси х 0 , у 0 получаются поворотом от осей х с , у с против хода часовой стрелки.
4. Найдем главные моменты инерции сечения
При правильно выполненных вычислениях должно выполняться равенство
Литература; 1; §1.5-§9.5
Задача 6. ПЛОСКИЙ ИЗГИБ
Для заданных двух схем балок (рис.6.1) требуется написать выражения Q у , М х для каждого участка в общем виде, построить эпюры Q у , М х , найти
и подобрать:
| для схемы а : деревянную балку круглого поперечного сечения при для схемы б : стальную балку двутаврового поперечного сечения при Исходные данные: М = 20 кНм, Р = 20 кН, q = 8 кН/м. Решение. Приступая к решению следует определить длины а 1 , а 2 , а 3 и вычертить в масштабе схемы задач |
Схема а.
l1=12, м = 10 а , а = l 1 /10 = 1,2 м, а 1 = 2 а = 2,4 м, а 2 = 8 а = 9,6 м.
|
| 1. Для определения внутренних усилий Q у , М х используем метод сечений. Определим количество участков: граничными точками участков являются точки приложения сосредоточенных сил и моментов, а также точки начала и конца распределенной нагрузки. В данной задаче консольная балка имеет два участка. Рассечем последовательно со свободного конца каждый из них. Отбрасывая часть балки, включаюшую защемление, заменим отброшенную часть внутренними силами. Запишем уравнения равновесия для отсеченной части, определим внутренние силовые факторы в сечении. Запишем выражения для внутренних силовых факторов. Поперечная сила равна алгебраической сумме проекций на поперечную ось (ось у ) сил, приложенных к отсеченной части. Изгибавший момент равен алгебраической сумме моментов, возникающих на отсеченной части относительно оси х в сечении. Вычислим значения Q y и M x в граничных точках участков и построим эпюры (рис.6.2). |
м 4 .
рад
,
см,
см
.
















