Лаба_М-6 (1087251)
Текст из файла
ФЕДЕРАЛЬНОЕ АГЕНТСТВО ПО ОБРАЗОВАНИЮ
МОСКОВСКИЙ ГОСУДАРСТВЕННЫЙ ИНСТИТУТ РАДИОТЕХНИКИ, ЭЛЕКТРОНИКИ И АВТОМАТИКИ
(ТЕХНИЧЕСКИЙ УНИВЕРСИТЕТ)
Лабораторная работа № М-6
Исследование КМОП инвертора
работу выполнил
группа
проверила: Руднева Н.К.
Москва 2011
Цель работы: Ознакомление с принципом действия КМОП-инвертора и снятие его основных характеристик.
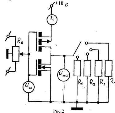
Схема КМОП инвертора
Схема для исследования КМОП-инвертора.
Зависимость Uвых = f(Uвх) при E = 10В, R = ∞
| Uвх (В) | 0,4 | 0 | -0,5 | -1 | -1,5 | -2 | -3 |
| Uвых (В) | 0 | 1,6 | 4,8 | 7,8 | 8,9 | 9,3 | 9,3 |
Зависимость Ic = f(Uвх) при R = ∞
| Ic (мА) | 0 | 0,4 | 1,6 | 3,5 | 4,3 | 4,4 | 4,0 | 3,5 | 3,0 | 2,6 | 2,2 | 1,8 | 1,4 | 1,2 | 0,9 | 0,7 | 0,4 | 0,2 | 0,1 | 0 |
| Uвх (В) | -2 | -0,5 | -1 | -0,5 | 0 | 0,1 | 0,5 | 1 | 1,5 | 2,0 | 2,5 | 3 | 3,5 | 4 | 4,5 | 5 | 5,5 | 6 | 6,5 | 7 |
Зависимость Uвых = f(Rн).
| R Uвх (В) | 500 (Ом) | 1 (кОм) | 5 (кОм) | 10 (кОм) | ∞ |
| -5 | 3,6 В | 5,5 В | 8,2 В | 8,8 В | 9,3 В |
| -7 | 4,4 В | 6,1 В | 8,3 В | 9,0 В | 9,3 В |
| -10 | 5,2 В | 6,5 В | 8,6 В | 8,9 В | 9,3 В |
Характеристики
Тип файла документ
Документы такого типа открываются такими программами, как Microsoft Office Word на компьютерах Windows, Apple Pages на компьютерах Mac, Open Office - бесплатная альтернатива на различных платформах, в том числе Linux. Наиболее простым и современным решением будут Google документы, так как открываются онлайн без скачивания прямо в браузере на любой платформе. Существуют российские качественные аналоги, например от Яндекса.
Будьте внимательны на мобильных устройствах, так как там используются упрощённый функционал даже в официальном приложении от Microsoft, поэтому для просмотра скачивайте PDF-версию. А если нужно редактировать файл, то используйте оригинальный файл.
Файлы такого типа обычно разбиты на страницы, а текст может быть форматированным (жирный, курсив, выбор шрифта, таблицы и т.п.), а также в него можно добавлять изображения. Формат идеально подходит для рефератов, докладов и РПЗ курсовых проектов, которые необходимо распечатать. Кстати перед печатью также сохраняйте файл в PDF, так как принтер может начудить со шрифтами.
















