ЦУиМП Лек2 5курс (1086960)
Текст из файла
"Применение специализированного микропроцессора TMS32010 при проектировании средств телекоммуникаций и защиты информации"
Учебное пособие. КАФЕДРА РТУС МИРЭА
ВВЕДЕНИЕ
В конце 70-х годов появились первые специализированные процессоры, предназначенные для выполнения алгоритмов цифровой обработки сигналов (ЦОС) в реальном масштабе времени. Часто в литературе такие микропроцессоры называются сигнальными микропроцессорами (СМП) или цифровыми процессорами обработки сигналов (ЦПОС). Появление СМП было обусловлено несколькими причинами. Развитие теории ЦОС привело к появлению различных алгоритмов, которые могли практически использоваться во многих областях техники. Среди них можно отметить алгоритмы нерекурсивной и рекурсивной фильтрации, быстрое преобразование Фурье (БПФ) и другие. Первоначально внедрение этих методов основывалось на использовании интегральных микросхем малой и средней степени интеграции. При этом был достигнут качественный скачок по отношению к аппаратуре с аналоговой обработкой. Достоинства ЦОС позволили добиться высокой точности обработки сигналов, стабильности и повторяемости характеристик, высокой надежности аппаратуры. Однако использование ИМС не позволило снизить массогабаритные показатели аппаратуры, поэтому возникла необходимость реализовать данные методы на более современной элементной базе.
Другим важным моментом предшествовавшим появлению СМП явилось развитие технологии изготовления микросхем. Именно появление микронных и субмикронных технологий позволило создать СМП с несколькими десятками тысяч транзисторов на кристалле, потреблением мощности порядка одного ватта и быстродействием более 5-и миллионов операций в секунду.
Эти тенденции развития науки и техники стимулировались постоянно возраставшими потребностями практики. В свою очередь практика все время ориентировалась на достижения науки и техники. Такой взаимный процесс в конце концов и привел к появлению СМП. Уже первые СМП показали их значительные преимущества для реализации алгоритмов ЦОС перед ИМС средней и малой степени интеграции и универсальными микропроцессорами. Поэтому, в 80-е годы процесс улучшения характеристик СМП проходил очень быстрыми темпами. В настоящее время за рубежом выпускается несколько десятков различных СМП, находящих широкое применение в различных областях техники. Можно предположить, что в ближайшем будущем СМП станут одной их основных элементных баз разработчиков новой техники и, в частности, средств связи.
Данное учебное пособие посвящено описанию СМП TMS32010 и основам его программирования.
1. ОБЛАСТИ ПРИМЕНЕНИЯ И СПЕЦИФИКА СИГНАЛЬНЫХ МИКРОПРОЦЕССОРОВ
Алгоритмы ЦОС используются для выполнения таких операций, как фильтрация, формирование сигналов, выделение сигналов на фоне помех, распознавание образов и многих других. Ранее эти задачи в основном решались с помощью аналоговой обработки, но данные методы имеют множество недостатков, а именно: невысокую точность преобразований, нестабильность характеристик, низкую надежность, и другие.
Микропроцессорные системы Лекции 2001 г.
Микропроцессоры и микроконтроллеры
Как известно, процессор является основным вычислительным блоком компьютера, в наибольшей степени определяющим его мощь. Процессор является устройством, исполняющим программу - последовательность команд (инструкций), задуманную программистом и оформленную в виде модуля программного кода. Чтобы понять, что делает
процессор, рассмотрим его в окружении системных компонентов IBM PC-совместимого компьютера. Этой компьютерной архитектурой, естественно, не ограничивается сфера применения процессоров. Всем известный IBM PC-совместимый компьютер представляет собой реализацию так называемой фон-неймановской архитектуры вычислительных машин. Эта архитектура была представлена Джоном фон-Нейманом еще в 1945 году и имеет следующие основные признаки. Машина состоит из блока управления, арифметико-логического устройства (АЛУ), памяти и устройств ввода/вывода. В ней реализуется концепция хранимой программы: программы и данные хранятся в одной и той же памяти. Выполняемые действия определяются блоком управления и АЛУ, которые вместе являются основой центрального процессора. Центральный процессор выбирает и исполняет команды из памяти последовательно, адрес очередной команды задается "счетчиком адреса" в блоке управления. Этот принцип исполнения называется последовательной передачей управления. Данные, с которыми работает программа, могут включать переменные - именованные области памяти, в которых сохраняются значения с целью дальнейшего использования в программе. Фон-неймановская архитектура - не единственный вариант построения ЭВМ, есть и другие, которые не соответствуют указанным принципам (например, потоковые машины). Однако подавляющее большинство современных компьютеров основано именно на этих принципах, включая и сложные многопроцессорные комплексы, которые можно рассматривать как объединение фон-неймановских машин. Конечно же, за более чем полувековую историю ЭВМ классическая архитектура прошла длинный путь развития. В общем смысле под архитектурой процессора понимается его программная модель, то есть программно-видимые свойства. Под микроархитектурой понимается внутренняя реализация этой программной модели. Для одной и той же архитектуры разными фирмами и в разных поколениях применяются существенно различные микроархитектурные реализации, при этом, естественно, стремятся к максимальному повышению производительности (скорости исполнения программ). Сейчас существует множество архитектур процессоров,
страница 60
Микропроцессорные системы Лекции 2001 г.
которые делятся на две глобальные категории - RISC и CISC. RISC - Reduced (Restricted) Instruction Set Computer - процессоры (компьютеры) с сокращенной системой команд. Эти процессоры обычно имеют набор однородных регистров универсального назначения, причем их число может быть большим. Система команд отличается относительной простотой, коды инструкций имеют четкую структуру, как правило, с фиксированной длиной. В результате аппаратная реализация такой архитектуры позволяет с небольшими затратами декодировать и выполнять эти инструкции за минимальное (в пределе 1) число тактов синхронизации. Определенные преимущества дает и унификация регистров. CISC - Complete Instruction Set Computer - процессоры (компьютеры) с полным набором инструкций, к которым относится и семейство х86. Состав и назначение их регистров существенно неоднородны, широкий набор команд усложняет декодирование инструкций, на что расходуются аппаратные ресурсы. Возрастает число тактов, необходимое для выполнения инструкций. Процессоры х86 имеют самую сложную в мире систему команд. Хорошо ли это, вопрос спорный, но груз совместимости с программным обеспечением для IBM PC, имеющим уже 20-летнюю историю, не позволяет расставаться с этим "наследием тяжелого прошлого". В процессорах семейства х86, начиная с 486, применяется комбинированная архитектура - CISC-процессор имеет RISC-ядро. Различают следующие способы организации вычислительного процесса:
-
один поток команд - один поток данных (Simple Instruction - Simple Data, SISD) -
характерно для традиционной фон-неймановской архитектуры (иногда вместо
Simple пишут Single); -
один поток команд - множественный поток данных (Simple Instruction - Multiple
Data, SIMD) - технология ММХ; -
множественный поток команд - один поток данных (Multiple Instruction - Simple
Data, MISD); -
множественный поток команд - множественный поток данных (Multiple
Instruction - Multiple Data, MIMD).
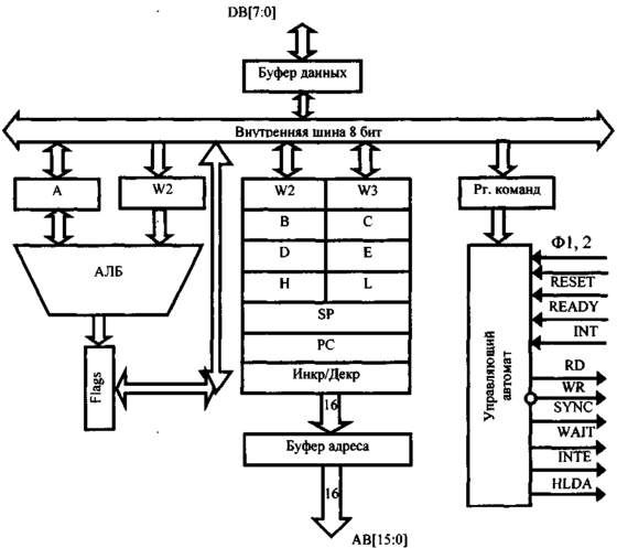
8-разрядный микропроцессор i8080
На Рис. 9.1 представлена внутренняя структура МП i8080, включающего в себя 8-разрядное АЛУ с буферным регистром и схемой десятичной коррекции, блок
страница 61
Микропроцессорные системы
Лекции 2001 г.
РОН, регистры указателя стека SP и счетчика команд PC, первичный управляющий автомат УА, буферные схемы шин адреса и данных и схему управления системой.
Рис. 9.1. Внутренняя структура МП i8080
Внешний интерфейс представлен 8-разрядной двунаправленной шиной данных D[7:0], 16-разрядной шиной адреса А[15:0] и группой линий управления.
Назначение входных и выходных линий МП :
D[7:0] - двунаправленная шина данных служит для приема и выдачи данных, приема команды, приема вектора прерывания, выдачи дополнительной управляющей информации (слово PSW);
А[15:0] - однонаправленная шина адреса служит для выдачи адреса памяти и устройств ввода/вывода;
Ф1,Ф2 - сигналы тактового генератора частотой 1..2,5 МГц;
RESET - сброс (начальная установка и запуск программы с адреса 0000);
READY - входной сигнал готовности памяти или ВУ к обмену (обеспечивает асинхронный режим обмена);
INT - запрос внешнего прерывания;
HOLD - захват шины (требование прямого доступа в память со стороны ВУ);
WR - запись - выходной сигнал, определяющий направление передачи информации по шине данных от процессора к памяти или ВУ;
RD - чтение - выходной сигнал, определяющий направление передачи информации по шине данных от памяти или ВУ к процессору;
страница 62
Микропроцессорные системы Лекции 2001 г.
SYNC - выходной сигнал, идентифицирующий наличие на шине данных дополнительной управляющей информации (PSW);
WAIT - выходной сигнал, отмечающий состояние ожидания или останова МП;
INTE - выходной сигнал, подтверждающий режим внешних прерываний;
HLDA - выходной сигнал, подтверждающий режим прямого доступа в память (подтверждение захвата).
Командный цикл микропроцессора
МП работает в составе МПС, обмениваясь информацией с памятью и ВУ. В основе работы МП лежит командный цикл - действия по выбору из памяти и выполнению одной команды. В зависимости от типа и формата команды, способов адресации и числа операндов командный цикл может включать в себя различное число обращений к памяти и ВУ и следовательно - иметь различную длительность.
Любой командный цикл (КЦ) начинается с извлечения из памяти первого байта команды по адресу, хранящемуся в PC, что команды i8080 имеют длину 1, 2 или 3 байта, причем в первом байте содержится информация о длине команды. В случае 2- или 3-байтовой команды реализуются дополнительные обращения к памяти по соседним (большим) адресам.
После считывания команды начинается ее выполнение, причем в процессе выполнения может потребоваться еще одно или несколько обращений к памяти или ВУ (чтение операнда, запись результата).
Для реализации команды i8080 может потребоваться от 1 до 5 обращений к памяти (ВУ). Хотя обращения к ЗУ/ВУ располагаются в разных частях КЦ, выполняются они по единым правилам, соответствующим интерфейсу МПС и реализованы на общем оборудовании управляющего автомата. Действия МПС по передаче в/из МП одного байта данных/команды называются машинным циклом.
Машинные циклы и их идентификация
Командный цикл представляет собой последовательность машинных циклов (МЦ), причем КЦ i8080 может содержать от 1 до 5 МЦ, которые принято обозначать Ml, M2,..M5.
МЦ обязательно включает в себя действия по передаче байта информации. Кроме того, в некоторых МЦ дополнительно реализуются действия по пересылке и/или преобразованию информации внутри МП. Поэтому длительность МЦ может быть различной - за счет различного числа содержащихся в них машинных тактов (Tl, T2,...).
Машинный такт (такт) образует пара сигналов тактового генератора Ф1, Ф2, поэтому длительность такта постоянна - период тактового генератора (за исключением такта Tw - см. ниже).
Таким образом, просматривается иерархия процедур при работе микропроцессора (не только i8080):
Командный цикл —> Машинный цикл —> Машинный такт
Каждому такту соответствует определенное состояние управляющего автомата. Любой МЦ i8080 обязательно содержит такты T1, T2, Т3, предназначенные для передачи байта по интерфейсу. МЦ, в которых осуществляется передача и/или преобразование информации в МП, содержат дополнительно один или два такта Т4,T5. МП i8080 вырабатывает несколько типов МЦ, основными из которых являются циклы ПРИЕМ и ВЫДАЧА
МЦ микропроцессора i8080 предусматривает возможность обмена как в синхронном, так и в асинхронном режиме. Если в составе МПС использованы только "быстрые"
страница 63
Микропроцессорные системы
Лекции 2001 г.
устройства, т.е. такие, которые могут работать с тактовой частотой МП, то передача информации в МЦ осуществляется в синхронном режиме. В этом случае на вход READY МП подается константа " 1" и после такта Т2 начинается такт Тз. При работе с "медленными" устройствами, быстродействие которых не позволяет переключаться с частотой тактового генератора МП, необходимо "растянуть" во времени МЦ, реализовав асинхронный принцип обмена. Для этого в начале МЦ обмена с "медленными" устройствами на входе READY формируется уровень логического нуля. В такте Т2 МП анализирует состояние READY, и если READY = 0, то МП после Т2 переходит не к Т3, а к такту ожидания Tw, который может длиться произвольное число периодов тактового генератора. Переход к Тз осуществляется по фазе Ф1, если в предыдущей Ф2 READY установился в "1". С помощью входа READY можно не только согласовывать работу МП с устройствами различного быстродействия, но и реализовывать пошаговый и потактовый режимы работы МП.
Рис.9.2. Временная диаграмма МЦ "ПРИЕМ "
Характеристики
Тип файла документ
Документы такого типа открываются такими программами, как Microsoft Office Word на компьютерах Windows, Apple Pages на компьютерах Mac, Open Office - бесплатная альтернатива на различных платформах, в том числе Linux. Наиболее простым и современным решением будут Google документы, так как открываются онлайн без скачивания прямо в браузере на любой платформе. Существуют российские качественные аналоги, например от Яндекса.
Будьте внимательны на мобильных устройствах, так как там используются упрощённый функционал даже в официальном приложении от Microsoft, поэтому для просмотра скачивайте PDF-версию. А если нужно редактировать файл, то используйте оригинальный файл.
Файлы такого типа обычно разбиты на страницы, а текст может быть форматированным (жирный, курсив, выбор шрифта, таблицы и т.п.), а также в него можно добавлять изображения. Формат идеально подходит для рефератов, докладов и РПЗ курсовых проектов, которые необходимо распечатать. Кстати перед печатью также сохраняйте файл в PDF, так как принтер может начудить со шрифтами.
















