ЦУиМП Лек2 5курс (1086960), страница 7
Текст из файла (страница 7)
5
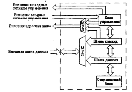
Рисунок 2 1 Упрощенная структурная схем» микропроцессоре
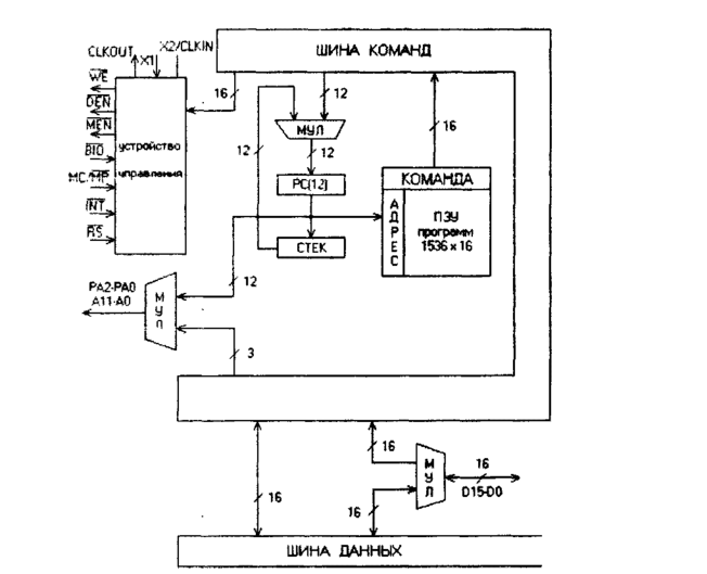
•TMS32010. Счетчик команд. Представляет собой 12-и разрядный автоинкрементный счетчик с
возможностью параллельной загрузки либо из верхнего уровня стека, либо с 12-ти младших разрядов шины команд. Основное назначение счетчика команд заключается в хранении адреса команды, который поступает либо на адресные входы внутреннего ПЗУ, либо через внешнюю адресную шину на адресные входы внешнего ПЗУ программ. Автоинкрементация счетчика команд используется при выполнении линейных программ, т.е. когда последовательно выполняемые команды расположены в последовательных ячейках ПЗУ команд. Загрузка счетчика команд с младших разрядов шины команд осуществляется при выполнении условных и безусловных переходов.
6
Рисунок, 2 2 Структурная схема бясжв управления Т$МЗШ! О,
В этом случае адрес куда происходит переход, указывается в самой команде и при наличии определенных условиях он может переписываться в счетчик команд. Из стека счетчик команд загружается при возврате из подпрограмм. Поскольку при вызове подпрограммы адрес точки возврата (адрес следующей после вызова подпрограммы команды) записывается в стек, то по окончанию выполнения подпрограммы содержимое верхнего уровня стека должно быть передано в программный счетчик. Стек В. TMS32010 реализован аппаратный 4-х уровневый стек в виде оперативной памяти с организацией 4x12, типа "последний пришел - первый вышел". Запись осуществляется в верхний уровень стека из программного счетчика. Предыдущее значение верхнего уровня стека записывается во второй уровень и т.д. Содержимое последнего (4-го) уровня при записи в стек теряется. При чтении из стека содержимое верхнего уровня переписывается в программный счетчик, а на его место записывается содержимое второго уровня и т.д. Содержимое нижнего 4-го уровня стека копируется в третий уровень, а также сохраняется в четвертом уровне. Основное назначение стека заключается в хранении точек возврата (адресов возврата) команд, которые будут выполняться после подпрограмм и прерываний. Т.е. допускается 4-х уровневая степень вложенности подпрограмм и прерываний для ТМ832010.Кроме того стек используется при выполнении некоторых команд ввода-вывода. Поэтому степень вложенности для подпрограмм, использующих такие команды, равна 3. В микропроцессоре TMS32010 имеется программная возможность наращивать стек отводя под него ячейки ОЗУ данных. Внутреннее ПЗУ программ. Фирмой "Texas Instruments Incorporated" были разработаны две модификации микропроцессора: TMS32010 и TMS320M10. В первой модификации отсутствует
7
внутрикристальное ПЗУ программ. Во второй модификации имеется внутреннее ПЗУ с масочным программированием объемом 1536x16.
Во внутреннее ПЗУ помещаются программы, что существенно упрощает разработку микропроцессорной системы, ее объем и энергопотребление. Использование внутренней или внешней памяти программ для модификации TMS320M10 определяется сигналом на
входе ЛЯЧМР.
Устройство управления (контроллер). Устройство управления предназначено для приема команд с внутренней шины команд, внешних сигналов, поступающих с выводов микропроцессора, дешифрирования команд с учетом значения внешних сигналов, формирования сигналов управления на все узлы микропроцессора, а также формирования внешних выходных сигналов. Контроллер - один из основных узлов микропроцессора, определяющих логику его работы. Функционирование контроллера скрыто от программиста и программно не доступно.
Мультиплексор адресной шины. В микропроцессоре внешняя адресная шина организуется сигналами выходных контактов микропроцессора с А11 по АО. Для считывания команды из внешнего ПЗУ содержимое программного счетчика через мультиплексор адресной шины поступает на эти разряды и активизирует соответствующую ячейку ПЗУ программ. Другое назначение внешней адресной шины заключается в том, что на нее подаются сигналы (двоичные комбинации), определяющие номер внешнего порта, с которым взаимодействует микропроцессор. В TMS32010 внешних портов может быть 16 (8 ввода и 8 вывода), номер порта задается значениями внешних разрядов РА2-РАО. Эти разряды совмещены с младшими разрядами адресной шины А2-АО.
Что находится на адресной шине - адрес ячейки ПЗУ программ или номер внешнего порта, определяется внешними сигналами, вырабатываемыми контроллером (сигналы сопровождения). При написании программы номер порта помещается в определенные разряды команды, а мультиплексор адресной шины коммутирует на внешнюю адресную шину либо содержимое программного счетчика, либо определенные разряды внутренней шины команд, по которой передается 3-х разрядный адрес внешнего порта. Мультиплексор программного счетчика. Этот мультиплексор определяет, откуда записывается информация в программный счетчик - с шины команд (при выполнении условных и безусловных переходов, поскольку адрес перехода находится в команде), либо из верхнего уровня стека (при выполнении возврата из подпрограмм). Мультиплексор внешней шины данных. Данный мультиплексор может быть отнесен как к блоку управления, так и к операционному блоку. Его назначение заключается в коммутации внешней шестнадцатиразрядной шины данных или на внутреннюю шину команд или на внутреннюю шину данных. По внешней шине данных принимается последовательность команд из ПЗУ программ, а также данные из внешних портов и ПЗУ программ, кроме того, микропроцессор может выставлять на внешнюю шину информацию, которая записывается либо во внешнее ОЗУ, либо во внешние порты. При приеме из внешнего ПЗУ команды мультиплексор передает ее на внутреннюю шину команд. В остальных случаях внешняя шина данных соединяется с внутренней шиной данных.
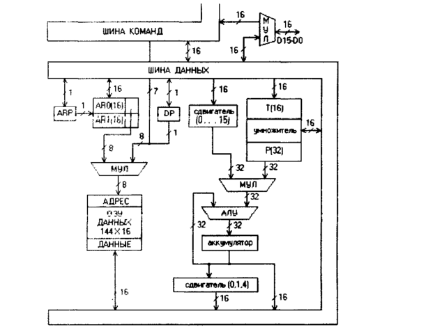
Операционный блок изображен на рис.2.3.
Внутренняя шина данных. По внутренней 16-разрядной шине данных осуществляется информационный обмен между узлами операционного блока микропроцессора. Арифметико-логическое устройство (АЛУ). В АЛУ выполняются арифметические операции - сложение, вычитание, а также логические операции - И,ИЛИ, исключающее ИЛИ. Одним из операндов в АЛУ всегда выступает содержимое 32-х разрядного аккумулятора, другим операндом может быть или результат умножения (содержимое регистра Р) или содержимое ячейки внутреннего ОЗУ данных. При выполнении логических операций содержимое младших 16-разрядов аккумулятора взаимодействует с содержимым адресуемой ячейки ОЗУ данных, старшие 16 разрядов аккумулятора
взаимодействуют с нулевым 16 разрядным словом. Полный 32-х разрядный результат вновь записывается в аккумулятор. При выполнении арифметических операций с содержимым аккумулятора взаимодействует либо содержимое адресуемой ячейки внутреннего ОЗУ данных, взятое со сдвигом от 0 до 16 разрядов влево, либо содержимое 32-х разрядного регистра Р. Кроме обычных операций сложения и вычитания в АЛУ могут выполняться операции с двойной точностью, а также условное вычитание, предназначенное для операции выполнения деления.
Аккумулятор. Аккумулятор - это многоцелевой 32-х разрядный регистр, содержимое которого выступает одним из операндов, в него записывается результат выполненной в АЛУ операции. Кроме того, возможна загрузка аккумулятора или из ОЗУ данных или константой, находящейся в команде, а также обнуление аккумулятора и запись его содержимого во внутреннее ОЗУ данных. При записи (считывании) данных в (из) внешнее ОЗУ (ПЗУ) в аккумуляторе должен находиться адрес считываемой ячейки (команды TBLR, TBLW).
Умножитель. Одним из основных отличий СМП от универсальных является наличие аппаратного умножителя. В данном микропроцессоре умножение выполняется за один командный цикл (200 не), при этом одним сомножителем обязательно является содержимое 16-и разрядного регистра Т, а вторым может быть либо 13-и разрядная константа, поступающая в умножитель с внутренней шины данных, либо содержимое адресуемой ячейки данных внутреннего ОЗУ. 32-х разрядный результат умножения помещается в выходной регистр Р. Как и другие арифметические операции, умножение выполняется над числами, представленными в дополнительном коде.
Рисунок 2 3 Струм-детей схена отрацмонного блока TMS32010,
Внутреннее ОЗУ данных. В TMS32010 имеется внутрикристальное ОЗУ данных объемом 144 16-ти разрядных слов. Обычно ОЗУ используется для хранения наиболее часто требуемых в программе данных. В универсальных микропроцессорах эти функции
8
9
выполняют регистры общего назначения. Следует отметить, что объем внутрикристального ОЗУ в СМП значительно больше и в основном это определяется спецификой алгоритмов цифровой обработки. В TMS32010 ОЗУ разбито на 2 страницы: О - страница содержит 128 16-и разрядных слов с адресами с 0-го по 127, и 1-я страница содержит 16 16-разрядных слов с адресами со 128-го по 143. Из ОЗУ информация может поступать в различные узлы операционного блока: в аккумулятор (через сдвигатель), во входной регистр умножителя Т, в активный индексный регистр, в регистр слова состояния процессора, во внешнее ОЗУ, во внешние порты вывода. В ОЗУ данных информация может поступать либо из аккумулятора (через сдвигатель), либо из активного индексного регистра, либо из слова состояния процессора, либо из внешнего ОЗУ (ПЗУ), либо из внешних портов ввода. Имеется также возможность обмениваться информацией (записывать/считывать) с верхним уровнем стека.
Индексные регистры. В микропроцессоре имеется 2 возможности адресовать ячейки памяти внутреннего ОЗУ данных. При первом способе внутристраничный адрес прямо указывается в команде, при втором способе адрес ячейки выбирается из активного индексного регистра, при этом, чтобы адресовать 144 ячейки памяти, достаточно 8-ми разрядов. Оба индексных регистра ARO и AR1 -16 разрядные многофункциональные регистры. При адресации ячеек ОЗУ используется 8 младших разрядов этих регистров. Какой из индексных регистров является в настоящий момент активным, определяется значением указателя активного индексного регистра ARP. При косвенной адресации ячеек ОЗУ имеется возможность выполнения в индексных регистрах инкрементации/декрементации. Кроме того, в системе команд TMS имеются команды анализа нулевого содержимого активного индексного регистра. Эти возможности делают удобным использование индексных регистров для организации циклических участков программ. Кроме того, поскольку в системе команд предусмотрена возможность обмена информацией между ОЗУ данных и индексными регистрами, то они могут использоваться также как и обычные ячейки памяти.
Сдвигатель на 0-16 разрядов. Поскольку в TMS аккумулятор 32-х разрядный, а ОЗУ данных имеет 16 разрядную структуру, то при записи из ОЗУ в аккумулятор или при выполнении арифметических операций данные проходят через сдвигатель. Этот сдвигатель определяет, в какую часть аккумулятора поступят данные или с какой частью аккумулятора они будут взаимодействовать. При 0-м сдвиге, данные поступают в младшие 16-ть разрядов аккумулятора (с 0-го по 15-ый), при сдвиге, равном 1, данные запишутся с 1-го по 16 разряды аккумулятора и т.д. Если сдвиг больше 0, то в младшие разряды, остающиеся свободными, записывается 0. При сдвиге не равном 0 и 16, в старших разрядах происходит копирование (размножение) знака, при нулевом сдвиге может копироваться знак или происходит заполнение нулями. При сдвиге, равном 16, старших свободных разрядов вообще не остается. Наличие такого сдвигателя очень удобно для программиста с точки зрения согласования форматов, участвующих в операции данных. Так, например, допустим в аккумуляторе находится число, младшие 7 разрядов которого являются дробными.
Пусть необходимо сложить это число с содержимым нулевой ячейки ОЗУ данных, в которой 3 младших разряда являются дробными. При выполнении сложения оба числа должны быть представлены в одинаковом формате, т.е. иметь одинаковое число дробных разрядов, поэтому, сдвигая число из 0-й ячейки на 4 разряда можно уравнять форматы складываемых чисел и правильно выполнить сложение.
Сдвигатель на 0,1,4 разряда. При записи из аккумулятора в ОЗУ данных, отдельно может записываться старшая половина и младшая половина аккумулятора. При записи старшей половины, содержимое аккумулятора может сдвигаться на 0,1,4 разряда влево. Так при сдвиге на 1 разряд влево в ОЗУ записываются с 30 по 15 разряды аккумулятора. Такой ограниченный набор сдвигов (0,1,4) несколько сужает возможности системы команд, однако в совокупности со сдвигателем на 0-16 разрядов программист может добиться
10
любого сдвига считываемой из ОЗУ информации. Назначение этого сдвигателя заключается в формировании нужного формата полученного результата. Так 0-й сдвиг сохраняет формат результата таким же, как и формат операндов при выполнении над ними арифметических операций в старшей половине аккумулятора. Сдвиг на 1 разряд сохраняет формат результата при умножении 2 чисел из ОЗУ данных, а сдвиг на 4 обычно используется для сохранения формата результата при умножении на константу. Поэтому даже столь ограниченный набор сдвигов в большинстве случаев оказывается достаточным. Более подробно использование сдвигателей для преобразования форматов операндов и результата будет рассмотрено далее.
Регистр слова состояния процессора. Этот регистр состоит из отдельных триггеров-флагов, которые находятся и в операционном блоке и в блоке управления. Все эти триггеры могут быть программно установлены за единственным исключением. Кроме того, содержимое регистра может быть записано в ячейку ОЗУ данных и загружено из ячейки ОЗУ данных. Рассмотрим триггеры слова состояния процессора отдельно. Триггер - указатель активной страницы памяти (DP). При прямой адресации в самой команде находится 7-разрядный внутристраничный адрес, а к какой странице памяти происходит обращение, определяется содержимым флага указателя активной страницы памяти. Если в DP находится 0, то активной является 0-я страница, если 1, то первая. В системе команд имеются команды установки триггера DP в произвольное состояние. Следует также отметить, что с точки зрения программиста удобнее иметь единое адресное пространство ОЗУ данных. Это связано с тем, что при страничной организации ЗУ возникают определенные сложности при одновременной обработке данных из разных страниц памяти данных. А именно, приходится выполнять команды переустановки указателя активной страницы памяти. Это приводит к удлинению самой программы и увеличению времени ее выполнения.
Триггер - указатель активного индексного регистра (ARP). При выполнении программы в любой момент времени активным может быть только один индексный регистр. Какой именно регистр в настоящий момент активен определяется значением триггера указателя активного индексного регистра. Если в триггере 0, то активен 0-й индексный регистр, если 1, то первый. Также как и триггер DP, триггер ARP является программно доступным. Кроме того значение его может быть также модифицировано при выполнении команд с косвенной адресацией.
Триггер - указатель режима фиксации переполнения (OVM). В микропроцессоре предусмотрен специальный режим работы, при котором выполнение арифметических операций в аккумуляторе не приводит к появлению переполнения. Так например, если в результате вычислений должно получится положительное число, не умещающееся в разрядной сетке аккумулятора, то в этом режиме в аккумуляторе будет принудительно установлено максимальное положительное число. Если должно получится отрицательное число, не умещающееся в разрядной сетке, то в аккумуляторе принудительно устанавливается минимальное отрицательное число. В каком режиме работает микропроцессор (с фиксацией переполнения или без фиксации) определяется значением, установленным в триггере OVM. Если в этом триггере находится 1, то установлен режим фиксации переполнения, если 0, то режим без фиксации переполнения. Этот триггер является программно доступным, т.е. его значение может быть установлено и изменено специальными командами.
















