Деулин Е.А. - Методические указания к лабораторным работам по физике вакуума (1074255), страница 2
Текст из файла (страница 2)
Рис.2 Примеры оформления второго листа проекта по курсу «Вакуумная техника»
Лист 3 содержит:
-
Главный разрез спроектированной вакуумной установки.
-
Отдельные характерные (специфические для вакуумной техники) узлы проектируемой вакуумной установки (токовводы, измерительные вводы, вводы движения, смотровые окна, клапаны, затворы, натекатели, компенсаторы) в виде разрезов этих узлов.
-
Модернизацию узлов, выполненную по заданию руководителя.
-
Оригинальные узлы, спроектированные самим студентом.
Примечание: Лист 3 может состоять из нескольких форматок (фрагментов), меньших чем формат А1
Примеры оформления третьего листа и его фрагментов показаны на рис.3,4
Рис.3 Пример оформления третьего листа проекта по курсу «Вакуумная техника»
Рис.4 Пример оформления фрагментов третьего листа проекта по курсу «Вакуумная техника»
Лист 4 содержит:
-
Сборочные чертежи типовых или стандартных деталей узлов, модернизированных с учетом специфики проектируемой вакуумной установки, выполненные по заданию руководителя
-
Сборочные чертежи оригинальных узлов, сконструированных самим студентом
-
Деталировку стандартных или оригинальных узлов, самостоятельно выполненную студентом
Примечание: Лист 4 должен состоять из форматок (фрагментов), соответствующих размерам изображенных на них деталей
Пример оформления четвертого листа показан на рис.5
Рис.5 Пример оформления четвертого листа проекта по курсу «Вакуумная техника»
Лист 5 содержит:
-
Рабочие чертежи («деталировку») деталей оригинальных узлов, сконструированных самим студентом
-
Либо, как и четвертый лист, сборочные чертежи типовых узлов, сконструированных самим студентом
-
Либо результаты самостоятельного исследования, тематически связанные с конструируемой вакуумной системой (например, результаты расчета и исследования газопроницаемости используемых герметизаторов, результаты расчета и исследования сил трения в подшипниках вводов, результаты расчета и исследования проводимости используемых клапанов методом Монте-Карло и т.п.)
Примеры оформления конструкторского и исследовательского вариантов пятого листа показаны на рис.6,7
Рис.6 Пример оформления пятого листа проекта по курсу «Вакуумная техника» (вариант «деталировка»)
Рис.7 Примеры оформления пятого листа проекта по курсу «Вакуумная техника» (вариант «исследовательский лист»)
Рис.7 Примеры оформления пятого листа проекта по курсу «Вакуумная техника» (вариант «исследовательский лист»)
6. Анализ и синтез принципиальных схем вакуумного оборудования.
Современное вакуумное технологическое оборудование характеризуется громадным разнообразием, не уступающим по номенклатуре парку металлорежущего оборудования.
Первоначально оно появилось в виде оборудования для откачки электровакуумных приборов (ЗВП). В настоящее время нельзя назвать ни одного электровакуумного или полупроводникового прибора, технологический процесс изготовления которого не включал бы операций, связанных с использованием вакуума.
Характер требуемого вакуума: величина суммарного остаточного давления в ЭВП или рабочей камере технологической установки, парциальный состав остаточной среды определяются типом ЭВП или требованиями технологического процесса, таким образом выбор средств откачки, схемы и компоновки вакуумной системы зависят от требований техпроцесса. Характер производства- т.е. массовость выпуска изделий также определяет принцип построения вакуумной схемы установки, её быстродействие.
В табл.1. приведены требования к рабочему давлению для некоторых типовых технологических процессов, на основе которых производится выбор насоса окончательной откачки.
При выборе типа насоса требования техпроцесса сопоставляются с предельными возможностями насосов различных типов. Предельные давления
, достигаемые насосами различных типов представлены в табл.2.
Необходимо помнить при этом, что выбранная вакуумная система должна обеспечивать предельное давление
на порядок меньшее, чем указанные в табл.1, рабочее давление из-за неизбежного увеличения газовыделения во время технологического процесса (газовыделение из катодов при их обезгаживании, активировании, газовыделение из испарителей ионных источников, электронных пушек н т.п.), т.е.
где: Q- суммарное газовыделение системы, мЗПас-1,
So- быстрота откачки, мЗПас-1,
- предельное давление насоса, Па.
Как видно, современные требования к технологическому вакууму колеблются в диапазоне 104-10-10 Па. Заметим, что вакуум в космосе на орбитах околоземных спутников составляет около 10-5 Па, т.е. на пять порядков (!) хуже вакуума, требуемого для ряда технологических процессов, стоимость же вакуумной системы при улучшении вакуума на порядок, соответственно, на порядок возрастает.
По степени вакуума величина давления в откачиваемом объёме оборудование может быть разделено на:
1) оборудование со средним вакуумом (102 Па>Р>10-1 Па);
2) высоковакуумное оборудование (10-1 Па>Р>10-4 Па);
3)сверхвысоковакуумное оборудование (Р<10-4 Па).
Из табл.1. видно, что большинство техпроцессов требует использования высоковакуумного оборудования. Сверхвысокий вакуум используется тем, где предъявляются особые требования по чистоте поверхностей, обращённых в вакуум (например, катодов в СВЧ и фотоэлектронных приборах, подложек, при формировании активных полупроводниковых структур, соединяемых поверхностей при диффузионной сварке).
По характеру агрегатирования технологической машины, обеспечивающей заданную производительность (в нашем случае производительность определяется заданным временем откачки) вакуумные установки можно разделить на:
1. Откачные посты, представляющие простейший тип машины и используемые в мелкосерийном производстве ЭВП. (Посты, предназначенные для проведения в откачиваемых объёмах различных технологических процессов называются установками, например, вакуумного напыления, ионного легирования и т. п. ).
2. Карусельные машины (обычно последовательного агрегатирования) дифференцирующие процесс откачки на ряд последовательных операций. Используются в крупносерийном и массовом производствах.
3. Конвейерные машины (параллельного или смешанного, параллельно последовательного агрегатирования), в которых процесс откачки осуществляется параллельно на нескольких постам или в ряду соединенных в виде линии камер, работающих со сдвигом по фазе. Используется в массовом производстве.
Схемы вакуумных систем технологических машин рассмотрим на примерах, приведённых на рис. 8-15.
При синтезе вакуумной схемы насос окончательной откачки выбирается на основании заданных техпроцессом требований и сопоставление данных табл.1 и 2, соединяется с откачиваемым объектом, затем к нему достраивается схема системы предварительной откачки.
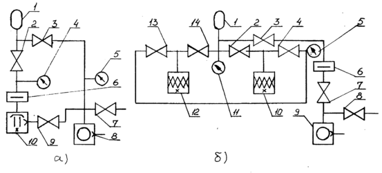
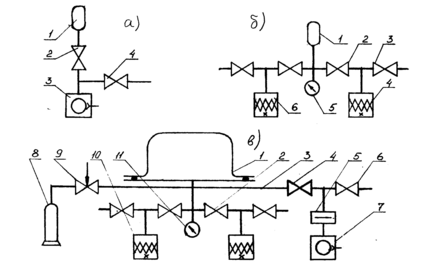
По такому принципу строятся откачные посты для получения среднего, рис.8, высокого, рис.10, 11 и сверхвысокого вакуума, рис.15.
В случае дифференцирования процесса откачки, т.е. использования последовательного агрегатирования на карусельных откачных машинах, рис. 9, 12 или технологических линиях, рис. 14 насос окончательной откачки (с соответствующей системой предварительной откачки) ставится только на последней позиции машины.
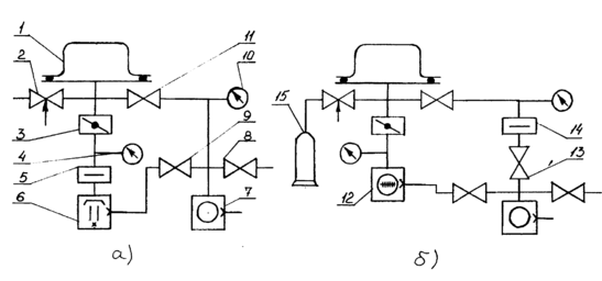
Р
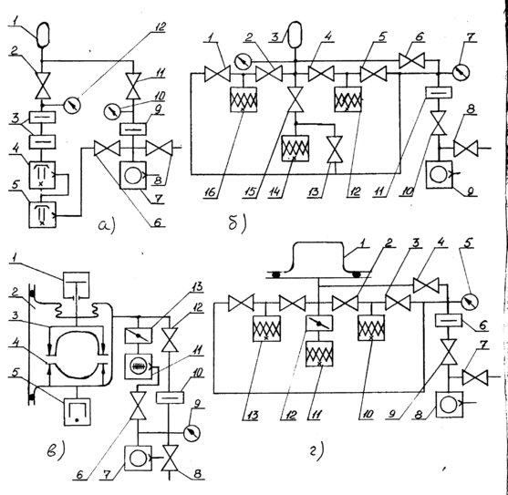
ис.8. Схемы откачных постов (машины со средним вакуумом, Р=100-10-1 Па): а) откачка ЭВП (масляный вакуум): 1-ЭВП; 2,4-клапаны; 3-механический насос; б) откачка ЭВП (безмасляный вакуум): 1-ЗВП; 2,3-клапаны; 4,6-адсорбционные насосы; 5-термопарный манометр; в)получение технологического безмасляного вакуума: 1-колпак; 2,4,6,9-клапаны; 3-трубопровод; 5-ловушка; 7-механический насос; 8-баллон с рабочим газом (Ar, Не, O2); 9- натекатель; 10-адсорбционный насос; 11-манометр.
Р
ис.9. Схема карусельной откачной машины (машины со средним вакуумом, Р=100-10-1 Па): 1- откачиваемые ЭВП; 2-кулачок управления клапанами; 3-клапан; 4-подвижный диск золотника; 6-механический насос; 7-карусель с Роликами; 8-улита поворотно-фиксирующего механизма; (ПОМ); 9-ось; 10-двигатель привода карусели; 11-манометр.
Р
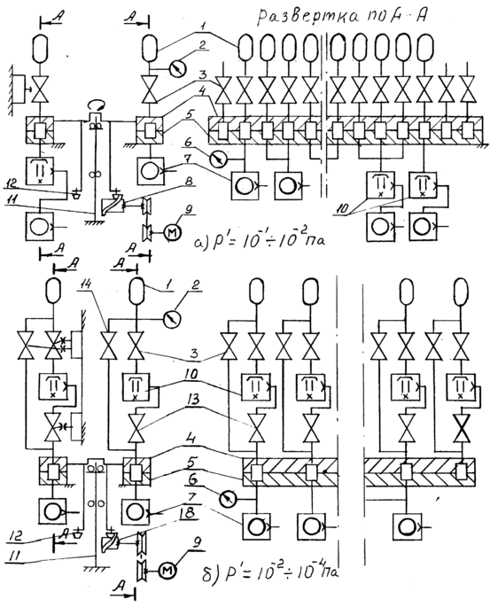
ис.10. Схемы откачных постов для откачки ЭВП (машины с высоким вакуумом, Р=10-1-10-5 Па) : а) масляный вакуум: 1-откачиваемый ЭВП; 2-высоковакаумный клапан; 3-байпасный клапан; 4,5-манометры; 6-ловушка; 7,8-клапаны; 9-механическиЙ насос; 10-диффузионный насос; б) беэмасляный вакуум; 1-ЭВП; 2,14-высоковакаумные клапаны; 3-клапаны форвакуумной откачки; 4,13-клапаны для регенерации; 5,11-манометры; 8-напускной клапан; 9-механический насос; 6-ловушка; 10,12-адсорбционные насосы.
Р
ис.11. Схемы откачных систем для получения технологического вакуума (машины с высоким вакуумом, Р=10-1-10-5 Па для напыления, сварки, обезгаживания); а) масляный вакуум; б) вакуум с пониженным содержанием углеводородов; 1-колпак (рабочая камера); 2-натекатель; 3-эатвор; 4,10-манометры; 5-ловушка; 6-диффузионный насос; 7-механический насос; 8,9-клапаны; 12-турбомолекулярный насос; 13-клапан; 14-ловушка; 15-баллон с рабочим газом.
Р
ис.12. Схемы карусельных откачных машин, масляный вакуум (машины с высоким вакуумом, Р=10-1-10-4 Па): а) машина с золотником в области высокого вакуума; б) машина с золотником в области низкого вакуума; 1-откачиваемый ЭВП; 2-высоковакуумный манометр; 3-высоковакуумный клапан; 4-подвижный (поворачивающийся) диск золотника; 5-неподвижный диск золотника; 6-блокировлчный (низковакуумный) манометр; 7-механический насос; 8-улита поворотно-фиксирующего механизма; 9-электродвигатель; 10-пароструйный насос; 11-ось; 12-двигатель с роликами; 13-форвакуумный клапан; 14-байпасный клапан.
Р
ис.13. Схема конвейерной откачной машины (машины с высоким вакуумом, Р=10-1-10--4 Па): 1-откаиваемый ЭВП; 2-высоковакуумный клапан; 3-ловушка; 4-диффузионный насос; 5-форвакуумный клапан; 6-тележка; 7-кулачки путевого управления клапанами; 8-рычаги клапанов; 9-механический насос; 10-клапан для напуска воздуха; 11-байпасный клапан; 12-манометр.
Рис.14. Схема конвейерной напылительной установки (машины с высоким вакуумом; Р=10-1-10-4 Па): 1,18-откачиваемые камеры; 2,4,8,10,14,16-клапаны; 3,13-двухроторные насосы; 5,9,15-механические насосы; 6-высоковакуумный затвор; 7-диффузионный насос, 11-балон с рабочим газом; 12-натекатель для подачи рабочего газа; 17-манометр; 19-транспортер с напыляемыми изделиями.
Р
ис.15. Схемы сверхвысоковакуумных откачных систем (машины со сверхвысоким вакуумом, Р=10-5-10-8 Па): откачка ЭВП (масляный вакуум): 1-ЭВП; 2,6,8,11-клапаны; 7-механический насос; 10,12-манометры; б) откачка ЭВП (безмасляный вакуум): 1,2,4,5,6,8,13,14-клапаны; 3-откачиваемый ЭВП; 7-манометр; 9-механический насос; 12,16-адсорбционные черновые насосы; 15-адсорбционный черновой насос; в) камерная откачка ЭВП с разнесением частей (безмасляный вакуум): 1-механизм соединения и сварки частей ЭВП; 2-рабочая камера; 3-пуансон механизма; 4-разнесенные части ЭВП; 5-магниторазрядный насос; 6,8, 11-клапаны; 7-механический насос; 9-манометр; 10-ловушка; 13-затвор; г) получение технологического вакуума; 1-рабочая камера; 2,3,4,7,9-клапаны; 5-манометр; 6-ловушка; 8-механический насос; 10,13-адсорбционные насосы; 12-магниторазрядый насос.
















