12. Printsipialnaya_skhema_protsessa_plazmo-khimiche (1072739)
Текст из файла
12. Принципиальная схема процесса плазмо-химического травления, достоинства и недостатки
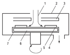
Схема вакуумной камеры диодного типа
| для плазмохимического травления |
| непосредственно в плазме |
| 1 — подача рабочего газа |
| 2 — вакуумная камера |
| 3 — электрод |
| 4 — откачной патрубок |
| 5 — пластина (подложка) |
| 6 — подложкодержатель |
| 7 — изоляционное покрытие |
С
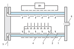
хема вакуумной камеры для радикального плазмохимического травления
1 — кварцевая камера; 2 — перфорированный цилиндр; 3 — кассета с пластинами (подложками);4 — ВЧ-индуктор; 5 — подача рабочего газа; 6 — откачной патрубок
Преимущества:
- минимальные размеры структуры – порядка 2 мкм. Зазоры между электродами – до 1 мкм;
- полная независимость от ориентации кристалла;
- глубокое травление с большим аспектным отношением ширины структуры к её толщине.
- высокая скорость по сравнению с ионным травлением
- травление проводится при существенно меньших температурах (100–300 °С) по сравнению с обычным газовым травлением
Недостатки:
- дорогое оборудование, требуется высококвалифицированный персонал;
- повышенные требования к чистоте процесса;
- медленный многооперационный метод, требующий отладки процесса.
- наличие боковой скорости травления
- ограниченное количество соединений для получения в плазме химически активных частиц,
обеспечивающих образование летучих веществ
- сложность химических реакций, протекающих в плазме и на обрабатываемой поверхности
Характеристики
Тип файла документ
Документы такого типа открываются такими программами, как Microsoft Office Word на компьютерах Windows, Apple Pages на компьютерах Mac, Open Office - бесплатная альтернатива на различных платформах, в том числе Linux. Наиболее простым и современным решением будут Google документы, так как открываются онлайн без скачивания прямо в браузере на любой платформе. Существуют российские качественные аналоги, например от Яндекса.
Будьте внимательны на мобильных устройствах, так как там используются упрощённый функционал даже в официальном приложении от Microsoft, поэтому для просмотра скачивайте PDF-версию. А если нужно редактировать файл, то используйте оригинальный файл.
Файлы такого типа обычно разбиты на страницы, а текст может быть форматированным (жирный, курсив, выбор шрифта, таблицы и т.п.), а также в него можно добавлять изображения. Формат идеально подходит для рефератов, докладов и РПЗ курсовых проектов, которые необходимо распечатать. Кстати перед печатью также сохраняйте файл в PDF, так как принтер может начудить со шрифтами.















