Пупков К.А., Коньков В.Г. - Интеллектуальные исследования (Современнаяя теория управления) (1072100), страница 6
Текст из файла (страница 6)
Тогда первая задача имеет вид:
Задача I
Для системы (35) с неопределённой правой частью требуется синтезировать такой закон управления вида (38) и выбрать такую вектор‑функцию
вида (36), чтобы при обеспечении ограничений на управление
(28), возмущение
(4) и неконтролируемую составляющую параметров
(5) обеспечивать выполнение соотношения (37). При этом выбор вектор‑функции
должен учитывать ограничения на вид вектор‑функции
(26), согласно которым её составляющая
может выбираться произвольной, а обеспечение ограничений на управление (28) и соотношение (37) должно учитывать произвольность выбора множества
, а также вектор‑функции
и множества
из соотношения (31).
Если априорная информация о
и
согласно (4), (5) задана точно (соответствует действительности), и в процессе функционирования систем характер информации о
и
не изменяется, то решение Задачи I позволяет синтезировать закон управления для всего времени функционирования ИС.
Для постановки второй задачи предварительно необходимо ввести некоторые дополнительные определения. Прежде всего отметим, что на данном этапе решения общей задачи синтеза должно осуществляться сравнение образа действительной траектории
с траекторией
системы (50), для которой закон управления найден и имеет вид
. Для недопустимо больших значений сигнала рассогласования систему (50) предлагается замкнуть такой обратной связью вида (51), чтобы сигнал рассогласования
между
и траекторией
замкнутой системы (52) принимал достаточно малые значения согласно (54). Тогда траекторию
системы (52) можно рассматривать в качестве достаточно точной аппроксимации образа
и по её значению судить о характере выполнения соотношения (37). При этом, поскольку значения
соответствуют текущим значениям траектории
согласно (47), то на основе
можно определить, как выполняется (37), только до текущего момента времени
(т.е. до соответствующего ему
). В этой связи возникает необходимость использовать систему (52) для проверки соотношения (37) не только для текущих, но и для последующих (будущих) моментов времени. При этом желательно, чтобы последующий за
временной отрезок был достаточно велик.
Пусть
– указанный непрерывный временной отрезок, определённый для произвольного текущего момента времени
(т.е. все элементы отрезка
расположены правее
, являющегося его левым (минимальным) граничным значением, и для каждого из них справедливо соотношение (37)). Обозначим через
момент времени, начиная с которого необходимо формировать временные отрезки
. Длина отрезка
предполагается выбирать достаточно большой, чтобы сформированная система (52) позволяла заранее проверять соотношение (37) на более широком множестве последующих
моментов времени. Считаем, что:
|
| (62) |
где
– некоторая заданная величина для соответствующего момента времени
;
– длина отрезка
.
Условие (53) можно ослабить, предполагая, что вектор‑функция
«замкнутой» системы должна удовлетворять ограничению
|
| (63) |
где
– некоторый функционал, определённый на элементах пространства
, и принимающий минимальное значение в
. Тогда вторую задачу можно сформулировать следующим образом.
Задача II.
Требуется синтезировать такую
вектор‑функцию
, рассматриваемую в качестве правой части «замкнутой» системы (52) и выбрать такой закон обратной связи
, чтобы сигнал рассогласования
между траекторией
«замкнутой» системы (52) и образом
действительной траектории удовлетворял условию
|
| (64) |
где
,
– временной отрезок, состоящий из всех предшествующих
моментов времени, начиная с некоторого
(т.е.
);
– функционал, определённый согласно (54) и при этом выполнялось одно из соотношений (53) или (63).
Заметим, что задача II может рассматриваться в более общей постановке, выбор
и
осуществляется без учета ограничений (53) или (63). В этом случае также обеспечивается достаточная близость траектории
системы (52) к траектории
, но систему (52) уже нельзя рассматривать как «замкнутую» по отношению к системе (50).
Таким образом, используя траекторию
системы (52), достаточной степенью точности определить характер выполнения соотношения (37) на отрезке времени
, в том числе и на последующих моментах из
. При этом систему (52) можно рассматривать как скорректированный образ ИС (25).
Если на траектории
соотношение (37) выполняется
, то корректировать закон управления
нет необходимости, если же (37) нарушается для некоторого
, то необходима коррекция. Для этого решается третья задача. Прежде чем её сформулировать, введём некоторые определения.
Пусть на траектории
при некоторых
нарушается соотношение (37). Тогда, как и на предыдущем этапе синтеза, систему (52) предлагается замкнуть обратной связью вида (56) таким образом, чтобы на траектории замкнутой системы вида (57) на всём отрезке
выполнялось соотношение (37). Однако в данном случае возникает следующая задача: если систему (52) с достаточной степенью точности можно рассматривать в качестве образа ИС (25), то может ли быть образом ИС (25) при соответствующем законе управления
замкнутая система (57). Поскольку на основе траекторий системы (57) необходимо судить о том, выполняется ли соотношение (37) для ИС (25) при той или иной корректировке закона управления, то можно потребовать, чтобы сформированная, допустимая в смысле (37), траектория системы (57) с достаточной степенью точности была образом некоторой траектории ИС (25) с соответствующим законом управления.
Таким образом, система (57) должна обладать следующим свойством. Если при некотором законе управления
её траектория удовлетворяет соотношению (37), то для ИС (25) должен существовать такой закон управления
(см. (61)), что траектория системы (57) достаточно близка к образу соответствующей управлению
траектории ИС (25).
Систему (57), обладающую указанным свойством, т.е. способную воспроизводить то или иное движение системы (25) в интеллектуальной среде
с достаточной степенью точности, будем называть воспроизводящей системой по отношению к (25).
Пусть:
-
– траектория системы (57); -
– сигнал рассогласования между
и
.
Тогда система (57) является воспроизводящей по отношению к (25) в среде
, если для произвольной траектории
системы (35), являющейся образом ИС (25), существует такая траектория
системы (57), реализуемая при выборе некоторого закона управления
, что точность воспроизведения ею траектории
удовлетворяет неравенству
|
| (65) |
где
– некоторый функционал, аналогичный
(см. (64));
– некоторый момент времени, начиная с которого должно быть обеспечено воспроизведение траектории
.
Пусть
– множество воспроизводящих систем по отношению к системе (35) в среде
вида (57), а
– произвольный элемент из
, т.е.
. Тогда третью задачу синтеза с учетом введенных определений можно сформулировать следующим образом.
Задача III.
Требуется для системы (35) на множестве
синтезировать произвольную воспроизводящую систему
в среде
вида (57), на траекториях
удовлетворяется неравенство (65), и при этом сформировать для неё такой закон управления
, который бы для траектории
обеспечивал выполнение соотношения (37).
Решив задачу III, т.е. сформировав воспроизводящую систему (57) и синтезировав для неё требуемый закон управления
, можно определить соответствующий закон управления для системы (35), а значит и для ИС (25), обеспечивающий (37) на всем отрезке
. Такой закон в силу свойств
всегда существует и его определение возможно либо непосредственно в процессе решения задачи III, ли после того как задача будет решена.
-
Динамические экспертные системы
в управлении
Новое поколение систем - интеллектуальные системы (ИС) - вызвало к жизни другие принципы организации компонентов систем: появились иные понятия, термины, блоки, не встречавшиеся ранее в разработках и, следовательно, в научной литературе.
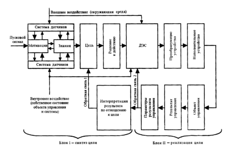
Интеллектуальные системы способны синтезировать цель, принимать решение к действию, обеспечивать действие для достижения цели, прогнозировать значения параметров результата действия и сопоставлять их с реальными, образуя обратную связь, корректировать цель или управление [4, 5]. На рис. 8 приведена структурная схема ИС, где выделены два крупных блока системы: синтез цели и ее реализация. В первом блоке на основе активного оценивания информации, полученной от системы датчиков, при наличии мотивации и знаний синтезируется цель и принимается решение к действию. Активное оценивание информации начинает осуществляеться под воздействием пусковых сигналов. Изменчивость окружающей среды и собственного состояния системы может приводить к потребности в чем-либо (мотивации), а при наличии знаний может быть синтезирована цель. Под целью понимается идеальное, мысленное предвосхищение результата деятельности. Продолжая активно оценивать информацию об окружающей среде и собственном состоянии системы, в том числе объекта управления, при сопоставлении вариантов достижения цели можно принять решение к действию.
Далее, во втором блоке динамическая экспертная система (ДЭС) на основании текущих сведений об окружающей среде и собственном состоянии ИС при наличии цели и знаний осуществляет экспертную оценку, принимает решение об управлении, прогнозирует результаты действия и вырабатывает управление. Представленное в кодированном виде управление преобразуется в физический сигнал и поступает на исполнительные устройства. Объект управления, получая сигнал от исполнительных устройств, осуществляет то или иное действие, результаты которого, представленные в виде параметров, по цепи обратной связи 2 поступают в ДЭС, где сравниваются с прогнозированными. Одновременно параметры результата действия, интерпретированные в соответствии со свойствами цели и поступающие в блок 1, могут использоваться для эмоциональной оценки достигнутого результата: например, цель достигнута, но результат не нравится. Если цель достигается по всем параметрам, то управление подкрепляется. В противном случае происходит коррекция управления. Когда же цель недостижима, то корректируется цель. Следует заметить, что при внезапных изменениях состояния окружающей среды, или объекта управления, или системы в целом возможен синтез новой цели и организация ее достижения. Структура ИС наряду с новыми содержит традиционные элементы и связи, центральное место в ней занимает динамическая экспертная система.
,
при
– траектория системы (57);
– сигнал рассогласования между
и
,















