муфты (1070013)
Текст из файла
45
Московский государственный технический
университет имени Н.Э. Баумана
И.С. Потапцев, А.А. Буцев, Е.В.Матвеенко
Расчёт и конструирование элементов
приборных устройств
Конструирование приборных
муфт
Рекомендовано редсоветом
МГТУ им. Н.Э. Баумана
в качестве учебного пособия
Москва
Издательство МГТУ им. Н.Э.Баумана
2001
УДК 681.2
ББК 34.9
П64
Рецензенты: Крикун В.М., Крюкова И.В.
П64 Потапцев И.С., Буцев А.А., Матвеенко Е.В.
Расчет и конструирование элементов приборных устройств. Конструирование приборных муфт:
Учебное пособие .–М.: МГТУ им. Н.Э.Баумана 2001. – с., ил.
ISBN
В учебном пособии рассмотрены конструкции и методики расчета различных типов механических соединительных, предохранительных и самоуправляемых муфт. Приведены рекомендации и справочные материалы, необходимые студентам при выполнении расчетно–графических работ и курсовых проектов.
Для студентов старших курсов приборостроительных специальностей при выполнении расчетно–графических работ курсового и дипломного проектирования.
Ил. 29. Табл.7. Библиогр. 8 назв.
УДК 681.2
ББК 34.9
Игорь Степанович Потапцев
Александр Алексеевич Буцев
Елена Владимировна Матвеенко
Расчет и конструирование элементов
приборных устройств
Конструирование приборных муфт
Редактор Е.К.Кошелева
Корректор
Изд. Лицензия № 020523 от 25. Щ4. 97
Подписано в печать Формат 60х84/16. Бумага овсетная
Печ. л. Усл. печ. л. Уч.–изд. л.
Тираж 200 экз. Изд. №42 Зака
Издательство МГТУ им. Н.Э. Баумана
107005, Москва, 2-я Бауманская, 5.
ISBN © МГТУ им. Н.Э.Баумана, 2001
Введение
В приборных устройствах муфты используются для решения широкого спектра конструкторских и эксплуатационных задач. Специальным вопросам применения, конструирования и расчета муфт посвящено большое число научных разработок, справочных руководств, принципы действия муфт описаны в учебной литературе. Однако учебная и методическая литература подобного профиля, используемая при муфт при выполнении расчётно-графических работ, курсовых и дипломных проектов студентами приборостроительных специальностей устарела и стала практически недоступна. Предлагаемое пособие призвано восполнить указанный недостаток.
В пособии даны рекомендации по применению муфт, представлены методики и справочные материалы по приведенным конструктивным решениям. Предлагаемые справочные материалы и методики проектирования могут быть с успехом применены и к другим типам муфт, не описанным в пособии. Достаточно подробно представлены стадии выбора, проектирования и расчета трех типов муфт: соединительных, предохранительных, неуправляемые и самоуправляемых.
1.Соединительные муфты
В приборных устройствах соединительные муфты применяют для соединения вращающихся и перемещающихся деталей, присоединения к механизмам стандартных и нормализованных изделий, предназначенных для приведения их в движение, измерения и преобразования механических величин в электрические, что удобно для ввода их в информационные системы. Часто муфты необходимы при настройке и ремонте приборов.
Передаточное отношение соединительных муфт должно быть равно единице. При отклонении передаточного отношения соединительной муфты от единицы вследствие погрешностей расположения валов будут увеличиваться люфтовая и кинематическая погрешности передаточного механизма с соответствующим коэффициентом влияния, который в большинстве случаев равен единице. На рис.1.1 представлены виды погрешностей взаимного расположения соединяемых валов: продольные осевые смещения ∆х (рис.1.1а), поперечные смещения ∆y (рис.1.1б), и смещения по углу ∆α (рис.1.1в). Предполагается, что каждый вал имеет свои опоры, числом не более двух. Конструктор – разработчик выбирает для применения тип и конструкцию муфты, наиболее полно отвечающую условиям применения.
Рис.1.1. Виды погрешностей, возникающие при соединении валов
1.Соединительные муфты
1.1.Втулочная муфта (рис.1.2). Эти муфты (их еще называют глухими) применяют для жесткого соединения двух валов. С помощью этих муфт можно скомпенсировать только продольные осевые смещения ∆х при отсутствии смещений по углу ∆α и поперечных смещений ∆y.
Рис.1.2. Втулочная муфта
В связи с такими жесткими требованиями втулочные муфты применяют редко, несмотря на их малые габариты в радиальном направлении и отсутствие ограничений по рабочей скорости. Конструкция этих муфт чаще всего бывает неразборной. Передаточное отношение таких муфт практически равно единице, динамические нагрузки не демпфируются.
Рекомендуемые размеры втулочных муфт представлены в табл.1.1. Расчеты таких муфт в приборных конструкциях сводятся к расчету штифтов на срез:
где d1 – диаметр штифта, мм;
Мкр – крутящий момент, передаваемый муфтой, Н·мм;
d – диаметр вала, мм;
[τср] - допустимые напряжения среза штифта, Мпа.
Допустимые напряжения среза штифта можно найти по выражению
[τср]=(0.75…0,8)σв /n.
где σв – временное сопротивление разрыву, Мпа;
n – коэффициент запаса.
У материалов, рекомендуемых для изготовления штифтов втулочных муфт, σв имеет значения: Ст45 – 598 МПа, Ст50 – 628 МПа, Ст65Г – 736 МПа.
Рекомендуемые размеры втулочных муфт
Таблица 1.1
| Размеры муфты, мм | Штифт d1хlштифта | Момент Мкр, Н·мм | |||||
| d | D | L | d1 | l | c | ||
| 4 | 8 | 15 | 1.0 | 3 | 0,3 | 1х8 | 300 |
| 5 | 10 | 20 | 1,5 | 5 | 0,3 | 1,5х8 | 800 |
| 6 | 12 | 25 | 1,5 | 6 | 0,3 | 1,5х12 | 1000 |
| 8 | 15 | 30 | 2,0 | 6 | 0,3 | 2х16 | 2200 |
| 10 | 18 | 35 | 2,5 | 8 | 0,5 | 2,5х18 | 4500 |
У конических штифтов d1 принимается в среднем сечении вала (вдоль продольной оси вала). Соединяемые валы могут немного отличаться по диаметру.
В качестве материала втулок применяют стали 45, 45Х с последующим антикоррозионным покрытием. Соединение втулки с валами осуществляется с зазором, например, (Н9/d9). Штифты устанавливаются под углом 900 друг относительно друга. Такая установка позволяет исключить заклинивание механизма при возможных малых угловых смещениях валов.
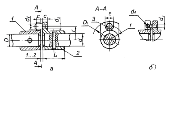
1.2.Пальцевая (поводковая) муфта. Эта муфта (рис.1.3) компенсирует несоосность (до 0,5 мм) и небольшие продольные осевые смещения и перекосы, проста по конструкции, удобна в эксплуатации. Существенным недостатком муфт этого типа является наличие люфта (зазора) между пальцем 3, закрепленным в детали 2 (правая полумуфта) и пазом е в детали 1 (левая полумуфта), следствием чего является увеличение люфтовой погрешности всего механизма. Например, при r =5 мм вероятный мёртвый ход может составить 5 угловых минут при допуске на диаметр пальца d1 - h9, а на паз e - H9.
Рис.1.3. Конструктивные элементы пальцевой муфты
Расчет элементов пальцевой муфты проводят аналогично расчету втулочной муфты на срез штифтов, дополнительно на срез рассчитывают палец 3 в месте установки его в полумуфте:
Материал для пальца выбирают такой же, как и для штифтов втулочной муфты.
При увеличенном угле перекоса палец муфты выполняют с шаровым окончанием во избежание заклинивания (рис.1.3,б). Передаточное отношение между соединяемыми валами в пределах одного оборота не остается постоянным из-за наличия смещения ∆y и угла перекоса ∆α см. (рис.1.1). Пальцевую муфту при этом можно представить кулисным механизмом (рис.1.4). На этом рисунке рычаги 1 и 2 соответствуют деталям 1 и 2 по рис.1.3а, а φ1 и φ2 – текущие углы поворота каждого из соединяемых валов. Изменение передаточного отношения пальцевой муфты в пределах одного оборота можно рассчитать с учетом геометрических размеров, индивидуальных погрешностей изготовления и монтажа ее деталей. При ведущем вале 1 и смещении ∆y текущее значение угла поворота ведомого вала можно определить по выражению
При перекосах ∆α соединяемых валов погрешность увеличивается
Рис.1.4. Схема кулисного механизма
Максимальное значение ошибки в пределах одного оборота при r =10мм и ∆y=0,1мм составит ±34'. Рекомендуемые размеры для приведённого на рис.1.3 конструктивного исполнения приведены в табл. 1.2.
Рекомендуемые размеры пальцевой муфты
Таблица 1.2
| Размеры, мм | Штифт d·l | ||||||||
| d | D1 | L | c | e | D | d1 | d 2 | r | |
| 4 | 25 | 10 | 2 | 3,2 | 10 | 3 | 2 | 10 | 1х10 |
| 5 | 30 | 12 | 2 | 3,2 | 11 | 3 | 2 | 12 | 1,5х11 |
| 6 | 32 | 15 | 2 | 4,2 | 12 | 4 | 3 | 12 | 2,0х12 |
| 8 | 38 | 20 | 3 | 4,2 | 15 | 4 | 3 | 14 | 2,5х15 |
| 10 | 40 | 24 | 3 | 5,2 | 18 | 5 | 3.5 | 14 | 2,5х18 |
| 12 | 45 | 27 | 4 | 5,2 | 20 | 5 | 3.5 | 16 | 3х20 |
Материал для изготовления полумуфт и пальца (поводка) – сталь 45 или 40Х. Зазор между пальцем 3 и краями паза е может назначают из условия климатического исполнения по ГОСТ 15150-69 в виде допуска на изготовление.
Характеристики
Тип файла документ
Документы такого типа открываются такими программами, как Microsoft Office Word на компьютерах Windows, Apple Pages на компьютерах Mac, Open Office - бесплатная альтернатива на различных платформах, в том числе Linux. Наиболее простым и современным решением будут Google документы, так как открываются онлайн без скачивания прямо в браузере на любой платформе. Существуют российские качественные аналоги, например от Яндекса.
Будьте внимательны на мобильных устройствах, так как там используются упрощённый функционал даже в официальном приложении от Microsoft, поэтому для просмотра скачивайте PDF-версию. А если нужно редактировать файл, то используйте оригинальный файл.
Файлы такого типа обычно разбиты на страницы, а текст может быть форматированным (жирный, курсив, выбор шрифта, таблицы и т.п.), а также в него можно добавлять изображения. Формат идеально подходит для рефератов, докладов и РПЗ курсовых проектов, которые необходимо распечатать. Кстати перед печатью также сохраняйте файл в PDF, так как принтер может начудить со шрифтами.
















