муфты (1070013), страница 3
Текст из файла (страница 3)
Рис.1.10.
Рис.1.11.
Рис.1.12.
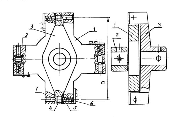
1.6. Крестовая муфта. Беззазорный (безлюфтовой) вариант крестовой муфты (рис.1.13) на основе узла Ольдгейма применяют в кинематических цепях высокой и самой высокой точности (до 0,5"). Муфта состоит из двух взаимно перпендикулярно расположенных поводков 2 и 3, одновременно являющихся и левой и правой полумуфтами. Своими боковыми выступами полумуфты входят в пазы крестовины 1 и защемляются между сухариками 7 и шариками 5 посредством пружин 6.
Рис.1.13. Беззазорная крестовая муфта
Таким образом во всех четырех соединениях пазов крестовины и обеих полумуфт выбирают зазор (люфт). Для уменьшения потерь на трение шарики и палец изготавливают из высокотвердых материалов, а в выступы полумуфт 1 и 3 запрессовывают высокотвердые полированные ролики 4. Силы защемления выступов полумуфт в пазах крестовины, создаваемые пружинами 6, должны значительно превышать силы от передаваемого момента. Эти силы можно определить по выражению:
где: Мmax – максимальный момент, передаваемый муфтой;
k – коэффициент надёжности (в зависимости от требуемой точности механизма) 10…100.
Силу Р используют для расчета пружин и расчета элементов муфты на жесткость. Для повышения жесткости элементов в конструкции деталей предусматривают ребра жесткости. На рис.1.14. приведен пример конструкции беззазорной крестовой муфты.
Рис.1.14. Пример конструкции беззазорной крестовой муфты
В этой конструкции отсутствуют ролики 4 (см. рис.1.13), а выступы полумуфт дополнительно закаливаются и полируются.
2. Предохранительные муфты.
2.1. Место установки предохранительной муфты
Передаточное отношение предохранительных неуправляемых и управляемых муфт меняется от единицы до бесконечности в зависимости от принципа предохранения и защиты механизмов при различного вида перегрузках, запрещенных направлениях движения, превышения разрешённых скоростей и т.п. Муфты включения и выключения механизмов часто имеют конструкцию, мало отличающуюся от конструкций предохранительных самоуправляемых и управляемых муфт.
Предохранительные муфты применяют для предотвращения выхода из строя механизмов при различных видах перегрузки: статическим или динамическим моментом, при превышении или уменьшении допустимой скорости вращения, изменении направления вращения и др.
В данном учебном пособии предлагаются разработка конструкций и расчет основных элементов неуправляемых и самоуправляемых предохранительных муфт: втулочных, поводковых, кулачковых, шариковых, фрикционных. У втулочных и поводковых муфт срабатывание происходит за счет разрушения одного или нескольких элементов конструкции. Такие предохранительные муфты часто называют неуправляемыми. Восстановление работоспособности их возможно только после замены разрушенных элементов.
Предохранительные муфты, срабатывание которых происходит под воздействием внутренних силовых факторов, возникших в результате перегрузки и не вызвавших разрушения элементов конструкции муфты, принято называть самоуправляемыми. Самоуправляемые кулачковые и шариковые муфты при срабатывании не разрушаются, но рабочие элементы муфт и предохраняемых механизмов испытывают дополнительные динамические нагрузки, а сами муфты издают характерные звуки (типа трещотки). Самоуправляемые фрикционные муфты могут значительно нагреваться, особенно при больших скоростях проскальзывания. Для уменьшения этих нежелательных явлений предохранительные самоуправляемые муфты устанавливают на тихоходном валу.
В пособии рассмотрен расчет только основных параметров и размеров муфт. Размеры остальных элементов выбирают по рисункам, приведенным в пособии, и по ГОСТ 6636–69. Предлагаемые конструктивные решения относятся к муфтам, передающим момент в пределах до нескольких Ньютонов на метр.
2.2.Предохранительные муфты с разрушаемыми элементами
2.2.1. Втулочная муфта (см. рис.1.2) кроме функции соединения валов может выполнять и функцию предохранения по максимальному моменту. При этом максимальный момент, при котором происходит срез штифта (диаметр штифта d1 ориентировочно можно принять равным 0,25…0,3 d):
Значение максимального момента Мmax (или момента предохранения) должно составлять примерно 1,25М кр, помимо этого максимальный момент может быть задан по условиям проектирования.
При заданном максимальном моменте диаметр срезаемого штифта можно определить по выражению:
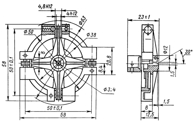
2.2.2.На рис.2.1. показана конструкция втулочной муфты с быстросменным срезаемым штифтом 1. Отличие данной конструкции от рассмотренной выше (см. рис.1.2) заключается в том, что разрушается (срезается) только один, наперед заданный, штифт, и только по одному сечению. При этом максимальный момент определяется как
Рис.2.1. Втулочная предохранительная муфта с одним штифтом
Для замены разрушенного элемента следует сдвинуть плоскую пружину 2, вытолкнуть остатки штифта 1, установить новый штифт и зафиксировать его пружиной. Кроме того, такая конструкция позволяет легко и быстро демонтировать валик 3 вместе с установленными на нем элементами при настройке, регулировке изделия и т.п.
Поводковая муфта с разрушающимся элементом – штифтом (поводком) представлена на рис.2.2. Число штифтов –1 или 2, больше обычно не бывает. В номинальном режиме крутящий момент с зубчатого колеса 2, которое одновременно является левой полумуфтой, через штифт 3 передается на правую полумуфту 5. С правой полумуфты через шпонку 7 крутящий момент поступает на вал 1. При увеличении момента до максимальной величины штифт 3 срезается и момент на вал уже не передается. Чтобы восстановить работоспособности муфты необходимо отвернуть винт – заглушку 6, вынуть остатки штифта из полумуфт и вставить новый. Для обеспечения стабильности и точности срабатывания муфты в обе полумуфты запрессовывают два плунжера 4 из высокотвердой стали, при помощи которых стабилизируют процесс срезания штифтов. Стопорное разрезное кольцо 8 предохраняет муфту от произвольного перемещения вдоль вала. Материал для изготовления штифтов см. раздел 1.1. Материал для изготовления плунжеров – инструментальные стали, например, У8А, У10А и другие с последующей закалкой.
Рис.2.2. Поводковая предохранительная муфта со срезаемым штифтом
Максимальный момент (или момент предохранения) определяют по формуле:
где: z – число срезаемых штифтов.
2.3. Самоуправляемые предохранительные муфты
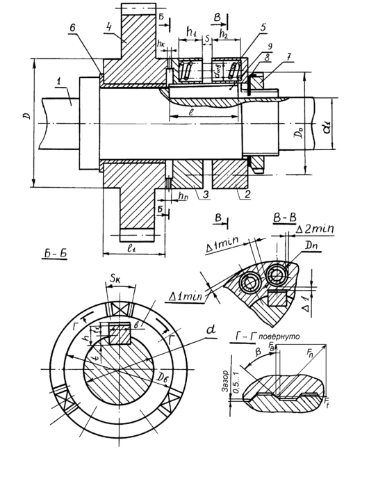
2.3.1 Кулачковая предохранительная муфта (рис.2.3). Муфта самоуправляемая, состоит из двух дисков – полумуфт с кулачками на соприкасающихся торцевых поверхностях. Кулачки в данном случае – трапецеидальные выступы с углом наклона β (сечение Г–Г) небольшой высоты. В качестве левой полумуфты может использоваться ступица зубчатого колеса 4, или другая подобная
Рис.2.3. Кулачковая предохранительная муфта
деталь, а правая часть представляет собой барабан из деталей 3 и 2 с несколькими винтовыми пружинами сжатия 5 (пружины устанавливаются параллельно). За счет предварительной деформации пружины сжатия обеспечивают нормальные силы давления между рабочими поверхностями кулачков, достаточные для передачи номинального крутящего момента.
Муфта работает следующим образом: крутящий момент с вала 1 через шпонку 9 передается на обе части 2 и 3 барабана и через сцепленные кулачки полумуфт на зубчатое колесо 4. В случае увеличения нагрузки на колесе 4 выше допустимой осевая составляющая Fa нормальной силы от передаваемого момента превышает силы предварительного сжатия винтовых пружин в барабане и они деформируются. Подвижная часть барабана 3 передвигается в правую сторону до тех пор, пока перемещение не достигнет высоты кулачка hк, кулачки выходят из зацепления, вал свободно прокручивается в подшипнике скольжения 6, неподвижно посаженном в ступице, и повышенный крутящий момент на вал 1 не воздействует. Гайка 7 по ГОСТ 11871–80 обеспечивает регулировку силы прижатия пружин. Шайба 8 по ГОСТ 118772–80 предохраняет гайку от самоотвинчивания.
Рекомендуется следующий порядок проектирования муфты. Начинается проектирование с уточнения конструктивной формы вала, на котором предполагается ее установка. Если диаметр вала d (см. рис.2.3 сечение Б – Б) в месте установки муфты меньше 4,5 мм, то его увеличивают до 4,5 мм, что приблизительно соответствует передаваемому моменту в 1Н·м. Для удобства посадки детали и нарезки резьбы вал делают ступенчатым. Детали барабана могут быть посажены на шпонку или на шлицы. Размеры шпонки и паза под нее приведены в таблице 2.1 в соответствии с ГОСТ 23360-78. После выбора размеров шпонки её проверяют на срез. Если размеры шпонки не подходят, то шпоночное соединение заменяют шлицевым.
Рекомендуемые размеры шпонок и пазов под них
Таблица № 2.1
| Диаметр вала | Сечение шпонки | Глубина паза | Длина шпонки | |
| Вала | Втулки | |||
| d, мм | bx h, мм | t, мм | t1, мм | l, мм |
| От 4 до 6 | 1,6х1,6 | 0,95 | 0,8 | 4...10. |
| От 6 до 8 | 2х2 | 1,2 | 1,0 | 6...20 |
| Св. 6 до 10 | 3х3 | 1,6 | 1,4 | 6...35 |
| Св. 10 до 12 | 4х4 | 2,5 | 1,6 | 8...45 |
| Св. 12 до 17 | 5х5 | 3 | 2,3 | 10...55 |
| Св. 17 до 22 | 6х6 | 3,5 | 2,8 | 14...70 |
Рекомендуется число кулачков для муфт в реверсивных передачах
где Sk – угловая толщина кулачка, (Sk = 20...60о).
Угол профиля кулачка рекомендуется выбирать в пределах b= 45..55o. Наружный диаметр D для приборных муфт определяется по диаметру впадин зубчатого колеса 4 (см. рис.2,3), но он не должен быть менее 30 и более 55 мм (более крупные муфты выбирают или рассчитывают–см. [5]). Если диаметр вала d или зубчатого колеса меньше рекомендуемого, то нужно выбрать другую конструкцию муфты: Do - диаметр центров расточки гнезд под пружины выбирают в пределах (2/3…3/5D) и уточняют после расчёта и конструирования пружин.
















