муфты (1070013), страница 5
Текст из файла (страница 5)
Рис.2.4. Пример менее мощной кулачковой муфты
Вместо барабана с несколькими пружинами ставят одну пружину сжатия диаметром D =D0. Размеры кулачков и зазор hп не меняют. Для четкого срабатывания муфты желательно, чтобы пружины имели минимально возможную жесткость.
По условиям работы пружины предохранительных муфт можно отнести к пружинам 1–го и 2–го классов. Для них назначают марку стали по ГОСТ 1050–74 и 1435–74, проволоку по ГОСТ 9389–75; 9389–75, параметры витков по ГОСТ 13766–68 или 13767–68, максимальные касательные напряжения τmax составляют 0,3sв.
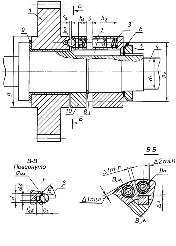
Число пружин m в барабане определяют по выражению:
m=πDo/(Dн+2∆2min+∆1min).
Размер h1 делается по возможности гораздо меньше размера ∆1min или h2 для уменьшения массы скользящей части 3 подвижной полумуфты (см. рис. 2.3).
Сила одной пружины при предварительной деформации, соответствующая регулировке муфты по Mном,
P1 = Pном/ m.
При перемещении скользящей части 3 полумуфты на высоту кулачков hк происходит срабатывание муфты; получается, что рабочий ход пружины равен hк. Силу срабатывания пружин Р2 получают делением силы Рmax на количество пружин m, где
Рmax= Мmax/Dсрtg(β+φ).
При очень большом коэффициенте запаса пружина может оказаться слишком длинной – а проволока слишком большого диаметра. Рекомендуется коэффициент запаса примерно 1,2. Чтобы исключить соударение витков пружины при срабатывании из-за их инерционности, задают инерционный зазор между витками пружин в пределах 0.05...0,25 мм, на который увеличивают обычный зазор между витками. Сила пружины Р3 при максимальной допустимой деформации
Определяют жесткость пружины k = (P2 - P1)/h.
Далее пружину выбирают по таблице 2.2.
2.5.Шариковая предохранительная муфта
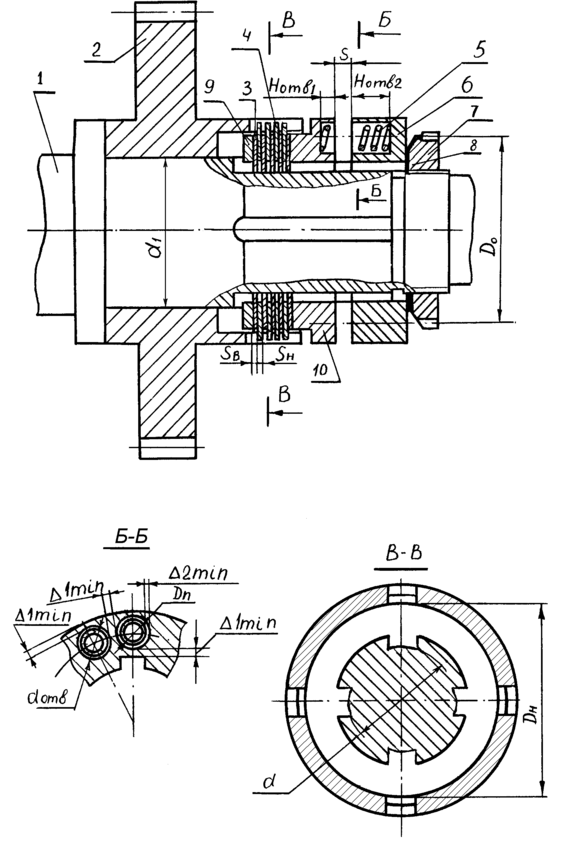
Конструкция шариковой предохранительной муфты приведена на рис.2.5. Принцип работы этой муфты не отличается от принципа работы кулачковой предохранительной муфты. При увеличении момента на зубчатом колесе 1 сверх момента предохранения шарики 2 выталкиваются из лунок, выполненных в ступице зубчатого колеса или подобной детали, преодолевая силу сжатия пружин 3, и освобождают колесо 1 от сцепления с валом 4. С помощью гайки 5 регулируют момент предохранения. Стопорная шайба 6 предохраняет гайку 5 от самоотвинчивания. Шпонка 7 и втулка 9 служат для тех же целей, что и аналогичные детали кулачковой муфты. Стопорная шайба 8 фиксирует от произвольного перемещения обойму 10 с шариками 2. Подшипник скольжения 9 стабилизирует момент срабатывания муфты.
Проектирование муфты начинают с проектирования вала 4. Рекомендации по проектированию вала, выбору зазоров
и
, размеров шпонок или шлицов такие же, как и для кулачковых муфт. Наружный диаметр муфты D и диаметр расположения центров шариков Do соответствует Do на рис.2.3, их рассчитывают по формулам, приведенным выше. Число шариков при моменте предохранения до 5 Н∙м выбирают для приборных муфт равным 4…6. Средний
диаметр D 0 приложения силы к шарикам – как и у кулачковой муфты. Суммарная сила пружин
Pпр = P [tg(b + j + c)],
где β – угол конуса лунки для шарика 45...55о,
j – угол трения шарика и лунок ступицы колеса 1, (примерно 8,5о),
c – угол трения шарика и обоймы 10; при стальной обойме,
c = 8,5о, при бронзовой обойме c= 6о (шарики стальные),
Р – окружная сила;
Окружную силу вычисляют через момент предохранения;
P = 2 Мпр /Do,
где – Мпр=Мmax..
Вместо лунок под шарики в торце ступицы колеса 1 можно фрезеровать радиальные пазы с поперечным сечением, как указано в сечении В–В на рис.2.6.
Рис. 2.6. Шариковая предохранительная муфта
Рис.2.7. Конструкция шариковой предохранительной муфты с пазами вместо лунок
Глубина С и ширина В пазов должна соответствовать диаметру лунки на рис.2.5 для обеспечения величины h0 и необходимого зазора S1 (рис. 2.7). При выбранном угле β диаметр лунки можно определить и графически.
Другой вариант подобной муфты представлен на рис.2.8. Здесь момент с вала 1 подается через шпонки и полумуфту 2 на зубчатое колесо 3 посредством шариков 4, расположенных в радиальных пазах деталей 2 и 3. Шарики 4 удер
Рис.2.8. Шариковая предохранительная муфта повышенной точности
живаются на диаметре D0 и равномерно распределяются по окружности сепаратором 5. Для повышения точности момента срабатывания применён упорный шариковый подшипник 6. Зазор S служит для регулировки момента срабатывания при помощи гайки 7.
На рис. 2.7 представлены различные варианты конструктивного исполнения шарикового узла предохранительных шариковых муфт.
Рис.2.7. Варианты конструктивного исполнения шарикового узла предохранительных муфт, где h0=(0.15…0,2)dш.
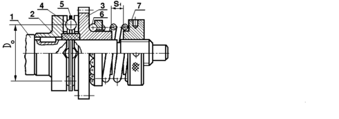
На рис. 2.9. представлена одна из конструкций шариковой предохранительной муфты радиального действия, отличительной особенностью которой являются меньшие осевые размеры. Однако эта муфта в большей степени под-
Рис.2.9. Шариковая предохранительная муфта радиального действия
подвержена влиянию центробежных сил и, кроме того, технологически трудно изготавливать отверстия с точно обработанными фасками на внутренней поверхности левой полумуфты. Силу прижатия каждого шарика при срабатывании Р2 вычисляют по формуле
где do – диаметр отверстия для шарика в лавой полумуфте;
z – число шариков ( не более четырех);
D – диаметр центров шариков.
Рекомендации по проектированию пружин –как и для кулачковой муфты.
Шарики выбирают из ряда диаметров 1,3;1,558; 2,0; 2,381; 2,5 3,0; 3,175; 3.5; 4; 4,5; 5,0; 5,5; 6,0; 6,5; 7,0; 8,0 мм. Диаметр пружины Dн, полученный по результатам расчета, приводят к ближайшему диаметру шарика dш. Если пружина не умещается в рассчитанные размеры d отв, то следует увеличивать значение D и Do, так, чтобы зазоры ∆2 min и ∆1min соответствовали рекомендациям для кулачковой муфты. Диаметр отверстия под шарик равен диаметру отверстия под пружину с учетом обязательных зазоров 0,2…0,7 мм. Силу сжатия одной пружины при предварительной деформации вычисляют как и для кулачковой муфты. Часть хода пружины, на которой крутящий момент не превышает момент предохранения,
h = (1 - sinb) dш/2
Часть хода пружины, на которой крутящий момент не передается на вал.
Н3-Н2=(d-dcosβ)/2tgβ
Диаметр лунки в ступице колеса под шарик принимаем d св = 0,7dш . Далее расчет пружины ведется так же, как и для кулачковой муфты. Зазор S1 выбирается в пределах 0,5…0,6 dш мм.
2.7.Предохранительная фрикционная муфта (рис.2.10)
На валу 1 по подвижной посадке посажено зубчатое колесо 2, в удлиненной ступице которого имеются пазы (от двух до четырех). В эти пазы входят соответствующие выступы на наружном диаметре фрикционных дисков 4. Внутренний диаметр дисков 4 гладкий и соответствует посадочному диаметру вала 1, боковые поверхности покрыты металлокерамикой (см. рис.2.11а). Между дисками 4 находятся фрикционные диски 3, имеющие четыре выступа на внутреннем диаметре и гладкий наружный диаметр, соответствующий внутреннему диаметру расточки в ступице. Выступы дисков 3 входят в пазы на валу 1 и обеспечивают сцепление дисков с валом. Боковые поверхности дисков 3 гладкие рис.2.11б). Все эти диски являются телами трения, через которые передается момент с колеса на вал. Силу прижатия между дисками создают пружины 5, расположенные в барабане 6 и обойме 10. Барабан 6 и обойма 10, так же как и диски, имеют выступы, которые входят в пазы на валу и предохраняют детали от проворачивания (размеры выбирают как для шлицевых прямобочных соединений по ГОСТ 1138–59). Вместо выступов на внутреннем диаметре барабана, обоймы и дисков 4 можно сделать шпоночные пазы по ГОСТ 23360–78, а в соответствующие шпоночные канавки вала поместить призматические шпонки. Шайба 9 упирается в буртик на валу 1, способствует равномерному распределению сил давления между дисками и предохраняет их от деформации. Гайка 7 служит для регулировки по моменту предохранения Mпр муфты, а шайба 8 предохраняет от самоотвинчивания. Гайка по ГОСТ 118771–80, шайбу по ГОСТ 118872–80.
При номинальном моменте на колесе он через пазы ступицы колеса передается на диски 4, с них через силы трения на диски 3 и с них – на вал 1. При перегрузке диски начинают проскальзывать, и поломки механизма не происходит.
По условиям работы на диски фрикционной муфты не должна попадать смазка, так как она может уменьшить коэффициент трения в 10 раз. Не рекомендуется увеличивать наружный диаметр дисков более 55 мм из-за возникающей большой разницы скоростей скольжения на дисках муфты и трудностей, связанных с равномерным распределением давления по трущимся поверхностям.
Проектирование муфты проводит по следующей схеме. После расчета диаметра вала d1 на прочность выбирают наружный диаметр фрикционных дисков. Обычно DH = (3…6)d1. DH приводят к значению, выбранному по ГОСТ 6636–69. Внутренний диаметр дисков d берут по диаметру вала d1 с учетом ступенчатой конструкции вала.
Число пар поверхностей трения
z = 8Мпр/p(D2Н - d2вн)Dср[p]fо,,
где Мпр – момент предохранения;
Dср=(DН + d1)/2;
[p] –допускаемое давление на трущихся поверхностях; fо – коэффициент трения покоя (0,3...0,8).
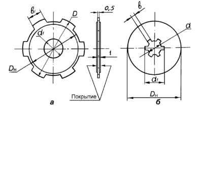
Диски с выступами – шлицами на наружном диаметре (рис.2.11 а) изготавливают обычно из стали толщиной 0,5…1 мм с нанесением на трущиеся
Рис. 2.10.Фрикционная предохранительная муфта
Рис. 2.11. Фрикционные диски
поверхности металлокерамики, а диски с пазами (рис.2.11.б) для зацепления со шлицами на валу – из закаленной стали такой же толщины без покрытия. Если по расчетам число поверхностей трения получается меньше единицы, то берут диски только из стали, уменьшают габаритные размеры муфты и ведут новый расчет. Больше восьми дисков брать не рекомендуется. Чтобы уменьшить число дисков, нужно или увеличить габаритные размеры муфты, или применить материалы с более высокими fo и [p]. Рекомендуемые материалы и их механические характеристики приведены в таблице № 2.3
















