муфты (1070013), страница 6
Текст из файла (страница 6)
Механические свойства материалов для поверхностей трения
Табл. № 2.3
| Материал фрикционной пары | Условия работы | Коэффициент трения, fо | Допустимое давление [p], МПа | Рабочая темпера- тура, 0С |
| Сталь–сталь | Со смазкой | 0,08 | 0,6…0,8 | 250 |
| Сталь–бронза | 0,05 | 0,4 | 150 | |
| Сталь–текстолит | 0,1 | 0,5…0,6 | 100 | |
| Сталь–асбест | Без смазки | 0,3 | 0,25…0,3 | 250 |
| Сталь–металлокерамика | 0,8 | 0,3 | 550 | |
| Сталь-металлокерамика | Со смазкой | 0,4 | 0,4 | 550 |
Силу сжатия пружин определят по формуле
Pпр= 2Mпр/ DсрZ fо.
Диаметр расположения центров гнезд под пружины
Do = [(DH + d1)/2] + (2...4) мм .
Количество пружин
m =pDo/(dотв +
); dотв = Dп+ 2 ·
.
Зазор
берут порядка 0,3...0,7 мм. Ход пружины здесь не является определяющей величиной, практически он равен нулю. Также пружину можно выбрать из табл. 2.2, задаться числом рабочих витков (4…12) и провести расчет как для кулачковой муфты. При этом следует принять силу пружины при срабатывании муфты равной Р2.
На рис. 2.12. приведена конструкция фрикционной предохранительной муфты, предназначенной для работы при малых передаваемых моментах.
Рис.2.12. Фрикционная предохранительная муфта на небольшие моменты.
Нормальная сила Q в такой конструкции создается пружиной и приравнивается силе Р2. Рекомендуется выбирать следующие соотношения размеров:
D1/D2= 0.6…0.8; b/Rср=0,2…0,5; Rср=(D1+D2)/2
Момент предохранения вычисляется по выражению
Коэффициент трения f выбирается из таблицы 2.3. Пружину подбирают по таблице 2.2. Нагрузочная способность определяется допускаемым значением удельного давления p.
На рис 2.13. представлена конструкция малогабаритной фрикционной предохранительной муфты. Поверхности трения в ней образуются обеими торцевыми поверхностями ступицы зубчатого колеса, выступов на валике и специальной шайбой со стопорным выступом на внутреннем диаметре.
Рис.2.13. Малогабаритная фрикционная предохранительная муфта.
Расчет ведется по двум приведенным выше формулам с учетом того, что в передаче момента участвуют две поверхности трения:
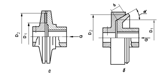
На рис. 2.13 представлены конструкции двух предохранительных муфт.
Рис.2.14. Конструктивные особенности фрикционных предохранительных муфт
Отличительной особенностью муфты, представленной на рис. 2.14а от рис. 2.12 и 2.13 приведённых является наличие специальной вставки в левой полумуфте. Материал этой вставки при контакте с материалом правой полумуфты обычно имеет более высокий коэффициет трения и более высокое допустимое давление p. На рис.2.14б представлена конструкция фрикционной конической предохранительной муфты. Основными преимуществами этой муфты являются: меньшая сила прижатия; большая надежность при меньшем износе трущихся поверхностей и меньшие габаритные размеры при передаче одинаковых крутящих моментов аналогичных конструкций других типов муфт. Максимальный крутящий момент, передоваемый конусной фрикционной муфтой
Мmax=QRf/sina=2pR2b[p]f/sina.
Задаваясь средним радиусом Rср=(D1+D2)/2, можно определить ширину поверхности трения;
b= Мпрsina/Rсрf.
Принимают, что b/Rср³0,3…0,5.
Осевая составляющая силы прижатия дисков конусной муфты
Q= М прsina/Rсрf.
2.4. Расчет пружин. Расчет пружины сжатия можно выполнить
самостоятельно, используя технические свойства материалов (см. табл.1.4) и конструктивные размеры рис. 2.15. Для начала выбирают исходные данные из условий работы и применения: рабочее перемещение h (для фрикционной муфты h=0) мм; наибольшую рабочую нагрузку Р2, наружный диметр Dн, мм.
В соответствии с требованиями, предъявляемыми к пружине и режимам
Рис.2.15.Основные размеры и характеристика пружины
нагрузки, выбирают материал и определяют допустимые напряжения кручения [τ]т МПа, модуль упругости первого рода Е и, соответственно, модуль упругости второго рода (сдвига) G. Модули G и E связаны зависимостью
где ν – коэффициент Пуассона (для стальной проволоки можно принять G≈0.384E).
Диаметр проволоки определяют из условий прочности
Величина
определяется по следующей приближённой зависимости:
где – С – индекс пружины: С=D0/d.
При d≤0,5; С=8…16, а при d>0,5 С=6…10.
Далее можно определить осевую податливость одного витка λ – осадка при действии силы в 1 Н:
В муфту пружину устанавливают с предварительной деформацией (сжатием) с усилием Р1, длина ее в этом положении:
Длина пружины при действии наибольшей рабочей нагрузки P2:
H2=H0 – λ2 .
где λ 2= λ 1+h.
Если ход пружины задан в виде перемещения подвижных частей муфты, то необходимое число витков:
n=h/λ(P2-P1).
Полное число витков:
n1=n+(1.5…2.0).
Дополнительные 1,5…2,0 витка идут на поджатие для создания опорных поверхностей пружины.
Шаг пружины находится в зависимости от наибольшей осадки пружины,
t=d + (1,1…1,2) Н3 /n.
Длина проволоки, необходимой для изготовления пружины, L≈3,2D0n (угол подъёма витка ненагруженной пружины α должен быть не более 60…90).
Список рекомендуемой литературы
1. Элементы приборных устройств (Основной курс): Учеб. Пособие для студентов вузов: В 2 ч. Ч.1: Детали, соединения и передачи / О.Ф.Тищенко, Л.Т.Киселёв, А.П.Коваленко и др.; Под ред. О.Ф. Тищенко. М.: Высш. шк., 1982. 304 с.
2. Элементы приборных устройств (Основной курс): Учеб. пособие для студентов вузов: В 2 ч. Ч.2: Приводы, преобразователи, исполнительные устройства / О.Ф.Тищенко, Л.Т. Киселёв, А.П. Коваленко и др.; Под ред. О.Ф. Тищенко. М.: Высш. Шк., 1982. 263 с.
3. Элементы приборных устройств: Курсовое проектирование: Учеб. пособие для студентов вузов. В 2-х ч. Ч. 1: Расчеты/ Н.П. Нестерова, А.П. Коваленко , О.Ф.Тищенко и др.; Под ред. О.Ф. Тищенко. М.: Высш. шк., 1978. 328 с.
4. Справочник конструктора точного приборостроения/ Г.А. Веркович, Е.Н. Головенкин, В.А. Голубков и др.; Под общ. ред. К.Н. Явленского, Б.П. Тимофеева, Е.Е. Чаадаевой. Л.: Машиностроение. Ленингр. отд-ние, 1989. 789 с.
5. Анурьев В.И. Справочник конструктора–машиностроителя. В 3-х т. 5 изд., перераб. и доп. М.: Машиностроение, 1979. 559 с.
6. Ванторин В.Д. Механизмы приборных и вычислительных систем: Учеб. пособие для приборостроит. спец. Вузов.– М.: Высш. шк.,1985. 416 с.
7. Иоселевич Г.Б., Строганов Г.Б., Масло Г.С. Прикладная механика: Учеб. для вузов /Под ред. Г. Б. Иосилевича. М.: Высш. шк., 1989. 351 с.
8. Расчет и конструирование механизмов приборов и установок.: Учебное пособие для инженерно – физических и приборостроительных специальностей вузов /Ю.В. Милосердин, Б.Д. Семенов, Ю.А. Кречко. 2-е изд. перераб. и доп. – М.: Машиностроение, 1985. 408 с.
Оглавление
-
Соединительные муфты………………………………………..
-
Втулочная муфта ……………………………………………
-
Пальцевая (поводковая) муфта …………………………….
-
Эластичная пальцевая муфта ………………………………
-
Упругая муфта с винтовыми пружинами …………………
-
Муфта с гибким элементом ………………………………..
-
Крестовая муфта ……………………………………………
-
Предохранительные муфты …………………………………….
-
Место установки предохранительной муфты……………..
-
Предохранительные муфты с разрушаемым элементом….
-
Самоуправляемые предохранительные муфты……………
-
Расчет пружин……………………………………………….
Список рекомендуемой литературы……………………………….
















