Электронные лекции (1065045), страница 6
Файл №1065045 Электронные лекции (Электронные лекции) 6 страницаЭлектронные лекции (1065045) страница 62017-12-282017-12-28СтудИзба
Просмтор этого файла доступен только зарегистрированным пользователям. Но у нас супер быстрая регистрация: достаточно только электронной почты!
Текст из файла (страница 6)
В основе лежат тригеры (двоичный элемент)
У
словное обозначение регистра
Демифратор (декодер)-устройство, предназначенное для раскодирования различных кодовых комбинаций
Условное обозначение
| № | х4 | х3 | х2 | х1 | y9 | y8 | y7 | y6 | y5 | y4 | y3 | y2 | y1 | y0 |
| 0 | 0 | 0 | 0 | 0 | 0 | 0 | 0 | 0 | 0 | 0 | 0 | 0 | 0 | 1 |
| 1 | 0 | 0 | 0 | 1 | 0 | 0 | 0 | 0 | 0 | 0 | 0 | 0 | 1 | 0 |
| 2 | 0 | 0 | 1 | 0 | 0 | 0 | 0 | 0 | 0 | 0 | 1 | 0 | 0 | |
| 3 | 0 | 0 | 1 | 1 | 0 | 0 | 0 | 0 | 0 | 0 | 1 | 0 | 0 | 0 |
| 4 | 0 | 1 | 0 | 0 | 0 | 0 | 0 | 0 | 0 | 1 | 0 | 0 | 0 | 0 |
| 5 | 0 | 1 | 0 | 1 | 0 | 0 | 0 | 0 | 1 | 0 | 0 | 0 | 0 | 0 |
| 6 | 0 | 1 | 1 | 0 | 0 | 0 | 0 | 1 | 0 | 0 | 0 | 0 | 0 | 0 |
| 7 | 0 | 1 | 1 | 1 | 0 | 0 | 1 | 0 | 0 | 0 | 0 | 0 | 0 | 0 |
| 8 | 1 | 0 | 0 | 0 | 0 | 1 | 0 | 0 | 0 | 0 | 0 | 0 | 0 | 0 |
| 9 | 1 | 0 | 0 | 1 | 1 | 0 | 0 | 0 | 0 | 0 | 0 | 0 | 0 | 0 |
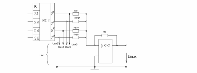
ЦАП(цифрово-аналоговый преобразователь)
Ц
АП-устройство для преобразования цифрового кода в аналоговый сигнал
K=Uвых/Uвх
Uвых=-Uоп(K1+K2+K3+K4)
-
Шаг квантования, =1 для Uвых=15 В, погрешность 0,5 В
АЦП(аналогово-цифровой преобразователь)
А
ЦП-устройство для преобразования аналогового сигнала в цифровой код(двоичный)
Б
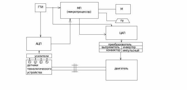
лок-схема управления электродом(практическая)
Характеристики
Тип файла
Документ
Размер
13,74 Mb
Материал
Тип материала
Предмет
Высшее учебное заведение
















