Проект произодства работ по реконструкции вп трубы на км 94 пк 1 ДВЖД (1052823), страница 6
Текст из файла (страница 6)
- поднять и установить первый шнек и шпиндель, проверить надежность соединения стрелы со шнеком, откопать приямок в месте расположения скважины и опустить вращатель [5]:
В начале бурения скважины проводятся следующие операции: забуривание первого шнека на малых оборотах вращателя с целью предотвращения искривления скважины (отклонения ее от вертикали); после погружения первого шнека в грунт остановить вращение шнековой колонны.
Для продолжения бурения скважины поднять вращатель на высоту шнека (1,75 м), установить очередной шнек на хвостовик шнековой колонны, соединить шнеки между собой запорным пальцем, обязательно застопорив его фиксатором, а затем, для соединения головки шпинделя вращателя с хвостовиком шнека, вручную опустить вращатель и повернуть шпиндельную головку.
Включить вращатель и продолжить бурение на 2-й - 3-й скорости, отбрасывая при этом грунт, подаваемый шнековой колонной, из устья скважины.
После достижения глубины скважины, соответствующей проекту, бурение прекратить.
Направляющие скважина не менее 1/4 и от длины балки (СНиП III-Б.6-62*).
Направляющие скважина не более 90 % и от длины балки (СНиП III-Б.6-62*).
Диаметр скважины для установки свай в пробуренные скважины назначается на 5 см больше наибольшего поперечного размера свай (СНиП III-Б.6-62*).
В соответствии с рекомендациями выбран шнек диаметром 450 мм длиной 1750 мм и удлинитель шнека длинной 1000 мм. (глубина направляющей скважины ¼ от 10 м = 2,5 м)
Перед погружением стальных двутавровых балок необходимо проверить наличие их заводских паспортов и соответствие размеров, указанных в паспорте.
Проверка заводских маркировок на сваях их действительным размерам [5]:
В случае отсутствия разметки свай по длине: произвести разметку свай по длине снизу вверх.
Необходимо провести техническое освидетельствование сваебойного оборудования (вибропогружатель ВП-16.60 + кран KATO NK 750), проверить комплектность стропов, приспособлений, а результаты освидетельствования записать в журнале производства работ.
При подъеме балку удерживать от раскачивания и кручения с помощью расчалок.
Перед началом работ по погружению балок последние расположить таким образом, чтобы они находились в радиусе действия сваебойной установки и не мешали ее передвижению.
Крепление вибропогружателя к сваям должно быть жестким. В процессе погружения должны производиться систематическая проверка болтовых соединений и подтяжка болтов. Ось вибропогружателя должна совпадать с осью погружаемого элемента.
Питание электродвигателя вибропогружателя должно быть от самостоятельной сети, не имеющей нагрузок[5]:
Выбор источника питания вибропогружателя должен производиться с учетом перегрузки его электродвигателей на 30-35%.
Грузоподъемность и высота подъема крюка крана, применяемого при погружении шпунта и свай, должны обеспечивать возможность подъема и установки сваи на месте погружения вместе с закрепленным вибропогружателем.
В процессе погружения трос подвески вибропогружателя не должен быть натянут и крюк крана, на котором подвешен вибропогружатель, по мере погружения свай должен опускаться плавно с той же скоростью, с которой погружается свая
В процессе вибропогружения свай, шпунта и оболочек надлежит вести контроль за нормальным режимом вибропогружения. Контроль режима вибропогружения оболочек должен производиться с помощью фиксатора порога замедления.
При отсутствии специальных приборов разрешается контролировать режим погружения по скорости вибропогружения и амплитуде колебания погружаемой сваи.
В случае резкого снижения скорости погружения или значительного увеличения амплитуды колебаний вибропогружение должно быть приостановлено до выявления причин.
При вибропогружении свай надлежит вести журнал вибропогружения.
2.7.1.2 Земляные работы
Разработку котлована производить экскаватором с погрузкой грунта в автосамосвалы и вывозкой с территории строительной площадки.
Габариты котлована см. Рабочий чертеж 1.
Рабочая кубатура для разработки = 671 м3.
В качестве ведущей машины при разработке котлованов принимаем одноковшовый экскаватор ЭО 4221.
Проверка соответствия землеройной техники необходимым требованиям под заданный котлован [17]:
Производительность экскаватора:
П=Птех*tсмены (2.7.1)
где, Птех – заявленная техническая производительность ЭО 4221 = 87 м3/ч, tсмены – продолжительность рабочей смены = 8ч;
П=87*8 = 696 м3 (2.7.1)
696 м3>671 м3 (2.7.1)
Способ разработки грунта – лобовая проходка. Для лобовой проходки B – максимальная ширина разработки равна:
(2.7.2)
Где, R0 – оптимальны радиус резания экскаватора = 9,2 м, lп - длина рабочей передвижки экскаватора = 6м.
B= 2*
=14 м. (2.7.2)
14м = 14 м (2.7.2)
Вывод: Технические характеристики Экскаватора ЭО 4221 удовлетворяют требованиям для разработки данного котлована.
Рисунок 26 , Схема определения проходки экскаватора.
Число автомобилей N, необходимых для бесперебойной работы землеройной машины, определяется по формуле:
N=
(2.7.3)
где, Туп =0,3 – продолжительность установки под погрузку,мин; Тпр- продолжительность пробега автомобиля от места погрузки до места разгрузки и обратно, мин; Тн – продолжительность нагрузки, Тур =0,6 мин – продолжительность установки под разгрузку[17]:
Тпр =2L/V (2.7.4)
где, L – расстояние транспортировки = 2 км, V – средняя скорость движения автомобиля = 22 км/ч.
Продолжительность нагрузки автосамосвала определяется по формуле:
Тн = Тц*nк (2.7.5)
где, nк – число ковшей грунта погружаемых в кузов автомобиля, Тц –продолжительность цикла для ЭО -4221 при лобовой проходке = 18 сек = 0,3 мин.
nk= Q/(ϒ*q*kn) (2.7.6)
где, Q –грузоподъемность машины =10т , ϒ – плотность грунта =1,8 т/м3, q – объем ковша = 0,65 м3, kn – коэффициент наполнения =0,8;
nk= 10/(1,8*0,65*0,8)= 10.68 =11 ковшей. (2.7.6)
Тн = 0,3*11= 3,3 мин. (2.7.5)
Тпр =2*2/22=0,18 мин. (2.7.4)
N=
=1,38=2 самосвала. (2.7.3)
В качестве самосвалов примем автосамосвал МАЗ-5551А2-320 грузоподъемностью 10т.
2.7.1.3 Устройство забирки
Устройство забирки выполняют послойно снизу вверх, по мере разработки грунта слоями по 1000 и 500 мм снизу вверх.
Для установки доски за полки двутавровых балок устраивают штрабу высотой равной ширине доски - 200 мм. Штрабу выбирают разной глубины: 60 мм у одного края и 100 мм у другого, как показано на рисунке 6.
Доску забирки вставляют в штрабу. заводят за полки двутавровых балок и устанавливают в проектное положение.
Рисунок 26, схема установки досок забирки, цифрами показан порядок установки досок.
2.7.2 Основные этапы строительного процесса
Приемы организации труда по этапам должны предусматривать выполнение производственных операций в технологической последовательности, приведенной ниже.
2.7.2.1 Бурение направляющих скважин
Монтажник конструкции откопывает приямок в месте расположения скважины машинист опускает шнек Производится бурение на длину шнека. Извлечение шнека из скважины. Установка удлинителя шнека. Бурение до проектной отметки скважины. В процессе бурение производить отбрасывание грунта подаваемый шнековой колонной, из устья скважины.( §Е12-68 Бурение скважин установками СО)
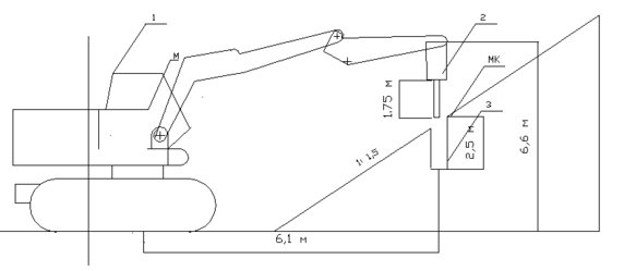
Рисунок 27, Схема работы ЭО 4221 с гидробуром Delta RD-20, где 1 – ЭО 4221, 2 – гидробур Delta RD-20, 3 – направляющая скважина, М – машинист 5 разряда, МК – монтажник конструкций 4 разряда.
2.7.2.2 Погружение балок
Рисунок 28, Схема работы при вибропогружении балок, где, 1 – кран, 2 - вибропогружатель, 3 – дизельный приводной агрегат,4 – силовые провода 5 – погружаемая свая, 6 – погруженный сваи, М – рабочее место машиниста крана, К1,К2, – рабочие места копровщиков, О - рабочеее место оператора дизельного приводного агрегата(копровщик 5 разряда), R = 18 м.
Разгрузку и складирование свай осуществляют при помощи крана. Сваи длиной до 10 м разрешается поднимать без траверсы.
Рисунок 29, Четырехветвевые стропы для строповки одновременно двух свай; 1 - скоба грузоподъемностью до 8 Т; 2 - строп; 3 – крюк.
По команде бригадира или звеньевого (копровщик 5 разр.), копровщики 4 и 3 разр. зацепляют вибропогружатель подвеской к предохранительному стропу, который подвешивают к крюку крана (крюк должен иметь запорное устройство, предохраняющее строп от самопроизвольного снятия с крюка). Копровщики подвешивают электрокабель вибропогружателя к стреле крана таким образом, чтобы кабель не мешал подъему и спуску крюка и повороту крана;
Звеньевой осматривает сваю шли шпунтину, двое других копровщиков укладывают ее с помощью крана на подкладку в положение, удобное для крепления к вибропогружателю;
Машинист крана перемещает стрелу с крюком так, чтобы наголовник вибропогружателя был подведен к подготовленной свае. Копровщики 4 и 3 разр. скрепляют вибропогружатель со сваей и привязывают к нижнему концу сваи два пеньковых каната-оттяжки;
По сигналу звеньевого машинист крана поднимает вибропогружатель со сваей, поворотом стрелы переносит их к месту погружения и устанавливает в направляющие скважины. Двое других копровщиков оттяжками удерживают сваю от раскачивания и разворачивают в требуемое положение;
Оператор дизельного агрегата включает вибропогружатель и машинист крана плавно опуская крюк, начинает погружение сваи, при этом звеньевой строго следит за тем, чтобы скорость опускания крюка не превышала скорости заглубления сваи, т.е. чтобы вибропогружатель со сваей висели на крюке. Последние 2-3 м свая должна погружаться в грунт при ослабленном несущем тросе крана;
После погружения сваи до заданной отметки копровщики освобождают наголовник вибропогружателя от сваи и машинист крана переносит вибропогружатель к следующей свае.
2.7.2.3 Разборка существующих элементов трубы
После погружения свай необходимо произвести разборку кордона из блоков ФБС и откосных стенок существующей трубы.. Разборка фундамента под откосные крылья производится после разработки котлована ЭО 4221 до отметок низа фундамента откосных стенок. Разборка монолитного лотка трубы производится с использование отбойного молотка EH 22. Питание отбойного молотка производится от дизельного генератора АД-100-Т400 [4].
2.7.2.4 Разработка грунта котлована
Разработка грунта производится слоями по 1000 мм и 500 мм сверху вниз.
Разработка грунта котлована экскаватором производится на отметку превышающую проектную отметку на 100мм для возможности дальнейшей чистовой доработки дна котлована.
Рисунок 30, Схема работы ЭО 4221 с погрузкой грунта в автосамосвалы.
Зачистку дна выемки и доработку грунта до проектной отметки производят вручную. Доработанный грунт смещается в сторону экскаватора с последующей погрузкой его в автосамосвалы [17].
Автомобили-самосвалы под погрузку подают задним ходом и устанавливают на расстоянии не менее 1 м от бровки траншеи с таким расчетом, чтобы угол поворота экскаватора не превышал 70°, а расстояние между поворотной частью экскаватора и борта машины не было менее 1,0м (см. рис. 30).
2.7.2.5 Устройство забирки















