Проект капремонта путепровода на 6 км ПК 7 железнодорожной ветки Нерюнгри-НГРЭС (1052268), страница 4
Текст из файла (страница 4)
Продолжение таблицы 1.6
| 1 | 2 | 3 | 4 | 5 | 6 | 7 | 8 | 9 | 10 | 11 |
| Опорные части | ||||||||||
| 2420 | Трещины (выколы) в опорных плитах | Трещины шириной более 5 мм, выколы из под опорных частей | 2 | 2 | 1 | 1 | 2 | II | 2.3 | Неудовлетворительное |
| 2470 | Слабые или частично отсутствующие анкерные болты опорных частей | Не затянуты гайки на 17 болтах | 2 | 2 |
|
| 1 | II | ||
| Тело опоры | ||||||||||
| 2550 | Раковины и сколы | Оказывает существенное влияние на несущую способность | 3 | 3 | 3 | 3 | 3 | III | 2.5 | Удовлетворительное |
| Укрепления | ||||||||||
| 3620 | Просадка укрепления | Массовая | 1 | 1 | 2 |
| 2 | I | 4.45 | Хорошее |
| 3640 | Растительность в швах между элементами мощения | Пророст травы в швах | 1 |
| 1 |
| 1 | I | ||
1.4.3 Вывод
По результатам таблицы можно отметить неудовлетворительное состояние стыков железобетонных плит балластного корыта и опорных частей. В остальных случаях состояние дефектных элементов удовлетворительное и хорошее. Необходимо произвести расчеты грузоподъемности пролетного строения и дефектной опоры. Разработать варианты ремонта, усиления или замены дефектных элементов.
2. РАСЧЕТ ГРУЗОПОДЪЕМНОСТИ ЭЛЕМЕНТОВ ПУТЕПРОВОДА
2.1 Расчет грузоподъемности пролетного строения
Геометрические характеристик сечения определяются по схеме, приведенной в таблице 2.1 и на рисунке 2.1.
Таблица 2.1 – Определение геометрических характеристик объединенного сечения
| Элемент балки | Сечение элемента, м | Площадь А, м2 | Расстояние от центра тяжести элемента до низа балки Zaa, м | Статический момент элемента балки относительно низа балки Saa, м3 | Момент инерции элемента балки относительно низа балки Iaa, м4 | Собственный момент инерции элемента Ico, м4 | ||||||
| Железобетонная плита | ||||||||||||
| I | BI | HI | AI =(BI * HI)/nb | ZaaI | SaaI=AI*ZaaI | IaaI=SaaI*ZaaI | IcoI=BI*(HI)3/12 | |||||
| II | BII | HII | AII =(BII * HII)/nb | ZaaII | SaaII=AII*ZaaII | IaaII=SaaII*ZaaII | IcoII=BII*(HII)3/12 | |||||
| III | BIII | HIII | AIII=(BIII*HIII)/nb | ZaaIII | SaaIII=AIII*ZaaIII | IaaIII=SaaIII*ZaaIII | IcoIII=BIII*(HIII)3/12 | |||||
| арматура | – | – | Ar | ZaaIV | SaaIV=AIV*ZaaIV | IaaIV=SaaIV*ZaaIV | – | |||||
| Итого по ж.б. плите | – | – | Ab=AI+AII+AIII+ +Ar | – | Sb,aa=∑Sb,aa i | Ib,aa=∑Ib,aa i | Ib,co=∑Ib,co i | |||||
| Стальная балка | ||||||||||||
| V (ВГЛ) | BV | HV | AV=BV * HV | ZaaV | AV* ZaaV | SaaV * ZaaV | BV * (HV)3/12 | |||||
| VI (ВЛ) | BVI | HVI | AVII=BVII * HVII | ZaaVI | AVI* ZaaVI | SaaVI * ZaaVI | BVI* (HVI)3/12 | |||||
| VII (НГЛ1) | BVII | HVII | AVII=BVII * HVII | ZaaVII | AVII* ZaaVII | SaaVII * ZaaVII | BVII*(HVII)3/12 | |||||
| VIII (НГЛ2) | BVIII | HVIII | AVIII=BVII * HVII | ZaaVIII | AVIII* ZaaVIII | SaaVIII * ZaaVIII | BVIII*(HVIII)3/12 | |||||
| Итого по стальной балке | – | – | As=AV+AVI+AVII+AVIII | – | Ss,aa=∑Ss,aa i | Is,aa=∑Is,aa i | Is,co=∑Is,co i | |||||
| Итого по стжб | Astb= Ab+ As | – | Sstb,aa= Sb,aa+Ss,aa | Istb,aa= Ib,aa+Is,aa | Istb,co = Ib,co +Is,co | |||||||
Рисунок 2.1 – Схема к определению геометрических характеристик
Расчетная ширина железобетонной плиты ВI, учитываемой в расчете, определяется согласно п.5.15 СНиП 2.05.03-84* [1]. Для пролетных строений, изготовленных по типовому проекту №739, эта величина равняется расстоянию от конца наружной консоли до середины пролета плиты между стальными балками.
Железобетонная плита балластного корыта из-за дефектов швов выключена из работы сталежелезобетонного пролетного строения. Определение класса грузоподъемности сталежелезобетонного пролетного строение определяется путем определения грузоподъемности стальной балки пролетного строения. Балластные железобетонные плиты будут оказывать постоянную нагрузку в сумме с весом металла стальной балки и весом мостового полотна.
Характеристики пролетного строения принятые к дальнейшему расчету:
-
Полная длина пролетного строения – 23.6 м
-
Расчетная длина пролетного строения – 23.3 м
-
Год установки пролетного строения – 1979
-
Нормы проектирования – С14
-
Материал пролетного строения – 10ХСНД
-
Вид соединений – сварной шов
-
Вид мостового полотна – балласт
-
Обращающаяся или перспективная нагрузка – II категории
Выбор и определение состава сечений главной балки
Рисунок 2.2 – Схема главной балки пролетного строения
Расчетные сечения главной балки
1) середине балкиI-I
2) В четверти пролета II-II
3) Опорное сечение III-III
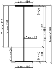
Схема к определению геометрических характеристик сечения I-I представлена на рис. 2.3
Рисунок 2.3 – Схема к определению геометрических характеристик
Схема к определению геометрических характеристик сечения II-II и III-III представлена на рис. 2.4
Рисунок 2.4 – Схема к определению геометрических характеристик сечений II-II и III-III
Результаты определения геометрических параметров расчетных сечений сведены в таблицу 2.2.
Таблица 2.2
Определение геометрических параметров расчетных сечений
| № сеч. | Расчетное сечение | Состав сечения, мм | Площадь поперечного сечения, F, м2 | Момент инерции поперечного сеченияI0, м4 | ymax, м | Момент сопротивления, | Момент сопротивления с ослаблением,W0, м3 |
| I-I |
| ГЛ 480x20 | 0,0096 | 0,011658 | 1.112 | 0.017294 | 0.017294 |
| ВЛ 1480x12 | 0,01776 | 0,003241 | |||||
| ГЛ 650x40 | 0,026 | 0,004331 | |||||
| Итого | 0,05336 | 0,019231 | |||||
| II-II, III-III |
| ГЛ 480x20 | 0,0096 | 0,011658 | 1.112 | 0.01627 | 0.01627 |
| ВЛ 1480x12 | 0,01776 | 0,003241 | |||||
| ГЛ 480x40 | 0,0192 | 0,003198 | |||||
| Итого | 0,04656 | 0,018099 | |||||
Расчет грузоподъемности пролетного строения выполняется по нормальным напряжениям в сечениях в середине и четверти пролета, по касательным напряжениям в опорном сечении, по выносливости.
, м3













