Едигарян Л. А. (1052096), страница 9
Текст из файла (страница 9)
Таблица 2.5 – Технико-экономические показатели
| Показатель | Ед.изм. | Вариант трассы | |
| первый | второй | ||
| Длина перегона | км | 21,643 | 21,624 |
| Минимальный радиус круговых кривых | м | 700 | 600 |
| Сумма углов поворота на единицу длины трассы | градус/км | 45 | 57 |
| Относительная протяженность кривых | % | 66 | 76 |
| Относительная протяженность земляного полотна: | |||
| - сохраняемого | % | 7 | 7 |
| - требующего реконструкции | % | 16 | 25 |
| - новых насыпей и выемок | % | 77 | 68 |
Окончание таблицы 2.5
| Показатель | Ед.изм. | Вариант трассы | |
| первый | второй | ||
| Доля малых водопропускных сооружений: | |||
| - сохраняемых | % | 0 | 0 |
| - требующих реконструкции | % | 0 | 16,6 |
| - новых железобетонных мостов | % | 100 | 83,4 |
| Объемы земляных работ: | |||
| - суммарные | тыс.м3 | 647,236 | 647,281 |
| - средние на километр | тыс.м3 | 105,464 | 104,164 |
| Капитальные вложения: | |||
| - суммарные | млн. руб | 8906,540 | 8366,544 |
| - средние на километр | млн. руб | 411,52 | 386,91 |
| Допускаемая скорость движения в кривых (минимальная): | |||
| - для грузовых поездов | км/ч | 90 | 90 |
| - для пассажирских поездов | км/ч | 120 | 110 |
| Время хода пары поездов: | |||
| - грузовых | мин | 14,9+15,2 | 15,0+15,2 |
| - пассажирских | мин | 11,8+12,1 | 12,6+12,8 |
| Средняя ходовая скорость: | |||
| - для грузовых поездов | км/ч | 86,3 | 85,9 |
| - для пассажирских поездов | км/ч | 108,7 | 102,2 |
| Эксплуатационные расходы на десятый год расчетного периода: | |||
| - суммарные | млн.руб/год | 1410,621 | 1447,411 |
| -средние на тонно-километр | руб/т-км | 0,343 | 0,352 |
| Норма рентабельности инвестиций | - | 0,1 | 0,1 |
| Суммарные приведенные затраты | млн. руб | 23012,75 | 22840,65 |
По экономическим критериям, оба варианта трассы практически равноценны, разница приведенных суммарных затрат составляет менее 1%. По техническим критериям рациональным является первый вариант трассы участка железной дороги и имеет следующие преимущества: меньшее время хода пары поездов, как грузовых, так и пассажирских, более высокая допускаемая скорость движения и более высокая средняя ходовая скорость движения, больший минимальный радиус кривых, меньший суммарный угол поворота и суммарная протяженность кривых.
3 ВИБРОДИНАМИЧЕСКОЕ ВОЗДЕЙСТВИЕ ПОДВИЖНОГО СОСТАВА НА ЭЛЕМЕНТЫ ТОННЕЛЯ ПРИ ЖЕСТКОМ ПОДРЕЛЬСОВОМ ОСНОВАНИИ
3.1 Необходимость изучения динамической работы рельсовых опор в тоннелях с безбалластным подрельсовым основанием
Необходимость в изучении динамического воздействия поездной нагрузки на тоннели возникла в середине 60-х годов прошлого века. Тогда приобрел актуальность вопрос о переходе от шпало-балластной конструкции подрельсового основания к безбалластной в самом протяженном в СССР восточнее урала Нижнем Амурском тоннеле. Опыта сооружения и эксплуатации такой конструкции пути в тоннелях на сети железных дорог СССР тогда не было. Использовавшийся в метрополитене путь в виде двухблочных шпал, замоноличенных в путевой бетон, не соответствовал значительно большим осевым нагрузкам и скоростям движения в тоннелях магистральных железных дорог. Предшествующий опыт эксплуатации такой конструкции пути на земляном полотне свидетельствовал о повышении динамического воздействия поездной нагрузки на основание пути. При замене шпало-балластного основания в тоннелях монолитным следовало ожидать еще более резкого повышения уровня динамики пути и всего тоннельного сооружения в целом.
Уже в те годы в ХабИИЖТе (ДВГУПС) был проведен комплекс исследований динамики системы «путь-обделка» в тоннелях при воздействии поездной нагрузки [18,19,31,45]. Он включал в себя следующие этапы:
1) Экспериментальные исследования упругих характеристик пути при шпало-балластной конструкции подрельсового основания в Нижнем Амурском тоннеле.
2) Натурные исследования колебаний пути и тоннельной обделки от одиночных ударов и воздействия поездной нагрузки.
3) Разработка на основе анализа результатов экспериментальных исследований динамической модели системы «путь-обделки» с различным конструкциями подрельсового основания.
4) Математическое моделирование динамики системы «путь-обделка» и прогнозирование на его основе влияния замены шпало-балластной конструкции подрельсового основания монолитной.
5) Изучение путем математического моделирования динамической работы рельсовых опор, формирующих необходимые упруго-динамические характеристики пути при монолитном (безбалластном) подрельсовом основании.
Исследования были проведены на участках тоннеля с различной конструкцией тоннельной обделки и различных грунтовых средах. Основным регистрируемым параметром реакции пути и обделки на воздействие ударов и поездной нагрузки являлись колебания.
Эксперименты выявили будущее противоречие, требующее вмешательства – данные свидетельствовали о высоких виброгасящих свойствах шпало-балластного подрельсового основания в исследуемой системе, но по условиям содержания пути эта конструкция подлежала замене на монолитную.
Исходя из выше сказанного, требуется внедрение конструкций пути, учитывающих повышенное вибродинамическое воздействие на безбалластном основании. Практическое внедрение прогрессивных конструкций безбалластного подрельсового основания в тоннелях на Дальнем Востоке стало осуществляться только в конце XX-го века. ДВГУПС продолжил исследования в этом направлении.
3.2 Зависимость сил взаимодействия пути и подвижного состава от жесткости пути
Жесткость пути существенно влияет на силы взаимодействия пути и подвижного состава, а также интенсивность накопления повреждений пути и подвижного состава. В расчетах пути на прочность используют одну из составляющих жесткости пути β – распределенную жесткость подрельсового основания U, названную модулем упругости. Значение модуля упругости U определяют экспериментальным путем по результатам измерений прогибов рельсов от известной нагрузки. С повышением жесткости пути возрастает нагрузка на шпалу. Происходит это за счет уменьшения расстояния Х, на протяжении которого рельс передает нагрузку, воспринимаемую от колес, на основание. В наше время на железных дорогах интенсивно внедряется конструкция пути на железобетонном подрельсовом основании. В связи с чем отмечается резкое увеличение жесткости пути. Отдельно обстоит ситуация с безбалластной конструкцией пути в тоннелях, поскольку укладка в тоннелях рельсового основания из железобетонных шпал или малогабаритных рам, замоноличенных в путевой бетон, исключает упругую деформацию, которую дает земляное полотно и балластный слой. В результате этого сокращаются сроки службы всех элементов пути, накапливаются износы и остаточные деформации, сокращаются межремонтные сроки для всех видов ремонта пути, увеличиваются затраты на текущее содержание.
При излишней жесткости пути, при движении по нему колес подвижного состава возникают недопустимо большие динамические силы. В связи с этим специалистами ставится вопрос об определении оптимальной упругости пути, исходя из оценки динамических характеристик современного подвижного состава и пути, наилучших экономических результатов.
В середине 2000-х годов исследовательская группа ДВГУПС проводила натурные эксперименты в четырех тоннелях:
1) Амурском;
2) Северо-Муйском;
3) Кипарисовском;
4) Тарманчуканском;
Одной из основных целей исследований была оценка жесткости подрельсового основания. Оценка жесткости производилась на основании измерения вертикальных деформаций при прохождении поездов, а также на основании измерений упругих прогибов рельсов при прохождении поездов.
3.3 Методика испытаний
Прогибы рельса регистрируются с помощью тензорезисторных датчиков перемещения (электропрогибомеров) типа ППТ-25 и ППТ-50 конструкции ЦНИИСК и лазерных деформометров конструкции ДВГУПС.
В комплект измерительной аппаратуры входили также 8 и 16 канальные цифровые тензостанции, портативный компьютер.
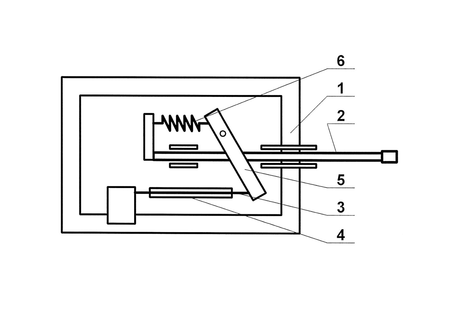
Рисунок 3.1 – Принципиальная схема регистрации прогибов рельса
Датчики ППТ-25 и ППТ-50 представляют собой прибор, преобразующий перемещения измерительного штока до 25 мм (50 мм для ППТ 50) в электрический сигнал с помощью тензорезисторной мостовой схемы, расположенной на упругом элементе датчика. Он состоит из корпуса, подвижного измерительного штока, консольной упругой балочки с укрепленными на ней тензорезисторами, кронштейном и пружинной связи, которая крепится одним концом к кронштейну, другим концом к консоли штока.
Основное достоинство этого датчика по сравнению с аналогичными датчиками консольного типа состоит в следующем. Форма кронштейна и точка крепления к нему пружины рассчитаны таким образом, что обеспечивают постоянство эксцентриситета приложения силы к упругому элементу (балочка), и соответственно линейность характеристики датчика во всем диапазоне измерения величины перемещения. Погрешность измерения и гистерезис измерительной характеристики датчиков ППТ-25 не превышает 1 %.
Рисунок 3.2 – Схема датчика прогибомера ППТ: 1 – корпус; 2 – измерительный шток; 3 – упругая консольная балка; 4 – тензорезистор; 5 – кронштейн; 6 – пружинная связь.
Коэффициент чувствительности измерительного канала от датчика определялся с помощью установки пластинок различной толщины между подошвой рельса и подвижным штоком в пределах от 0,5 до 20 мм.
















