Spinbox (1050959)
Текст из файла
CAD-FEM GmbH Official ANSYS, ADAMS, STAR-CD, LS-DYNA3D Distributor in CIS
Наименование продуктов, в которых данный пример может быть выполнен
DesignSpace 5.0
Автор: Олег Сергейкин,
студент 7-го курса МГТУ им. Баумана,
факультет МТ, кафедра МТ-1 («Металлорежущие станки»)
Тел.: (095) 371-1230
24 октября 2000 г.
Дисциплина
Прочность
Тип анализа
Линейный, статический
Демонстрируется
Использование DesignSpace для расчета силовых смещений корпусной детали сложной формы
Р
асчет силовых смещений корпуса шпиндельной бабки токарного станка
| Наименование продуктов, в которых данный пример может быть выполнен | DesignSpace 5.0 | Автор: Олег Сергейкин, студент 7-го курса МГТУ им. Баумана, факультет МТ, кафедра МТ-1 («Металлорежущие станки») Тел.: (095) 371-1230 24 октября 2000 г. |
| Дисциплина | Прочность | |
| Тип анализа | Линейный, статический | |
| Демонстрируется | Использование DesignSpace для расчета силовых смещений корпусной детали сложной формы | |
1. Описание конструкции шпиндельной бабки токарного станка 16К20
Шпиндельная бабка токарного станка 16К20 предназначена для базирования подшипников шпинделя, а также для передачи вращения от шкива ременной передачи на шпиндель.
Внутри шпиндельной бабки находятся несколько валов с зубчатыми колесами, передающими вращение от шкива ременной передачи на шпиндель. Переключение зубчатых колес обеспечивает регулирование частоты вращения шпинделя.
Шпиндель имеет две опоры – переднюю и заднюю. Передняя опора воспринимает как радиальную, так и осевую нагрузку. Задняя опора выполнена плавающей, она воспринимает только осевую нагрузку.
Корпус шпиндельной бабки имеет форму параллелепипеда. В корпусе расположены отверстия для опор шпинделя и промежуточных валов. Корпус крепится к станине болтами. Опорная поверхность корпуса состоит из 6 платиков.
2. Постановка задачи
Исходные данные
1) Форма детали:
При расчете используется упрощенная твердотельная модель корпуса шпиндельной бабки станка 16К20 (не учитываются отверстия под промежуточные валы, радиусы скруглений в сопряжениях стенок и т. п.).
Твердотельная модель находится в файле Spinbox.sat.
В данном документе не описывается процесс построения твердотельной модели. Для ее построения могут использоваться различные системы твердотельного моделирования (например, AutoCAD).
2) Материал детали: серый чугун
(Е=1.1*1011 Па, =0.28).
Рис. 1
3
) Схема нагружения:
Корпус нагружен силами, действующими на него со стороны шпинделя (реакции в опорах шпинделя). Значения этих реакций зависят от сил резания, действующих на заготовку, закрепленную в шпинделе.
Значения сил резания и реакций в опорах шпинделя рассчитаны исходя из реального технологического процесса (черновое точение, режимы резания: t = 3 мм, s = 1 мм/об, v = 150 м/мин, материал заготовки – сталь 45, материал резца – твердый сплав Т15К6).
В данном документе не приведен расчет сил резания и реакций в опорах шпинделя.
При расчете силовых смещений реакции в опорах шпинделя полагаются распределенными по поверхностям опор шпинделя (отверстия 150 и 130).
Рис. 2. Схема нагружения
4) Схема закрепления:
Корпус полагается закрепленным по всей своей опорной поверхности (на рис. 3 закрепленные точки выделены цветом).
Силовые смещения корпуса зависят от многих факторов (собственная жесткость корпуса, собственная жесткость станины, контактная жесткость соединения корпуса со станиной).
В данном документе приведен расчет только той составляющей, которая обусловлена собственными деформациями корпуса.
Требуется найти:
1) Силовые смещения (напряженно-деформированное состояние) корпуса шпиндельной бабки.
2) Силовые смещения опор шпинделя.
Рис. 3. Схема закрепления
3. Расчет силовых смещений корпуса шпиндельной бабки
Запускаем DesignSpace.
В главном меню выбираем Tools Stress Wizard. После этого появится окно DesignSpace Wizard.
Нажимаем Next.
Загружаем твердотельную модель корпуса.
Нажимаем Attach a Part or Assembly Attachment Attach выбираем файл Spinbox.sat.
В окне All parts dimensioned in: выбираем Millimeters OK.
После этого в окне CAD Geometry появится твердотельная модель корпуса.
Нажимаем Next.
Задаем материал корпуса.
Выделяем строку Part 1 в окне Object View (для этого нужно нажать над ней левую кнопку мыши).
Нажимаем Edit Part Properties Material Browse выбираем Gray_Cast_Iron (серый чугун) OK.
Указанный нами материал имеет те же свойства, что заданы в исходных данных (Е=1.1*1011 Па, =0.28). Для того чтобы увидеть свойства материала (модуль Юнга, коэффициент Пуассона, коэффициент теплопроводности и др.), нужно нажать Edit Part Properties Material Edit.
Любое из свойств материала может быть изменено.
Для того чтобы изменить количество конечных элементов, на которые деталь будет разбиваться при расчете, нужно нажать Edit Part Properties Relevance. В данном расчете было оставлено значение этой опции по умолчанию.
Нажимаем Next.
Задаем нагрузки, действующие на корпус.
В главном меню выбираем Tools Options General выключаем Interactively pick vector load directions OK.
Нажимаем Add Structural Loads. Появится окно Structural Load Builder.
Задаем нагрузку, действующую на поверхность передней опоры шпинделя.
Выделяем поверхность передней опоры (отверстие 150). Для этого нужно нажать над ней левую кнопку мыши. Выделенная поверхность изменит свой цвет.
Если сразу сделать это не получилось, нужно изменить настройки изображения с помощью кнопок на панели
. Чтобы узнать назначение какой-либо кнопки на этой панели, нужно нажать ее, затем нажать левую кнопку мыши над окном CAD Geometry и переместить мышь, удерживая кнопку нажатой. Для возврата к исходному изображению нужно нажать кнопку
.
После того как поверхность выделена, в окне Structural Load Builder станет доступным переключатель Cylinder for a Bolt Load. Включаем Cylinder for a Bolt Load Apply.
В
появившемся окне задаем значения составляющих реакции в передней опоре по осям X, Y, Z:
Word X Component: 2530 N;
Word Y Component: 7590 N;
Word Z Component: -1400 N.
Нажимаем Close.
Аналогично задаем нагрузку, действующую на поверхность задней опоры шпинделя (отверстие 130). Для нее вводим следующие значения составляющих реакции:
Word X Component: -1130 N;
Word Y Component: -3390 N;
Word Z Component: 0 N.
Закрываем окно Structural Load Builder.
При включении переключателя Cylinder for a Bolt Load составляющие силы, действующей на цилиндрическую поверхность, распределяются по этой поверхности.
Осевая составляющая распределяется равномерно по всей поверхности. Радиальная составляющая PR распределяется по параболическому закону (см. рис. 4). Рис. 4
Задаем условия закрепления корпуса.
Нажимаем Add Structural Supports. Появится окно Structural Support Builder.
Поворачиваем изображение корпуса в окне CAD Geometry таким образом, чтобы была видна его опорная поверхность, состоящая из 6 платиков (см. рис. 3).
Нажимаем левую кнопку мыши над каждым платиком, одновременно удерживая нажатой клавишу <Ctrl>. В результате будет выделена вся опорная поверхность корпуса.
После того как поверхность выделена, в окне Structural Support Builder станет доступным переключатель Fixed Surface. Включаем Fixed Surface Apply.
Закрываем окно Structural Support Builder.
Нажимаем Next.
Определяем, какая информация должна быть выдана в результате расчета.
Нажимаем Add Structural Results. Появится окно Structural Result Builder.
В этом окне выбираем Deformation включаем Deformation Shape, Word X component, Word Y component, Word Z component Apply.
Закрываем окно Structural Result Builder.
Введены все исходные данные. Теперь можно получить ответы.
Нажимаем Find Answers. Время счета на компьютере Pentium III 500 RAM 128 Mb составляет 35 с.
Просматриваем результаты расчета.
Д
ля того чтобы просмотреть, например, величины абсолютных смещений (Deformation Shape), нужно выделить строку Deformation Shape в окне Object View (нажать над ней левую кнопку мыши).
Величины абсолютных смещений будут отображены в окне CAD Geometry.
Для того чтобы определить величину абсолютного смещения какой-либо точки, нужно подвести указатель мыши к этой точке. При этом в нижнем правом углу окна программы (в строке статуса) будет отображаться величина абсолютного смещения этой точки.
Чтобы увидеть конечно-элементную сетку, нажимаем правую кнопку мыши на строке Deformation Shape Picture Properties General включаем Elements OK.
После этого будет отображена конечно-элементная сетка (рис. 5).
Аналогичным образом можно просмотреть и величины перемещений по осям X, Y, Z (Word X component Shape, Word Y component Shape, Word Z component Shape). Рис. 5
4.Расчет силовых смещений опор шпинделя
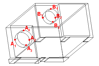
Смещение опоры шпинделя находим как среднее арифметическое смещений нескольких точек, равномерно распределенных по поверхности этой опоры.
Для передней опоры используем точки A1, A2, A3, A4, для задней – B1, B2, B3, B4.
Настроим изображение в окне CAD Geometry таким образом, чтобы при отображении величин смещений по осям X, Y, Z деталь отображалась бы недеформированной.
Нажимаем правую кнопку мыши на строке Word X component Shape Picture Properties Shape включаем Undeformed OK.
Аналогичные действия проводим со строками Word Y component Shape и Word Z component Shape.
Рис. 6
Определяем смещения точек A1, A2, B1, B2.
Нажимаем кнопку
, чтобы увидеть вид спереди.
Проведем горизонтальную секущую плоскость через ось шпинделя.
Чтобы провести секущую плоскость, нужно нажать кнопку
, затем нажать левую кнопку мыши над окном CAD Geometry, переместить мышь, удерживая кнопку нажатой, и отпустить кнопку. Секущая плоскость пройдет перпендикулярно экрану через точку, где была нажата кнопка мыши, и через точку, где она была отпущена.
Чтобы увидеть полученное сечение, нужно повернуть изображение детали.
Чтобы вернуться к обычному изображению (без сечения), нужно еще раз нажать кнопку
.
Нужно провести горизонтальную секущую плоскость через ось шпинделя. При этом не нужно задавать ее расположение абсолютно точно, т. к. небольшие отклонения ее от номинального расположения не внесут существенной погрешности в результаты расчета.
После того, как плоскость проведена, нажимаем кнопку
, чтобы увидеть вид сверху (рис. 7).
В
ыделяем в окне Object View строку Word X component Shape (смещения по оси X).
Чтобы определить смещение по оси X в точке A1, нужно подвести указатель мыши к этой точке. При этом в нижнем правом углу окна программы (в строке статуса) будет отображаться величина смещения этой точки по оси X:
XA1 = 3.66*10-6 м.
Аналогично получаем
XA2 = 0.87*10-6 м;
Характеристики
Тип файла документ
Документы такого типа открываются такими программами, как Microsoft Office Word на компьютерах Windows, Apple Pages на компьютерах Mac, Open Office - бесплатная альтернатива на различных платформах, в том числе Linux. Наиболее простым и современным решением будут Google документы, так как открываются онлайн без скачивания прямо в браузере на любой платформе. Существуют российские качественные аналоги, например от Яндекса.
Будьте внимательны на мобильных устройствах, так как там используются упрощённый функционал даже в официальном приложении от Microsoft, поэтому для просмотра скачивайте PDF-версию. А если нужно редактировать файл, то используйте оригинальный файл.
Файлы такого типа обычно разбиты на страницы, а текст может быть форматированным (жирный, курсив, выбор шрифта, таблицы и т.п.), а также в него можно добавлять изображения. Формат идеально подходит для рефератов, докладов и РПЗ курсовых проектов, которые необходимо распечатать. Кстати перед печатью также сохраняйте файл в PDF, так как принтер может начудить со шрифтами.















