мое (1050217)
Текст из файла
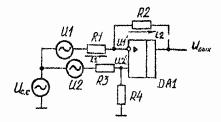
R1 +0.1%
R1 -0.1%
R1 +1%
R1 -1%
R1 +10%
R1 -10%
R2 +0.1%
R2 -0.1%
R2 +1%
R2 -1%
R2 +10%
R2 -10%
R3 +0.1%
R3 -0.1%
R3 +1%
R3 -1%
R3 +10%
R3 -10%
R4 +0.1%
R4 -0.1%
R4 +1%
R4 -1%
R4 +10%
R4 -10%
Ñîïðîòèâëåíèå ýëåêòðîä-êîæà:
Ñîïðîòèâëåíèå ñîåäèíèòåëüíîãî êàáåëÿ:
Ïðåîáðàçîâàíèå òðåóãîëüíèêà â çâåçäó:
Характеристики
Тип файла документ
Документы такого типа открываются такими программами, как Microsoft Office Word на компьютерах Windows, Apple Pages на компьютерах Mac, Open Office - бесплатная альтернатива на различных платформах, в том числе Linux. Наиболее простым и современным решением будут Google документы, так как открываются онлайн без скачивания прямо в браузере на любой платформе. Существуют российские качественные аналоги, например от Яндекса.
Будьте внимательны на мобильных устройствах, так как там используются упрощённый функционал даже в официальном приложении от Microsoft, поэтому для просмотра скачивайте PDF-версию. А если нужно редактировать файл, то используйте оригинальный файл.
Файлы такого типа обычно разбиты на страницы, а текст может быть форматированным (жирный, курсив, выбор шрифта, таблицы и т.п.), а также в него можно добавлять изображения. Формат идеально подходит для рефератов, докладов и РПЗ курсовых проектов, которые необходимо распечатать. Кстати перед печатью также сохраняйте файл в PDF, так как принтер может начудить со шрифтами.
















