Чистовая №2 (1050214)
Текст из файла
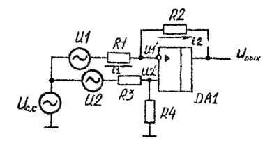
В лабораторной работе №2 предлагается исследовать схему биоусилителя, математическая модель которого представляет собой повторитель напряжения.
Исходные данные и расчет некоторых параметров биоусилителя.
Таким образом, представлены основные характеристики усилителя, позволяющие произвести количественную оценку влияния синфазной помехи на исследуемый сигнал.
Получим зависимости при N1=N2=M1=M2=1
Теперь рассмотрим, как изменение элементов схемы влияют на выходной сигнал.
-
1. Изменим N1(на ±0,1%, ±1%, ±10%);
N1=0.999
2. N1=1.001
N1=0.99
N1=1.01
N1=0.9
N1=1.1
M1=0.999
M2=1.001
M1=0.99
M1=1.01
M1=0.9
M1=1.1
Характеристики
Тип файла документ
Документы такого типа открываются такими программами, как Microsoft Office Word на компьютерах Windows, Apple Pages на компьютерах Mac, Open Office - бесплатная альтернатива на различных платформах, в том числе Linux. Наиболее простым и современным решением будут Google документы, так как открываются онлайн без скачивания прямо в браузере на любой платформе. Существуют российские качественные аналоги, например от Яндекса.
Будьте внимательны на мобильных устройствах, так как там используются упрощённый функционал даже в официальном приложении от Microsoft, поэтому для просмотра скачивайте PDF-версию. А если нужно редактировать файл, то используйте оригинальный файл.
Файлы такого типа обычно разбиты на страницы, а текст может быть форматированным (жирный, курсив, выбор шрифта, таблицы и т.п.), а также в него можно добавлять изображения. Формат идеально подходит для рефератов, докладов и РПЗ курсовых проектов, которые необходимо распечатать. Кстати перед печатью также сохраняйте файл в PDF, так как принтер может начудить со шрифтами.
















