киря (1050216)
Текст из файла
Цель работы — теоретическое изучение влияния помех и методов борьбы с ними при измерении биоэлектрических сигналов.
1. Оценка влияния характеристик биоусилителя и синфазной помехи на дифференциальный сигнал.
-
Построение зависимостей Кд, Кс.д., Кс.с. от частоты при изменении значений элементов схемы на ±0,1%, ±1%, ±10%.
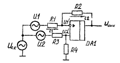
Рис.1. Упрощённая принципиальная схема биоусилителя.
A0 — коэффициент передачи ОУ на постоянном токе;
ωс — частота среза АЧХ ОУ;
iω(f) — комплексная частота;
А(f) — коэффициент передачи разомкнутого ОУ.
дифференциального сигнала от частоты синфазного сигнала в дифференциальный от
при изменении значений элемента R1 частоты при изменении значений элемента R1
на ±0,1%, ±1%, ±10%. на ±0,1%, ±1%, ±10%.
Рис.4. Изменение коэффициента передачи дифференциального сигнала от частоты при изменении значений элемента R1 на ±0,1%, ±1%, ±10%.
Рис.5. Изменение коэффициента передачи Рис.6. Изменение коэффициента преобразования
дифференциального сигнала от частоты синфазного сигнала в дифференциальный от
при изменении значений элемента R2 частоты при изменении значений элемента R2
на ±0,1%, ±1%, ±10%. на ±0,1%, ±1%, ±10%.
Рис.7. Изменение коэффициента передачи дифференциального сигнала от частоты при изменении значений элемента R2 на ±0,1%, ±1%, ±10%.
2. Оценим влияние синфазной помехи на ЭКГ сигнал при его прохождении через биоусилитель.
Рис.8. Сигнал ЭКГ.
Рис.9. Сигнал с усилением и без усиления.
а) Изменение сопротивления R1.
Рис.10. Сигнал с усилением и без усиления при изменении значений элемента R1 на 0,1%.
Рис.11. Сигнал с усилением и без усиления при изменении значений элемента R1 на -0,1%.
Рис.12. Сигнал с усилением и без усиления при изменении значений элемента R1 на 1%.
Рис.13. Сигнал с усилением и без усиления при изменении значений элемента R1 на -1%.
Рис.14. Сигнал с усилением и без усиления при изменении значений элемента R1 на 10%.
Рис.15. Сигнал с усилением и без усиления при изменении значений элемента R1 на -10%.
б) Изменение сопротивления R2.
Рис.16. Сигнал с усилением и без усиления при изменении значений элемента R2 на 0,1%.
Рис.17. Сигнал с усилением и без усиления при изменении значений элемента R2 на -0,1%.
Рис.18. Сигнал с усилением и без усиления при изменении значений элемента R2 на 1%.
Рис.19. Сигнал с усилением и без усиления при изменении значений элемента R2 на -1%.
Рис.20. Сигнал с усилением и без усиления при изменении значений элемента R2 на 10%.
Рис.21. Сигнал с усилением и без усиления при изменении значений элемента R2 на -10%.
2. Исследование влияния мультипликативной помехи на прохождение сигнала через БТС УЭК.
Получение выходного сигнала в случае наличия мультипликативной помехи, вызванной нестабильностью контакта электрод-кожа.
Рис.22. Сигнал ЭКГ.
Рис.23. Спектр сигнала ЭКГ.
1. Нахождение коэффициента передачи дифференциального сигнала и производной от него по переменному сопротивлению участка электрод-кожа.
- Эквивалентная схема замещения биологических тканей.
- Система электрод-кожа.
Изменение сопротивления электрод-кожа во времени.
Рис.24. Закон изменения сопротивления электрод-кожа (имитация движения пациента).
Рис.25. Спектр закона изменения сопротивления электрод-кожа.
- Входная цепь.
- Входной каскад усилителя.
- Преобразование соединения «в треугольник» в соединение «в звезду».
Рис.26. Коэффициент передачи дифференциального сигнала и производная от него по переменному сопротивлению участка электрод-кожа.
2. Свёртка двух сигналов.
Рис.28. Спектр свертки двух сигналов.
Рис.29. Паразитный сигнал от движения пациента.
Рис.30. Выходной сигнал (результат совмещения сигнала ЭКГ и паразитного сигнала).
18
Характеристики
Тип файла документ
Документы такого типа открываются такими программами, как Microsoft Office Word на компьютерах Windows, Apple Pages на компьютерах Mac, Open Office - бесплатная альтернатива на различных платформах, в том числе Linux. Наиболее простым и современным решением будут Google документы, так как открываются онлайн без скачивания прямо в браузере на любой платформе. Существуют российские качественные аналоги, например от Яндекса.
Будьте внимательны на мобильных устройствах, так как там используются упрощённый функционал даже в официальном приложении от Microsoft, поэтому для просмотра скачивайте PDF-версию. А если нужно редактировать файл, то используйте оригинальный файл.
Файлы такого типа обычно разбиты на страницы, а текст может быть форматированным (жирный, курсив, выбор шрифта, таблицы и т.п.), а также в него можно добавлять изображения. Формат идеально подходит для рефератов, докладов и РПЗ курсовых проектов, которые необходимо распечатать. Кстати перед печатью также сохраняйте файл в PDF, так как принтер может начудить со шрифтами.
















