Химмотология ракетных и реактивных топлив (1043407), страница 28
Текст из файла (страница 28)
Жаровые трубы — наиболее часто повреждаемые элементы камер сгорания. Их повреждение вызывается вибрацией стенок, отложением кокса и нагара, неравномерностью температуры стенок и частым изменением температурного режима краев отверстий для прохода воздуха, что приводит к появлению трещин. Нагар, изолируя стенки жаровой трубы от охлаждающего воздуха, вызывает их местные перегревы, появление температурных напряжений, коробление и растрескивание. Кокс и нагар, отложившиеся на форсунке, изменяют характеристики распыливания, горения, распределения температуры газов перед турбиной.
Более подробно особенности процесса сгорания в воздушно-реактивном двигателе изложены в работе [130].
Большой расход реактивного топлива обусловливает следующие требования: обеспеченность ресурсами, дешевизну и необходимую чистоту. При формулировании требований к топливу учитывают возможность его значительного нагрева и охлаждения, контакта с цветными металлами и сплавами, резинами и герметиками, изменения давления и влажности окружающей среды в процессе полета.
Требования к качеству топлив. С учетом объемов потребления топлив, условий эксплуатации летательных аппаратов, особенностей протекания процесса сгорания в двигателях, условий применения в узлах и агрегатах топливных систем двигателей и летательных аппаратов топливо должно отвечать следующим общим требованиям:
1) быть обеспечено сырьевыми ресурсами и,вырабатываться доступными технологическими процессами; 2) хорошо перекачиваться по топливной системе летательного аппарата и двигателя при любых температурах, низком давлении в баках и при полете на больших высотах; 3) полностью испаряться в камере сгорания, воспламеняться в широких пределах состава топли-вовоздушной смеси; 4) обладать высокой теплотой сгорания, плотностью, обеспечивать устойчивое сгорание с высокой скоростью; 5) не содержать зольных элементов, не образовывать нагара и других высоко- и низкотемпературных отложений;
6) быть некоррозионно-активным по отношению к деталям топливной системы и газовоздушного тракта двигателя, а также хорошо совместимыми с неметаллическими материалами (резиной, герметиками); 7) иметь достаточно хорошие проти-воизносные, защитные и охлаждающие свойства; 8) быть малотоксичными и, наконец, 9) иметь высокую стабильность в условиях Длительного храпения, транспортирования и применения.
Многие из перечисленных требований—общие для всех групп топлив: бензинов, реактивных, дизельных и котельных топлив. Некоторые из них отражают специфические условия реактивного движения и принципы работы авиационных силовых установок. Полная тяга ВРД составляет:
где т—расход воздуха и топлива в единицу времени; uг—скорость истечения продуктов сгорания; uв — скорость воздуха на входе; e — эффективный коэффициент полезного действия.
Удельная тяга, отнесенная к единице массы рабочего тела — воздуха и топлива, и удельный расход топлива рассчитываются по формулам
Из приведенных уравнений следует, что чем больше теплота сгорания топлива и меньше воздуха требуется для его полного сгорания, тем выше удельная тяга. Тяга зависит также от термического к.п.д. t, поскольку эффективный к.п.д. e ~t. Величина t определяется составом продуктов сгорания и степенью их расширения. С учетом изложенного топлива должно иметь по возможности более высокую теплоту сгорания, а для полного сжигания должно требоваться как можно меньше воздуха.
Требования высокой плотности топлива связаны с его большим расходом и особенно важны для летательных аппаратов, имеющих ограниченную вместимость топливных баков, например истребителей.
По мере развития авиационной техники требования к топ-ливам становились все более жесткими. Так, с появлением сверхзвуковой авиации резко ужесточились требования к термоокислительной стабильности топлива. С увеличением вместимости топливных баков транспортных и бомбардировочных самолетов пришлось повысить скорость заправки, а это повысило опасность накопления зарядов статического электричества в топливе и вызвало необходимость применения средств борьбы с этим явлением, в частности введения антистатических присадок.
Общие требования к конкретным показателям качества топлив сформулировать не представляется возможным, так как, удовлетворение требований по одним показателям можно достичь, как правило, только за счет снижения требований к другим, а положительный эффект одних показателей можно
усилить соответствующими значениями других показателей. Например, с увеличением плотности топлива ухудшается его испаряемость, но возрастает вязкость, что в определенной степени может компенсировать недостаточные противоизносные свойства. Таким образом, оптимальный уровень качества реактивных топлив является обычно следствием компромиссных решений.
Глава 7
ПРОИЗВОДСТВО РЕАКТИВНЫХ ТОПЛИВ
Физико-химические свойства нефтепродуктов и реактивных топлив, в частности, определяются свойствами перерабатываемой нефти, способами получения базовых фракций и компонентов, методами их. очистки и смешения, свойствами и концентрацией добавляемых присадок. В связи с этим хитлмотоло-гия изучает особенности технологии топлив, масел, смазок и технических жидкостей.
Качество реактивных топлив в сравнении с другими нефтепродуктами в наибольшей степени зависит от природы нефти и пределов выкипания фракций, выделяемых при атмосферной перегонке. Фракции прямой перегонки очищают разными способами, обусловленными составом нефти и требованиями, предъявляемыми к качеству топлива. Некоторое количество реактивных топлив получают каталитической деструктивной переработкой в присутствии водорода дистиллятов атмосферной или вакуумной перегонки и продуктов каталитического крекинга. Режим каталитической переработки зависит от качества сырья и в свою очередь практически полностью определяет качество топлива.
7.1. ПОЛУЧЕНИЕ ТОПЛИВ ПРЯМОЙ ПЕРЕГОНКОЙ НЕФТИ
Добываемая на промыслах нефть содержит растворенные газы, механические примеси в виде песка и глины (около 1,5%), воду (до 50% и более), различные соли (от десятков граммов до нескольких килограммов на 1 м3 нефти), а также различные химические соединения, закачиваемые в скважины для увели-' чения нефтеотдачи пластов, предотвращения коррозии оборудования, отложения солей, парафинов, развития микроорганизмов и в других целях. Все эти продукты могут частично перейти в реактивные топлива, получаемые прямой перегонкой, я повлиять на их качество.
Установки первичной переработки нефти составляют основу всех нефтеперерабатывающих предприятий. От их работы зависят качество и выходы получаемых топлив или их компонен-
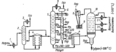
Рис. 7.1. Принципиальная схема перегонки нефти на атмосферно-вакуумной трубчатой установке:
/—теплообменник; 2—колонна К-1; 3 — холодильники; 4—трубчатые печи, 5—атмосферная ректификационная колонна К-2; 6 — газооепаратор; 7 — выносные отпарные секции; 8—вакуум-создающий эжектор; 9 — барометрический конденсатор; 10— вакуумная колонна
тов. Для современной нефтеперерабатывающей промышленности характерна многоступенчатость при производстве нефтепродуктов. Предварительно нефть проходит подготовительные технологические процессы на промыслах и на самом предприятии. Это—стабилизация нефтей на промыслах для удаления газовых компонентов, обессоливание и обезвоживание на НПЗ и очистка от механических примесей, что обеспечивает защиту оборудования от коррозии и способствует получению продуктов высокого качества.
Принципиальная схема АВТ. Фракции реактивного топлива выделяют на атмосферных трубчатых установках. Вследствие большого разнообразия перерабатываемых нефтей и широкого ассортимента получаемых продуктов (и их качества) установки первичной переработки нефти также многообразны. Одна из возможных типовых схем представлена на рис. 7.1.
Подогретая в теплообменниках 1 нефть поступает в колонну 2 предварительного испарения, где из нее удаляются низкокипящие бензиновые фракции. С низа колонны 2 нефть подается для дальнейшего нагрева в змеевики трубчатой печи 4 и затем поступает в основную ректификационную колонну 5. Здесь она разделяется на паровую и жидкую фазы. Пары, поднимаясь вверх по колонне, подвергаются многократной конденсации и испарению на тарелках, при этом достигается разделение нефти, на фракции. Допустимый нагрев нефти в печи достигает 360—380 °С. При более высокой температуре начинается нежелательный процесс разложения углеводородов — крекинг. Химически активные продукты крекинга — алкены — резко ухудшают качество реактивных топлнв, поэтому их содержание в топливе ограничивается. В низ колонны 5 подается перегретый пар, что способствует более полному извлечению светлых нефтепродуктов из мазута. С верха колонны 5 отводятся пары бензина и воды. Они конденсируются, охлаждаются и поступают в газосепаратор. Часть бензиновой фракции возвращается в колонну 5 (острое орошение), а остальная—выводится с установки на дальнейшую переработку. При переработке сернистых нефтей на верх колонны 5 вместе с бензином-орошением для защиты ее от коррозии подаются следующие реагенты: 1,5%-и раствор СаСОз, 4—6%-и раствор NНз, а при необходимости—ингибиторы коррозии, например 0,5—1,0%-й раствор ИКБ-2, в состав которого входят азотистые соединения [135]. Эти соединения принимают активное участие в образовании смол и осадков при нагревании топлива [136], поэтому переход ингибитора в реактивное топливо нежелателен. Содержание его контролируют, измеряя удельную электрическую проводимость топлива (она должна быть не более 10 пСм/м)
Из колонны 5 фракция 180—220 С перетекает в верхнюю секцию отпарной колонны 7. В низ секции отпарной колонны подается перегретый пар для удаления паров бензина, попадающих в керосиновую фракцию. С низа верхней секции колонны 7 фракция 180—220 °С через теплообменники и холодильники отводится на блок очистки (на схеме не показан).
В средней и нижней секциях колонны 7 подвергаются дополнительной ректификации фракции 220—280 и 280—350 °С, вовлекаемые в производство дизельных топлив. С низа колонны 5 мазут после дополнительного нагрева в Трубчатой печи поступает на дальнейшее разделение в вакуумную^ колонну 10. Создаваемый в этой колонне посредством эжектора 8 и кон-~ денсатора 9 вакуум облегчает испарение фракций мазута. В вакуумной колонне выделяются дистилляты, например фракции 350—420 и 420—500 °С, которые используют в качестве сырья для деструктивной переработки (каталитический крекинг, коксование и др.) с получением компонентов моторных и котельных топлив. Остаток вакуумной перегонки—гудрон используют в котельных топливах, в масляном производстве и для получения дорожных битумов.
Данные о качестве фракций и мазута, получаемых при атмосферной перегонке нефти типа ромашкинской, приведены в табл. 7.1. [133]. Керосиновая фракция 180—220 °С имеет температуру начала кристаллизации не выше —60 °С, а температуру вспышки не ниже 28 °С; по этим показателям она удовлетворяет требованиям к наиболее массовому реактивному топливу. В зависимости от состава перерабатываемой нефти, оснащенности предприятия оборудованием и требуемого соотношения вырабатываемых бензина, реактивного и дизельного топлив пределы выкипания фракций различны и количество фракций, вовлекаемых в реактивное топливо, неодинаково. Если требуется повысить пожаробезопасность топлива, отбирают керосиновую фракцию с более высокой температурой начала кипения, а для увеличения ресурсов повышают температуру конца кипения керосиновой фракции или смешивают ее с бензиновой фракцией, отбираемой с верха основной ректификационной колонны.
Влияние изменений температуры начала и конца кипения фракций, отобранных в лабораторных условиях на аппарате' разгонки нефти (АРН-2) из промышленной смеси западносибирских нефтей, на выход и качество топлива характеризуют данные табл. 7.2 [137]. Для топлива,типа ТС-1 с увеличением температуры конца кипения на 10 °С повышается выход на ~10% и одновременно возрастает температура начала кристаллизации примерно на 5°С. Вовлечение в состав топлива бензиновой фракции позволяет повысить его ресурсы на 70— 90%.
• В технологических схемах фракции характеризуют значениями истинных температур кипения (ИТК), которые отличаются от значений, получаемых при разгонке на лабораторном приборе по ГОСТ 2177—82, где другие условия испарения, ректификации и охлаждения.
















