Химмотология ракетных и реактивных топлив (1043407), страница 26
Текст из файла (страница 26)
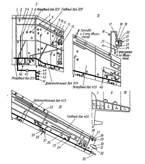
Рис. 6.5. Схема топливной системы самолета с 4-я силовыми установками:
/—трубопровод подачи топлива1 к двигателям; 2—датчик-топливомера; 3—кран кольцевания; 4 — обратный клапан; 5 — поплавковое устройство клапана заправки; 6 — датчик-сигнализатор с сигналом на закрытие клапана заправки; 7—заправочная горловина топливного бака: 8—дренажный трубопровод; 9, 16—краны слива топлива; 10, 13. 28. 34 — электроприводной центробежный насос; 11—нажимной кран слива конденсата; 12, 27 — сигнализатор давления топлива за насосом; 14 — датчик давления топлива перед форсунками; 15 — сигнализатор минимального давления топлива; 17—двигательный подкачивающий насос; IS— датчик расходомера; 19, 23— датчики давления топлива; 20— топливно-маслявый радиатор; 21 — фильтр; 22 — сигнализатор перепада давления топлива на фильтре; 24-насос-регулятор; 25— датчик топливомера с компенсатором и сиг-валок на выключение насосов перекачивания дополнительного бака и на включение насоса главного бака 4-й СУ; 26— дренажный бак; 29— датчик топливомера дренажного бака на включение насоса при достижении заданного количества топлива в баке;
30, 43 — предохранительный клапан давления; 31 — заборный патрубок дренажной системы; 32, 44 — вакуумные клапаны; 33 — кран аварийного слива топлива- 35 — клапан для слива топлива в бак; 36, 40— струйные насосы; 37 — гидравлический кран заправки;
38, 46—датчик давления в баке; 39—кран заправки бака; 41, 42—бортовые штуцеры централизованной заправки баков топливом; 45 — главный кран заправки топливом
во внутреннее пространство самолета и трудности обнаружения места утечки), малый срок службы (из-за старения резины) и температурные ограничения использования.
Баки-отсеки применяют на дозвуковых пассажирских и транспортных самолетах, чему благоприятствует плоская форма конструктивных элементов крыльев, а также на самолетах с большим нагревом конструкции, где установка мягких баков невозможна. Баки-отсеки изготавливают сварными или клепаными и герметизируют с помощью герметиков, которыми обмазывают швы, а иногда и всю внутреннюю поверхность бака-отсека (для обеспечения герметичности при образовании небольших трещин). Баки-отсеки позволяют наиболее рационально использовать внутреннее пространство самолета и увеличить запас топлива. Вместе с тем по сравнению с мягкими баками они имеют повышенную поражаемость, плохую пригодность к ремонту, недостаточные теплоизолирующие свойства.
Подвесные топливные баки бывают сбрасываемые в полете и несбрасываемые. В таких баках нецелесообразно размещать насосы, и топливо из них выдавливают воздухом, нагнетаемым компрессором. Несбрасываемые баки оборудуют аналогично-основным бакам-отсекам.
В топливных системах самолетов устанавливают преимущественно лопастные (центробежные и осевые) и струйные насосы. Они обеспечивают перекачивание топлива из основных и дублирующих баков в расходные и балансировочные баки с подачей его в зависимости от типа самолета от 0,3 до 100 м3/ч (и более) при сравнительно низком давлении (0,20—0,25 МПа) и небольшом напоре на входе. Центробежные и лопастные насосы приводятся в действие от вала двигателя (насосы II ступени подкачивания топлива, расположенные непосредственно на двигателе) либо посредством электрического, гидравлического или пневматического приводов. Конструкция внутрибако-вого центробежного топливного насоса показана на рис. 6.6. Надежность этого агрегата определяется герметичностью уплотнений вращающихся деталей. Во избежание попадания топлива в полость электродвигателя устанавливается уплотнительная резиновая манжета 8. Просачивающееся топливо охлаждает манжету 8 и центробежным отражателем 7 отбрасывается к дренажному каналу 11. Сетка 4
Рис, 6.6. Внутрибаковый центробежный топливный насос;
/ — вентиляционный канал; 2 — корпус: 3 — стенка топливного бака; 4 — предохранитель-ная сетка; 5—уплотнительное кольцо; 6— электропривод; 7 — центробежный отражатель;
8—уплотнительная манжета; 9—вал; 10—рабочее колесо; 11 — дренажный канал
Тис. 6.7. Насос-регулятор плунжерного типа:
/ — корпус 2 — ротор; 3, 13 — подшипники;
4—золотниковая шайба; 6—профилировая-ные окна; 7—сервопоршень; 8—плунжер;
9—пружина; 10—шток; //—серьга; 12—наклонная шайба; 14—вал
(размер ячеек до 2 мм) предохраняет насос от попадания крупных посторонних примесей и тсристаллов, образующихся при охлаждении топлива.
Характеристики насоса зависят от частоты вращения двигателя и в значительной степени от температуры окружающей среды, особенно при работе на топливе с крутой вязкостно-температурной зависимостью. Если нагрев топлива в баках >100°С или температура воздуха, окружающего внебаковую часть насосного агрегата, >200°С, потребляемая мощность электропривода достигает 7—10 кВт. Такие насосы из-за больших габаритов очень трудно разместить в крыльевых баках самолетов с тонким крылом. В подобных случаях эффективным может быть привод от воздушной турбины (воздух подается ют компрессора турбореактивного двигателя) или от газовой турбины, когда в отбираемом от компрессора воздухе сжигается часть топлива.
Наиболее легким малогабаритным и термостойким является гидравлический привод. Энергия к нему подается топливом после II ступени подкачивания давлением 1—2 МПа. Топливо после гидротурбопривода сливается в магистраль между насосами I и II ступеней подкачивания или в топливные баки (в топливных системах с напряженным тепловым балансом).
В самолетах с газотурбинным двигателем значительное количество топлива при высоком давлении перепускается во всасывающую линию и расходный бак из основных и форсаж-ных насосов двигателя. Его можно эффективно использовать 9 струйных насосах. Давление топлива на входе в такой насос должно превышать сумму давлений насыщенных паров и кавитационного запаса насоса.
Основные топливные насосы подают топливо при высоком давлении к форсункам основных и форсажных камер сгорания. Привод этих насосов осуществляется непосредственно от двигателя. Конструкция насосов предусматривает изменение подачи топлива при постоянной частоте вращения ротора двигателя и сохранение ее неизменной при изменении частоты вращения, что достигается установкой насосов-регуляторов плунжерного типа (рис. 6.7).
Ротор 2—главная деталь насоса. Внутри его равномерно по окружности и наклонно к оси расположены цилиндрические каналы. В каналах размещаются полые плунжеры 9 с пружинами. Торец ротора прижимается
к золотниковой шайбе 4 с двумя профилированными окном 6; через одно из них топливо всасывается (6), а через другое (5) вытесняется при большом давлении (8—15 МПа). Полусферические концы плунжеров 9 опираются на сферическую либо коническую поверхность упорного подшипника, запрессованного в наклонную шайбу 12. Шайба может поворачиваться под действием сервопоршня 7 и изменять угол наклона к оси насоса. Если угол установки шайбы отличен от нуля, то при вращении ротора плунжеры под воздействием наклонной шайбы и пружин совершают возвратно-поступательное движение с тем большей амплитудой, чем больше угол наклона;
соответственно тем больше подача топлива. Пара трения наклонная шайба — плунжер работает в условиях комбинированного трения с большими удельными нагрузками, что вызывает ее повышенный износ при недостаточно высоких противоизносных свойствах топлива. В последнее время для снижения износа плунжеров применяют подпятники, устанавливаемые между концами плунжеров и шайбой.
Топливные форсунки подают топливо в камеру сгорания в паровой или жидкой фазе. Двигатель, оборудованный форсунками испарительного типа, менее чувствителен к склонности топлива образовывать нагар в камере сгорания. Однако при их применении возможно образование высокотемпературных отложений в каналах форсунок. Большинство двигателей имеют центробежные, одно- или двухкамерные, регулируемые либо нерегулируемые форсунки распыливающего типа. На рис. 6.8 показана двухкамерная регулируемая форсунка.
Форсунки должны распыливать топливо с умеренной неоднородностью, обеспечивая диаметр капель от 10 до 400 мкм (наибольшее число капель имеет диаметр от 70 до 100 мкм). Это создает благоприятные условия для организации рабочего процесса, повышает устойчивость горения на бедных смесях. Наличие в факеле топлива капель большего диаметра нежелательно, так как они не успевают испариться и сгореть до турбины.
- Угол конусности факела распыленного топлива зависит от режима работы двигателя. При запуске, когда расход топлива Небольшой, этот угол относительно невелик—60—70°. Топливо концентрируется в малом объеме, что создает хорошие условия для его воспламенения и сгорания. На малой нагрузке («газе») угол достигает 110—120°, а на максимальном режиме, когда топливо подается при высоком давлении, он составляет 80—90°, что исключает попадание капель на стенки камеры сгорания.
Существенное влияние на работу центробежной форсунки оказывает температура топлива. С ее понижением и, следовательно, увеличением вязкости топлива уменьшается коэффициент расхода форсунки, качество распыливания топлива ухудшается. С повышением температуры уменьшаются коэффициент расхода и угол факела. Особенно заметно снижается коэффициент расхода в интервале температур 150—200 °С, когда давление насыщенных паров наиболее массовых марок топлива приближается к давлению воздуха в камере сгорания.
Тис. 6.8. Топливная двухкамерная регулируемая форсунка:
/ — корпус; 2 — основной канал; 3 — сетка фильтра; 4—вспомогательный канал малого газа; 5—сопло основное; 6, 10 — тангенциальные отверстия; 7 — сопло малого газа;
8,9 — камеры завихрения; Л — разделительная трубка
Очень важный фактор — равномерная подача топлива каждой форсункой и, следовательно, равномерность распределения топлива по всему объему камеры сгорания. Это обеспечивает своевременное завершение процесса сгорания и равномерный фронт температур перед турбиной. Все форсунки, входящие в комплект данного двигателя, должны обеспечивать одинаковое качество распыливания и объемы подачи топлива. Неравномерность подачи топлива на максимальном режиме не должна превышать 2— 3%, на режимах малых расходов—10—20% и внутри каждого факела—20—30%. Недостаточная чистота топлива и малая его термоокислительная стабильность могут привести к образованию отложений в каналах форсунок и нарушению равномерности подачи топлива.
Чистота топлива достигается очисткой его при заправке летательного аппарата и фильтрованием в топливной системе через проволочные сетки из цветных металлов или легированной стали 12Х18Н9Т. Сетка обычного плетения обеспечивает «тонкость» фильтрования 20—40 мкм, сетка саржевого плетения—12—16 мкм; более высокую степень очистки обеспечивают бумажные фильтры (8—12 мкм).
Соотношение массы двигателя и топлива. Малая удельная масса6—важнейшее требование авиационных двигателей. Этот показатель в значительной степени влияет на общую массу самолета, его скороподъемность и дальность полета: с увеличением удельной массы двигателя на 1 кг масса самолета увеличивается на 3—5 кг. В результате совершенствования воздушно-реактивных двигателей средняя удельная масса их по сравнению с двигателями первого поколения снизилась в 5— 6 раз.
Главнейшие способы снижения массы газотурбинных двигателей в той или иной мере влияют на условия применения кг требования к качеству реактивных топлив. К этим способам относятся:
повышение параметров процесса и показателей работы отдельных агрегатов—сокращение числа ступеней компрессора за счет увеличения степени повышения давления воздуха на одной ступени, увеличение температуры газа и уменьшение числа ступеней турбины за счет увеличения теплоперепада на каждой ступени;
конструктивное совершенствование двигателя и его узлов, включающее наряду с другими мероприятиями применение охлаждаемых сопловых и рабочих лопаток в турбине;
применение новых жаропрочных материалов для узлов и деталей двигателя, подвергающихся воздействию высоких температур, и новых технологических приемов изготовления этих деталей.
















