Общ-свед-СВ (1039364), страница 2
Текст из файла (страница 2)
Рис. 2. Схема обмена сигналами ВчУ-УК-ЗУ в режиме «Чтение».
-
Алгоритм взаимодействия устройств СВ в режиме чтения информации представлен на рис. 5.
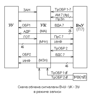
2.3. Запись информации в ЗУ (режим «Модифицированная запись»).
Режим записи можно разделить на две фазы. В первой фазе информация считывается из ЗУ, как и в режиме «Чтение». Отличие от режима «Чтение» состоит в том, что одновременно с выдачей в МА адреса ячейки памяти, процессор выдаёт по специальной шине признак записи (ПрЗп), а в ЗУ момент снятия сигнала ЗАН отсчитывается не от сигнала Обр-1, а от сигнала Обр-2.
После получения по сигналу ПрС информации из МЧт и её обработки процессор по КШУ-1 выдаёт в УК сигнал ТрОбр-2.
Если в данном такте работы УК не поступил сигнал ТрОбр-2 от более приоритетного процессора, то УК посылает в процессор по КШУ-1 сигнал «Выдача слова» (ВдС), а в ЗУ по КШУ-2 – сигнал Обр-2.
В противном случае (если есть сигнал ТрОбр-2 от более приоритетного процессора) обслуживание заявки процессора откладывается до следующего такта работы УК. По сигналу ВдС процессор выдаёт в МЗп сформированную для записи в ячейку памяти информацию. На этом процесс обмена информацией в режиме «Модифицированная запись» заканчивается. Последовательность обмена сигналами управления при взаимодействии процессора с ЗУ в режиме «Модифицированная запись» представлена на рис. 3.
Рис. 3. Схема обмена сигналами ВчУ-УК-ЗУ в режиме «Модифицированная запись».
Алгоритм взаимодействия устройств СВ в режиме записи информации представлен на рис. 6.
3. Структурная схема СВ. Взаимодействие ВчУ с УО.
Для обмена информацией между ВчУ и УО используются специальные разовые команды управления обменом, сопровождаемые стробом разовых команд (строб разовых команд - это своеобразное разрешение выполнения разовой команды или «маска»). По этим командам производится сброс и пуск УО. При взаимодействии ВчУ и УО сброс УО в исходное состояние осуществляется программно при выполнении команды «Выдача разовых команд» (ВРК). При этом от ВчУ в УО поступает сигнал «Сброс» и «Строб разовой команды» (СРК) ВчУ, по которому устанавливаются в исходное состояние управляющие схемы УО.
Перед началом обмена ВчУ заносит в фиксированную ячейку памяти (адрес 020002) для УО константу, представляющую собой команду УО, а затем формирует команду ВРК. В результате выполнения этой команды от ВчУ в УО поступают сигналы «Заявка ВчУ» (ЗВчУ) и СРК ВчУ. Эти сигналы воспринимаются схемой заявок и приоритетов УО как запрос на выполнение команды ВчУ (записанной в фиксированную ячейку).
УО обращается к памяти по фиксированному адресу, считывает записанную константу, которая является первой командой программы обмена УО, и приступает к выполнению этой команды. После выполнения команды УО записывает в фиксированную ячейку (020002) нули.
В процессе выполнения программы обмена УО формируются сигналы прерывания, которые поступают на Рг заявок ВчУ. УО формирует 2 типа сигналов запроса на прерывание:
-
импульсный сигнал запроса на прерывание по программе канала (ЗПРП).
Этот сигнал вырабатывается в процессе реализации программы обмена УО при выполнении команд с признаком программного прерывания, а также по команде ТЕСТ-1 при наличии в ней признака контроля алгоритма;
-
потенциальный сигнал запроса прерывания по сбою, - формируется аппаратным способом.
Сигнал сбоя в том и другом случае является обобщённым и конкретизируется при запросе и анализе словосостояния УО (ССУО) и словосостояния канала (ССК) программой ВчУ.
Такая организация взаимодействия ВчУ и УО позволяет программам ВчУ влиять на ход выполняемых УО программ каналов, выполнять разовые действия в УО по инициативе программ ВчУ, по инициативе программ каналов, либо при обнаружении в УО сбойных ситуаций.
Рис. 4. Схема обмена сигналами ВчУ-УО.
4. Структурная схема СВ. Взаимодействие элементов ПОУ СВ с ВчУ.
Взаимодействие ПОУ СВ с ВчУ производится по сигналам и признакам, выработанным ПОУ СВ при включении питания или при нажатии на нём соответствующих клавиш, а также по сигналам, обеспечивающим индикацию состояния основных регистров ВчУ (Рг ВчУ) на индикационном поле ПОУ СВ.
С ПОУ на ВчУ выдаются 14 сигналов, которые формируются при нажатии соответствующих клавиш.
С помощью клавиш, расположенных на ПОУ СВ, можно производить «останов» или прерывание программы по номеру команды, чтению (записи) из (в) ячейку с заданным адресом. Из ВчУ на ПОУ поступает 36 потенциалов, обслуживающих работу лампочек поля «ИНДИКАЦИЯ» состояния основных Рг ВчУ.
Выполнение программ СВ может производиться в автоматическом и покомандном режимах. Для установки автоматического режима необходимо установить клавиш АВТОМ в нажатое состояние, для покомандного режима этот клавиш установить в отжатое состояние. В автоматическом режиме запущенная программа исполняется до появления в программе команды ОСТАНОВ или до тех пор, пока оператор не нажмёт клавиш ОСТ или НУ.
При покомандном режиме нажатая клавиша ПУСК вызывает исполнение только одной команды программы ВчУ. Работа УО от состояния клавиша АВТОМ не зависит и всегда происходит в автоматическом режиме.
Рис. 5. Алгоритм взаимодействия устройств СВ в режиме «Чтение».
Рис. 6. Алгоритм взаимодействия устройств СВ в режиме «Модифицированная запись».
Контрольные вопросы:
-
Назначение, состав, технические характеристики СВ.
-
Взаимодействие элементов СВ по структурной схеме в режиме «Чтение».
-
Взаимодействие элементов СВ по структурной схеме в режиме «Модифицированная запись».
-
Взаимодействие ВчУ с УО.
-
Взаимодействие ПОУ СВ с ВчУ.
Задание на самоподготовку:
-
Изучить материал занятия.
















