КР_отчет (1012870)
Текст из файла
Московский авиационный институт
(национальный исследовательский университет)
«МАИ»
Курсовая работа
по дисциплине «Модели и методы анализа проектных решений»
Семестр 7
Вариант 17
Выполнил студент группы 06-421:
Патрикеев Олег Александрович
Руководитель:
Столярчук Владимир Александрович
Москва 2013
Вариант 17. 2013г.
| Параметр | Значение или формула | Единицы | Дополнительные сведения |
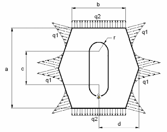
| a | 120 | см |
Удалить опору в отверстии и закрепить отверстие по всей длине от перемещений по двум осям |
| b | 80 | см | |
| c | 56 | см | |
| d | 60 | см | |
| r | 14 | см | |
| q1 | (q0-s)^(1.5)(Cos(0.05s))
| Н/ см | Координата s отсчитывается от точки максимальной ширины пластины вдоль наклонной стороны до конца наклонной стороны |
| q0 | 150 | Варьируемый параметр | |
| q2 |
| н / см | Координата х отсчитывается от правого и левого края верхней и нижней горизонтальной стороны до середины этой стороны. |
| k | 1 | Варьируемый параметр |
Итоговое задание:
Д
ля горизонтальных частей пластины (приложенные силы симметричны в соответствии с постановкой задачи и применением местной системы координат):
q2 =
+600, где k – варьируемый параметр равный 1, x изменяется от 0 до 40.
Для наклонных частей пластины (приложенные силы симметричны в соответствии с постановкой задачи и применением местной системы координат):
q1 = (q0-s)^(1.5)(Cos(0.05s)), где q0 – варьируемый параметр равный 150, s изменяется от 0 до 63.25.
Расчет длины наклонной стороны:
s = ((d – b/2)^2 + (a/2)^2)^0.5, где а = 120, b = 80, d = 60.
s = ((60 – 40)^2 + 60^2)^0.5, s ≈ 63.25
Пункт 1. Создание геометрической модели.
В силу симметричности пластины и приложенных нагрузок будем рассматривать правую верхнюю четверть пластины:
Функция нагрузки: Для горизонтальных частей пластины:
q2 =
+600, где k – варьируемый параметр равный 1, координата х отсчитывается от правого и левого края верхней и нижней горизонтальной стороны до середины этой стороны и изменяется от 0 до 40.
Для наклонных частей пластины:
q1 = (q0-s)^(1.5)(Cos(0.05s)), где q0 – варьируемый параметр равный 150, координата s отсчитывается от точки максимальной ширины пластины вдоль наклонной стороны до конца наклонной стороны и изменяется от 0 до 63.25.
Нули функции: s1=31.42;
При построении приближенной модели пластины, разбиваем её на восемь восьмиузловых областей: узел 15 соответствует точке изменения знака функции нагрузки.
Пункт 2 Реализация граничных условий и внешних воздействий.
Графическое изображение предварительных результатов расчетов
NRC 7:
Теоретические значения суммарной силы
| Функция на горизонтальной стороне пластины. Y=60 |
| 45333.3 |
| Функция на наклонной стороне пластины. Y+3X-180=0 |
| 32665 |
| Функция на наклонной стороне пластины. Y+3X-180=0 |
| 19958.4 |
| Функция на наклонной стороне пластины. Y+3X-180=0 |
| 52623.4 |
Свободные параметры.
| Параметр | Значение | Комментарий |
| PRM1 | отключает силы по вертикальной прямой Y=60 | 1 – включены, 0 - выключены |
| PRM2 | отключает силы по наклонной прямой | 0 – выключены, 1 – включена верхняя полуволна, 2 – включена нижняя полуволна, 3 – включена вся волна |
| PRM3 | Изменяет значение варьируемого параметра q0 на наклонной прямой Y+3X-180=0 | 150 – значение параметра, установленное заданием |
| PRM4 | Изменяет значение варьируемого параметра k на горизонтальной прямой Y=60 | 1 – значение параметра, установленное заданием |
| PRM5 | Не используется | |
| PRM6 | Не используется |
Таблицы значений суммарных сил от распределённой нагрузки в зависимости от NRC
| NRC | Функция на горизонтальной стороне пластины. Y=60 | Функция на наклонной стороне пластины. Y+3X-180=0, | ||||
| Теоретическое значение суммарной силы = 45333.3 | Теоретическое значение суммарной силы = 52623.4 | |||||
|
|
|
|
|
|
| |
| 3 | 0 | 45350,00 | 45350,00 | 12164,87 | 2248,09 | 51034,32 |
| 4 | 0 | 45342,23 | 45342,23 | 12127,84 | 2829,29 | 51878,60 |
| 5 | 0 | 45338,75 | 45338,75 | 12109,64 | 3123,62 | 52180,93 |
| 6 | 0 | 45336,96 | 45336,96 | 12098,92 | 3301,30 | 52324,46 |
| 7 | 0 | 45335,92 | 45335,92 | 12091,85 | 3420,19 | 52404,51 |
| 8 | 0 | 45335,27 | 45335,27 | 12086,89 | 3505,31 | 52454,09 |
Примечание: приводить в таблице значения Fx и Fy нет необходимости.
Примечание: Для горизонтальной стороны пластины значения суммарных сил от распределённой нагрузки в зависимости от NRC приближаются к теоретическому значению суммарной силы сверху, по той причине, что график функции нагрузки для этой части пластины имеет вогнутый вид, в следствии чего метод трапеций, используемый для расчета интеграла функции нагрузки при различных значениях NRC «забирал лишние» участки площади.
Таблицы значений суммарных сил от распределённой нагрузки на прямой Y+3X-180=0 в зависимости от NRC
| NRC | Функция на наклонной стороне пластины. Y+3X-180=0, | Функция на наклонной стороне пластины. Y+3X-180=0, | Функция на наклонной стороне пластины. Y+3X-180=0, | ||||||
| Теоретическое значение суммарной силы = 32665 | Теоретическое значение суммарной силы = 19958.4 | Теоретическое значение суммарной силы = 52623.4 | |||||||
|
|
|
|
|
|
|
|
|
| |
| 3 | 31083,14 | 8554,18 | 32486,46 | 18920,14 | 6306,72 | 19943,58 | 12164,87 | 2248,09 | 51034,32 |
| 4 | 31052,45 | 9137,50 | 32545,44 | 18925,16 | 6308,39 | 19948,87 | 12127,84 | 2829,29 | 51878,60 |
| 5 | 31036,80 | 9432,67 | 32575,16 | 18927,38 | 6309,13 | 19951,21 | 12109,64 | 3123,62 | 52180,93 |
| 6 | 31027,31 | 9610,76 | 32593,05 | 18928,51 | 6309,50 | 19952,40 | 12098,92 | 3301,30 | 52324,46 |
| 7 | 31020,94 | 9729,88 | 32605,00 | 18929,16 | 6309,72 | 19953,08 | 12091,85 | 3420,19 | 52404,51 |
| 8 | 31016,40 | 9815,15 | 32613,57 | 18929,56 | 6309,85 | 19953,51 | 12086,89 | 3505,31 | 52454,09 |
Характеристики
Тип файла документ
Документы такого типа открываются такими программами, как Microsoft Office Word на компьютерах Windows, Apple Pages на компьютерах Mac, Open Office - бесплатная альтернатива на различных платформах, в том числе Linux. Наиболее простым и современным решением будут Google документы, так как открываются онлайн без скачивания прямо в браузере на любой платформе. Существуют российские качественные аналоги, например от Яндекса.
Будьте внимательны на мобильных устройствах, так как там используются упрощённый функционал даже в официальном приложении от Microsoft, поэтому для просмотра скачивайте PDF-версию. А если нужно редактировать файл, то используйте оригинальный файл.
Файлы такого типа обычно разбиты на страницы, а текст может быть форматированным (жирный, курсив, выбор шрифта, таблицы и т.п.), а также в него можно добавлять изображения. Формат идеально подходит для рефератов, докладов и РПЗ курсовых проектов, которые необходимо распечатать. Кстати перед печатью также сохраняйте файл в PDF, так как принтер может начудить со шрифтами.
















