Аппаратура управления и контроля релейной полуавтоматической блокировки системы ГТСС
Аппаратура управления и контроля релейной полуавтоматической блокировки системы ГТСС
Пульт управления. Пульт управления РПБ ГТСС изготовляют шкафного типа в виде пульта-статива (ПСРБ-2). Пульт управления устанавливают у дежурного по станции и у стрелочного централизатора на стрелочных постах. Пульт-статив ПСРБ-2 совмещает в себе пульт управления и релейный статив. Если РПБ увязывают с электрической (релейной) централизацией, то органы управления и индикации размещают на пульте электрической (релейной) централизации, а релейную аппаратуру — на стативах централизации.
Основными частями пульта-статива (рис. 14.6) являются: металлический релейный статив 3, закрываемый металлическими дверцами; панель управления и индикации 1 и ключ-жезл 2, находящийся в нижней части аппарата. Внутри аппарата на релейном стативе размещены штепсельные реле НМШ и КШ, дроссели, конденсаторы, резисторы, а в нижней части — грозоразрядники, регулируемые резисторы, предохранители и клеммные колодки. Дверцы, находящиеся на задней стороне аппарата, обеспечивают доступ к приборам с их лицевой стороны, а две дверцы на передней стороне — доступ к контактным выводам приборов и монтажным проводам.
Панель управления и индикации пульта ПСРБ-2 состоит из двух частей, на которых изображено путевое развитие станции. Схематический план станции показывается светлыми металлическими накладками, которые в определенных местах имеют цветные лампочки. На станционных путях размещают по три цветные лампочки. Белыми лампочками контролируется правильность установки маршрута приема или отправления, а красными — свободность приемо-отправочного пути. Красными лампочками контролируется также свободность стрелочных горловин 2-4СП и 1-3СП. При свободном состоянии приемоотправочных путей и стрелочных горловин, а также при неустановленных маршрутах (исходное состояние) красные и белые лампочки не горят.
На каждой части панели управления и индикации пульта ПСРБ-2 находятся: желтая лампочка «Дача согласия»; зеленая лампочка «Получение согласия»; красные лампочки «Занятие перегона отправления» и «Занятие перегона приема». Лампочки имеют металлические накладки стреловидного типа, указывающие направление, к которому они относятся.
У каждого станционного сигнала есть повторитель. Повторители входных светофоров Н и Ч имеют три лампочки: зеленую, контролирующую открытое состояние входного светофора; нормально горящую красную, контролирующую закрытое положение входного светофора; белую, контролирующую включение пригласительного лунно-белого огня. Повторители выходных светофоров Н1, Н2, НЗ, Ч1, Ч2 и Ч3 имеют по одной зеленой лампочке, которая контролирует только открытое положение выходного светофора.
Открывают и закрывают входной светофор с помощью трех позиционной кнопки Т с надписью «Прием». Кнопка имеет металлическую накладку стреловидного типа. Открывают и закрывают выходной светофор аналогичной кнопкой с надписью «Отправление». Трехпозиционную кнопку Т с надписью «Дача согласия» используют также и для отмены согласия (отжимают от аппарата). Кнопка с надписью «Дача прибытия» — двухпозиционная, а кнопка «Искусственная разделка» — двухпозиционная пломбируемая П.
Искусственная разделка маршрута контролируется белой лампочкой. Для снижения напряжения на лампах светофоров используется пломбируемая кнопка с фиксацией нажатия П/Ф. При нажатии этой кнопки включается контрольная белая лампочка. Отключение переменного тока и включение резервного источника питания контролируется включением красной лампочки «Неисправность».
Рекомендуемые материалы
В верхней части панелей пульта находятся счетчики СЧМ-1 с кнопкой для включения пригласительного лунно-белого огня на входных светофорах и искусственного возбуждения реле прибытия.
Действия по отправлению и приему поездов на пульте-стативе ПСРБ-2 выполняют следующим образом.
Отправление поезда на однопутный перегон в нечетном направлении (вправо) возможно после получения согласия от соседней станции и включения зеленой лампочки «Получение согласия». Если поезд находится на пути 2П, то горит красная лампочка этого пути. Дежурный устанавливает стрелки 2 и 4 в положение с пути 2П. Это контролируется включением белой лампочки на пути 2П. Для открытия выходного светофора Н2 дежурный нажимает трехпозиционную кнопку Т «Отправление». Открытие светофора проверяется включением зеленой лампочки повторителя Н2. Одновременно включается красная лампочка «Занятие перегона отправления», контролирующая прохождение блокировочного сигнала ПО на соседнюю ст. Б, и выключается зеленая лампочка «Получение согласия» (полученное согласие использовано). При выходе поезда за светофор Н2 и занятии стрелочного изолированного участка 2-4СП включается красная лампочка этого участка и закрывается выходной светофор (зеленая лампочка повторителя выключается). Закрытие светофора может быть подтверждено отжатием от панели кнопки «Отправление». После прибытия поезда на соседнюю станцию и посылки блокировочного сигнала выключается красная лампочка «Занятие перегона отправления».
Прием поезда с соседней станции в четном направлении возможен в том случае, если с аппарата управления был послан на соседнюю станцию сигнал «Дача согласия» нажатием трехпозиционной кнопки Т и была включена желтая лампочка ДС «Дача согласия». При открытии выходного светофора на соседней станции на пульте-стативе выключается желтая лампочка ДС и включается красная лампочка «Занятие перегона приема». Дежурный по станции проверяет по негорящим красным лампочкам свободность стрелочного участка 2-4СП и пути 2П. После установки маршрута приема на станции входной светофор Ч открывают нажатием трехпозиционной кнопки Т «Прием». После этого в повторителе выключается зеленая лампочка и включается красная.
В результате прибытия поезда с перегона на станцию в повторителе светофора вместо зеленой лампочки вновь включается красная. При проследовании стрелочной секции 2-4СП сначала включается, а затем гаснет красная лампочка этой секции. При занятии пути 2П горит красная лампочка этого пути. После разделки маршрута приема и выключения белой лампочки установки маршрута блокировочный сигнал «Путевое прибытие» подается нажатием кнопки «Дача прибытия». В результате этого выключается красная лампочка «Занятие перегона приема».
Ключ-жезл. Ключи-жезлы в аппаратах управления устанавливают для возможности отправления на перегон хозяйственного поезда или толкача. Ключ-жезл дает право толкачу после подталкивания возвратиться с перегона обратно на станцию. В замке ключ-жезл нормально не замкнут. Поезд с толкачом отправляется по открытому выходному светофору. Ключ-жезл, выданный для хозяйственного поезда, дает право выезда на перегон под закрытый выходной светофор и возвращения обратно с перегона на станцию. Изъятие ключа-жезла из замка ставится в зависимость от свободности перегона на двухпутных участках или от получения согласия с соседней станции на однопутных участках. Для извлечения ключа-жезла необходимо нажать на пульте-стативе кнопку ОХ (отправление хозяйственного поезда) для срабатывания электрозащелки (на рис. 14.6 кнопка не показана).

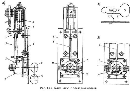
Ключ-жезл 9 (рис. 14.7, а, б и в) представляет собой фигурообразную пластинку с ограничителем 13 и металлической подвеской 10. На металлической подвеске указывается название перегона. На ключ-жезл наносят его серию. Ключи-жезлы разных серий отличаются формой конца пластинки. Ключ-жезл 9 находится в барабане замка 1, связанного с сегментом 2. Настройка барабана замка на серию ключа-жезла выполняется четырьмя спиральными пружинами и восемью металлическими штифтами различной длины. На барабане замка имеется текстолитовая пластинка 11 с двумя контактными металлическими накладками 14, служащая для замыкания и размыкания контактных пружин 12 (1-2 и 3-4).
В барабан замка может быть вложен только ключ-жезл одной с ним серии. Замок вместе с электрозащелкой крепят на основании 8. Основными частями электрозащелки являются катушка (с сердечником) 6, установленная на ярме 7, которое закреплено четырьмя винтами на основании 8. В нижней части якорь 4 имеет прорезь для стопорного стержня 3, взаимодействующего с контактными пружинами 5.
В исходном положении ключ-жезл 9 находится в замке 1. В катушке электрозащелки ток не протекает и якорь ее находится в отпущенном положении. На рис. 14.7а положение якоря 4 и стопорного стержня 3 изображено штрихпунктиром. Сегмент 2 барабана замка (см. рис. 14.7в) расположен слева от стопорного стержня 3, который замыкает ключ-жезл в барабане замка. Ключ-жезл извлечь невозможно. Правая контактная накладка 14 замыкает правые (3-4) контактные пружины 12. Замкнуты также контактные пружины 5 электрозащелки.
Для извлечения ключа-жезла из замка необходимо замкнуть цепь постоянного тока, протекающего через катушку 6 электрозащелки (см. рис. 14.7, а). Тогда якорь 4 притягивается, контактные пружины 5 размыкаются и стопорный стержень 3 отпирает сегмент 2 барабана замка 1. После этого ключ-жезл поворачивают вместе с барабаном текстолитовой пластинкой 11 и контактными накладками 14 против часовой стрелки на угол 90° до упора. Правые (3-4) контактные пружины 12 размыкаются, а левые (1-2) замыкаются контактной накладкой 14. Сегмент 2 барабана занимает положение под стопорным стержнем 3 и при обесточивании электрозащелки удерживает стопорный стержень вместе с якорем 4 в притянутом положении. Ключ-жезл после поворота свободно извлекают.
Вкладывают ключ-жезл в замок и поворачивают его по часовой стрелке на угол 90° при обесточенной электрозащелке. При этом якорь 4 отпадает и стопорный стержень 3 замыкает сегмент 2 барабана замка вместе с ключом-жезлом.
Счетчик искусственного размыкания СЧМ-1. Счетчик искусственного размыкания СЧМ-1 устанавливают на пульте-стативе вместо пломбируемых кнопок. Основной частью счетчика (рис. 14.8) является основание 4, на котором размещается ось 2 с кнопкой 1, пружиной 17 и изоляционной колодкой 18. С изоляционной колодкой связаны три пары контактных пружин 16, укрепленных в планках 15. Правые контактные пружины (11-13) нормально замкнуты, а средние (21-22) и крайние левые (31-32) нормально разомкнуты. На оси 2 размещается стойка 5 с прорезью и ведущей собачкой 6, расположенной на оси 19. Под действием пружины 20 ведущая собачка прижата к стойке 5. На оси 12 расположен счетный механизм, состоящий из четырех свободно размещенных на оси цифровых барабанов 8 и трех звездочек 14, находящихся на оси 13. Три барабана имеют цифры от 0 до 9, а четвертый — две цифры 0 и 1. Крайний правый барабан жестко скреплен с храповым колесом 23, а крайний левый — с полумуфтой 10, дополненной пружиной 11. В нижней части полумуфта 10 имеет вырез, в который под действием пружины 7 может западать стопор 9. Храповое колесо 23 взаимодействует с ведомой собачкой 22, имеющей пружину 21. С лицевой стороны счетчик закрывается пломбируемым кожухом 3 со смотровым окном.

При нажатии на кнопку 1 стойка 5 на оси 2 вместе с ведущей собачкой 6 перемещается в сторону механизма на 8 мм (в границах прорези стойки 5). Храповое колесо 23 и первый цифровой барабан под действием ведущей собачки 6 поворачивается по часовой стрелке на один зубец, и в смотровом окне появляется цифра на одну единицу больше предыдущей. Остальные три цифровых барабана остаются неподвижными. Ведомая собачка 22, преодолевая натяжение пружины 21, входит в зацепление со следующим зубцом храпового колеса. Контактные пружины 11-13 размыкаются при нажатии кнопки. Контактные пружины 21-22 и 31-32 замыкаются только после увеличения показания счетчика на одну единицу и после фиксации этого положения вспомогательной собачкой 22. Нормально разомкнутые контакты счетчика находятся в цепи возбуждения приборов, контролирующих прибытие поезда.
После отпускания кнопки 1 под действием пружины 17 стойка 5 возвращается обратно и ведущая собачка 6, преодолевая натяжение пружины 20, перескакивает на следующий зубец храпового колеса. Ведомая собачка 22 предотвращает поворот храпового колеса в обратную сторону. Контактные пружины 11-13 замыкаются лишь после того, как ведущая собачка 6 перескочит через верхний зубец храпового колеса.
Нормально замкнутые контакты счетчика находятся в цепи посылки блокировочных сигналов прибытия, чем исключается подача этих сигналов при нажатом положении кнопки.
Если кнопка нажимается на цифре 9 в смотровом окне, то первый цифровой барабан вводится в зацепление с первой звездочкой 14, которая, поворачиваясь, воздействует на штифты второго цифрового барабана. Цифра 9 в смотровом окне сменится на 10. При цифре 99 после нажатия кнопки в смотровом окне появится число 100. Конечное показание счетчика — цифра 1000. После тысячного срабатывания кнопка счетчика автоматически запирается и работа контактных пружин и перевод цифр исключаются. Запирание счетчика происходит в результате западания стопора 9 в нижний вырез полумуфты 10. Правый конец стопора 9 опускается вниз и препятствует перемещению стойки 5.
Дальнейшая работа счетчика возможна после снятия кожуха 3, выведения из зацепления стопора 9 и установки на счетчике показания 0.
Перед переводом счетчика в нормальное положение его настоящее показание записывают в Журнал осмотра с указанием причины снятия пломбы с кожуха.
После перевода счетчика в нулевое положение и пломбирования его кожуха новое показание также записывают в Журнал осмотра, которое подписывает дежурный по станции.
Пульты, табло и шкафы с вспомогательными кнопками должны удовлетворять следующим требованиям: все части корпуса изделия, в том числе рама, дверцы, щиты и панель, должны быть тщательно подогнаны друг к другу, а дверцы иметь приспособления для пломбирования, кнопки и коммутаторы должны быть прочно закреплены на панели и иметь легкий ход стержней без перекосов и заедания; контактная система должна обеспечивать надежный контакт со скольжением не менее 0,25 мм, расстояние между контактами — не менее 2 мм, в перелете — не менее 0,8 мм и контактное давление — не менее 20 Г; световые ячейки должны быть надежно прикреплены с задней стороны панели; патроны ламп прочно, без качания, закреплены в корпусах ячеек; полоски из бесцветного органического стекла тщательно пригнаны по вырезам в панели и прочно запрессованы в них.
Люди также интересуются этой лекцией: 4 Применение количественных методов.
Все электрические соединения внутри аппаратов выполняются проводом марки ПМВГ или МРГП сечением 0,5—0,75 мм2, силовых цепей — проводом марки МГВЛ сечением 2—5 мм2 или марки УВГ сечением 2,5—6 мм2, секции связи — проводом марки ПМВ сечением 0,2 мм2, цепи питания 0,5—1 мм2.
Все провода должны быть цельными от одного места включения до другого. Применение скруток или спаек проводов в пределах одного куска не допускается. Пайка проводов производится припоем марки ПОС-40 безкислотным способом с последующей закраской мест паек цветным лаком. Монтажные провода должны быть аккуратно собраны в жгут, перевязаны суровой вощеной ниткой и закреплены скобами с прессшпановыми, фибровыми или другими изоляционными прокладками или обернуты изоляционной или промазанной киперной лентой.
В местах, где провода располагаются близко к металлическим стенкам и другим частям аппарата или подвергаются опасности механического повреждения, жгут, кроме перевязки нитками, обертывают липкой полихлорвиниловой лентой.
Список используемой литературы:
А.А. Казаков, В.Д. Бубнов, Е.А. Казаков «Системы интервального регулирования движения поездов». Москва. Транспорт. 1986 г.
П.Н. Жильцов, Д.М. Гумбург «Пособие электромеханику электрической централизации». Москва. Транспорт. 1973 г.





















