Муфты
Муфты.
1. Общие сведения.
Муфтами называют устройства, предназначенные для соединения валов и для передачи крутящего момента без изменения его величины и направления.
В зависимости от конструкции муфты могут выполнять специальные функции:
1. Включение и выключение исполнительных органов машины без остановки двигателя (специальные муфты).
2. Предохранительные от перегрузок (предохранители)
3. Уменьшение динамичности (ударности нагрузок), (упругие муфты).
4. Компенсация погрешности установки валов.
5. Самоуправление по некоторым параметрам движения (например: по крутящему моменту, по направлению вращения, по скорости вращения), (автоматические муфты).
Рекомендуемые материалы
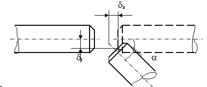
Все муфты в той или иной степени обладают компенсирующей способностью, т.к. вследствие неточности монтажа, оси валов не совпадают (не соосность валов).

da – max осевое смещение вала;
dr – max радиальное смещение вала;
a- max угловое смещение вала.
Муфта будет работоспособна, если несоосность валов не превышает предельных значений, зависящих от конструкции муфты.
Неточность расположения валов вызывает дополнительные радиальные нагрузки со стороны муфты на вал. Все муфты обычно состоят из 2 полумуфт, соединяющих концы вала. Полумуфты устанавливают на цилиндрические или конические концы валов по переходным посадкам.

Муфты являются стандартными узлами и на практике подбираются по соответствующим стандартам. По меньшему диаметру соединяемых валов и проверяют по расчетному крутящему моменту, который равняется Тр= kT £[T] , где
k- коэффициент эксплуатации, зависит от вида нагрузки (т.е. от вида исполнительного механизма или рабочего органа);

Т – номинальный крутящий момент;
[T] - допускаемый муфтой крутящий момент.
Данную муфту можно собрать, если диаметры соединяемых валов различаются не более чем на 20%.

1 - втулочные;
2 - фланцевые;
3 - муфты с резиновым упругим элементом;
4 - муфты с металлическим упругим элементом;
5 - зубчатая муфта;
6 - цепная муфта;
7 - кулачково-дисковая муфта (крестовая);
8 - шарнирная;
9 - фрикционная муфта;
10 - зубчатая;
11 - кулачковая;
12 - самоуправляемые по скорости вращения (центробежные);
13 - самоуправляемые по направлению вращения (обгонные);
14 - самоуправляемые по крутящему моменту (предохранительная).
Управляемые муфты позволяют включать и отключать вращение исполнительного механизма без остановки двигателя.
Самоуправляемые муфты позволяют включать и выключать вращение автоматически.
Неуправляемые муфты.
Жесткие муфты устанавливаются на валах, которые практически не имеют отклонений от соосности (практически нигде), т.к. эти муфты не допускают несоосности. Используются в т.н. фланцевых редукторах, в которых электродвигатель крепится на крышке редуктора.

Упругие муфты.
Способны демпфировать (заглушать) колебания и вибрации, а также амортизировать удары и толчки. Эти муфты устанавливаются там, где возможны вибрации и ударное включение. Например, такие муфты желательно устанавливать между электродвигателем и редуктором. Наибольшее распространение получили муфты с упругим элементом, а именно МУВП (муфта упругая втулочно – пальцевая).

1 – втулка (резина);
2 – палец (сталь).
Эта втулка допускает следующую нестабильность валов:
dа £ 5мм
dr £ 0.6мм
a £ 1°
Критерии работоспособности МУВП:
1. Прочность резиновых втулок на смятие.
2. Прочность пальцев на изгиб.
Расчет втулок на смятие проводится по формуле:

Расчет пальцев на изгиб проводится следующим образом:


Со стороны муфты на вал действует сила приблизительно равная:

Возможны следующие конструкции муфт: муфта с резиновой торообразной оболочкой.
Такая муфта допускает: dа £ 11мм
dr £ 5мм
a £ 2°

Муфты с металлическим упругим элементом. В качестве элемента могут служить пружины, пластины, стержни. Такие муфты обладают большой нагрузочной способностью, долговечностью, имеют меньшие габариты. Однако, у них меньше деформируемая способность, чем у муфт с резиновыми элементами. Реальная конструкция см. учебник Иванова.
Компенсирующие муфты.
Эти муфты позволяют установить валы с относительно большими несоосностями (погрешностями).

Состоит из двух полумуфт 1,2 с наружными зубьями эвольвентного профиля, разъемной обоймы 3 с двумя рядами внутренних зубьев. Муфта компенсирует все виды несоосностей: dа £ 8мм
dr £ 8мм
a £ 2°.
При работе муфты происходит скольжение и износ зубьев, поэтому во внутреннюю полость обоймы заливают жидкий смазочный материал (4).
Основной критерий работоспособности муфты – износостойкость зубьев, которая связана с напряжениями смятия.

Цепная муфта представляет собой 2 звездочки и наброшенной на них цепью.

Муфта допускает следующие отклонения: dа £ 3.5мм
dr £ 1.2мм
a £ 1°.
Достоинством такой муфты является простота конструкции, не требуется разведения валов при сборке.
Муфты управляемые (сцепные).
Служат для соединения и разъединения валов при работающем двигателе. По принципу действия делятся на две группы:
· Основанные на трении (фрикционные); (1)
· Основанные на зацеплении (зубчатая, кулачковая). (2)
Достоинства (1):
1. Плавное включение при любых скоростях вращения.
2. Предохранительная функция от перегрузок.
Недостаток (1):
Повышенные габариты.
Фрикционные муфты.
Бывают дисковые и многодисковые.

Фрикционная накладка ставится для увеличения трения и уменьшения износа.
, откуда подбирается сила Q:

S=1.5¸2
Сила прижатия Q ограничивается прочностью материала в контакте.
Модернизация муфты , как правило, идет по двум параметрам f, Q. Предельная сила рассчитывается по формуле:

Момент (Тр) часто повышают засчет увеличения числа трущихся поверхностей, т.е. муфты изготавливаются многодисковые.


z- число пар трения;
n- число дисков.
Число дисков ограничиваются одиннадцатью, засчет резкого уменьшения сил прижатия средних дисков.
Муфты, основанные на принципе зацепления.
· Цепная

· Кулачковая

Кулачки могут быть различны по форме:
· Прямоугольный профиль

Достоинства:
Простота
Недостатки:
1. Требуют точного взаимного положения полумуфт в момент включения.
2. В таких муфтах неизбежны технологические боковые зазоры и связанные с этим удары при изменении направления вращения. Зазоры увеличиваются при износе кулачков.
· Трапецеидальный профиль

Достоинства:
1. Простота
2. Не требуют точного взаимного расположения полумуфт в момент включения
3. Боковые зазоры компенсируются изменением глубины посадки кулачков.
Недостатки:
1. Возникают осевые силы, которые стремятся раздвинуть полумуфты и затрудняют включение.
2. При реверсивном вращении возможны удары и ударное включение засчет небольшого бокового зазора.
Самоуправляемые (автоматические (муфты).
Муфты самоуправляемые по скорости.
Их используют для автоматического включения и выключения исполнительного механизма с помощью регулировки угловой скорости двигателя; разгона машин с большими маховыми массами при двигателе с малым пусковым моментом; для повышения плавности пуска; включения при перегрузках (бензопила), когда бензодвигатель сбавляет обороты и может заглохнуть и т.п.
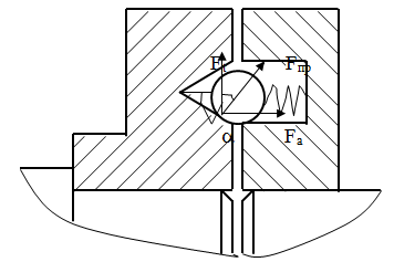
Муфта состоит:
1 – ведомая полумуфта;
2 – ведущая полумуфта с колодками (3), число колодок z=2,4,6..
4 – пружина, которая имеет возможность менять жесткость.

Такая муфта имеет три режима работы:
1. Полное выключение, w £ w0

FПР – сила пружины

2.Зона частичной пробуксовки.

3.Номинальный режим работы без пробуксовки.

Муфты самоуправляемые по направлению вращения.
Эти муфты передают крутящий момент только в одном заданном направлении. Их применяют в станках, автомобилях, мотоциклах, велосипедах и т.д.

Состоит из ведомой полумуфты (1), ведущей полумуфты (2), шарика или ролика (3), (4) – толкатель с пружиной, предназначен для удержания ролика в постоянном соприкосновении с обоймой.
Муфты самоуправляемые по крутящему моменту (предохранительные).
Применяются там, где возможны перегрузки в приводе.
· Муфта со срезным штативом:



Тсраб » 1.1Тmax , где Тmax – максимально возможный момент в приводе (например, пусковой момент электродвигателя).
Муфты такого типа применяются лишь в том случае, если вероятность перегрузки незначительна.
Наиболее удобными с этой точки зрения являются муфты предохранительные шариковые и др.
Вместе с этой лекцией читают "1.9 Дифференциальные зависимости между q, Qy, Mx".

Fа £ Fпр – включение
Fа > Fпр – выключение

Тсраб – момент, при котором муфта сработает.























