Промысловая подготовка нефти
5.2 промысловая подготовка нефти
Из нефтяных скважин в общем случае извлекается сложная смесь, состоящая из нефти, попутного нефтяного газа, воды и мехпримесей (песка, окалины и проч.). В таком виде транспортировать продукцию нефтяных скважин по магистральным нефтепроводам нельзя. Во-первых, вода — это балласт, перекачка которого не приносит прибыли. Во-вторых, при совместном течении нефти, газа и воды имеют место значительно большие потери давления на преодоление сил трения, чем при перекачке одной нефти. Кроме того, велико сопротивление, создаваемое газовыми шапками, защемленными в вершинах профиля и скоплений воды и пониженных точках трассы. В-третьих, минерализованная пластовая вода вызывает ускоренную коррозию трубопроводов и резервуаров, а частицы мехпримесей — абразивный износ оборудования.
Целью промысловой подготовки нефти является ее дегазация, обезвоживание, обессоливание и стабилизация.
5.2.1 Дегазация
Дегазация нефти осуществляется с целью отделения газа от нефти. Аппарат, в котором это происходит называется сепаратором, а сам процесс разделения — сепарацией.
Процесс сепарации осуществляется в несколько этапов (ступеней). Чем больше ступеней сепарации, тем больше выход дегазированной нефти из одного и того же количества пластовой жидкости. Однако при этом увеличиваются капиталовложения в сепараторы. В связи с вышесказанным число ступеней сепарации ограничивают двумя-тремя.
Сепараторы бывают вертикальные, горизонтальные и гидроциклонные.
Вертикальный сепаратор представляет собой вертикально установленный цилиндрический корпус с полусферическими днищами, снабженный патрубками для ввода газожидкостной смеси и вывода жидкой и газовой фаз, предохранительной и регулирующей арматурой, а также специальными устройствами, обеспечивающими разделение жидкости и газа.
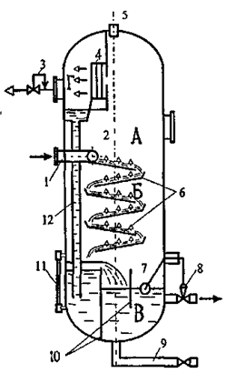
Вертикальный сепаратор работает следующим образом (Рисунок 5.5).
Рекомендуемые материалы

Рисунок 5.5 — Вертикальный сепаратор
А — основная сепарационная секция; К — осадительная секция; В — секция сбора нефти; Г— секция каплеудаления; 1 — патрубок ввода газожидкостной смеси; 2 — раздаточный коллектор со щелевым выходом; 3 — регулятор давления «до себя» на линии отвода газа; 4 — жалюзийный каплеуловитель; 5 — предохранительный клапан; 6 — наклонные полки; 7 — поплавок; 8 — регулятор уровня на линии отвода нефти; 9 — линия сброса шлама; 10 — перегородки; 11 — уровнемерное стекло; 12 — дренажная труба
Газонефтяная смесь под давлением поступает в сепаратор по патрубку 1 в раздаточный коллектор 2 со щелевым выходом. Регулятором давления 3 в сепараторе поддерживается определенное давление, которое меньше начального давления газожидкостной смеси. За счет уменьшения давления из смеси в сепараторе выделяется растворенный газ. Поскольку этот процесс не является мгновенным, время пребывания смеси в сепараторе стремятся увеличить за счет установки наклонных полок 6, по которым она стекает в нижнюю часть аппарата. Выделяющийся газ поднимается вверх. Здесь он проходит через жалюзийный каплеуловитель 4, служащий для отделения капель нефти, и далее направляется в газопровод. Уловленная нефть по дренажной трубе 12 стекает вниз.
Контроль за уровнем нефти в нижней части сепаратора осуществляется с помощью регулятора уровня 8 и уровнемерного стекла 11. Шлам (песок, окалина) из аппарата удаляется по трубопроводу 9.
Достоинствами вертикальных сепараторов являются относительная простота регулирования уровня жидкости, а также очистки от отложений парафина и механических примесей. Они занимают относительно небольшую площадь, что особенно важно в условиях морских промыслов, где промысловое оборудование монтируется на платформах или эстакадах. Однако вертикальные сепараторы имеют и существенные недостатки: меньшую производительность по сравнению с горизонтальными при одном и том же диаметре аппарата; меньшую эффективность сепарации.
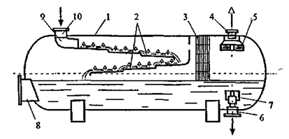
Горизонтальный газонефтяной сепаратор (Рисунок 5.6) состоит из технологической емкости 1, внутри которой расположены две наклонные полки 2, пеногаситель 3, влагоотделитель 5 и устройство 7 для предотвращения образования воронки при дренаже нефти. Технологическая емкость снабжена патрубком 10 для ввода газонефтяной смеси, штуцерами выхода газа 4 и нефти 6 и люк-лазом 8. Наклонные полки выполнены в виде желобов с отбортовкой не менее 150 мм. В месте ввода газонефтяной смеси в сепаратор смонтировано распределительное устройство 9.

Рисунок 5.6 — Горизонтальный газонефтяной сепаратор
1 — технологическая емкость; 2 — наклонные желоба; 3 — пеногаситель; 4 — выход газа, 5 — влагоотделитель; 6 — выход нефти; 7 — устройство для предотвращения образования воронки; 8 — люк-лаз; 9 — распределительное устройство; 10 — ввод продукции
Сепаратор работает следующим образом. Газонефтяная смесь через патрубок 10 и распределительное устройство 9 поступает на полки 2 и по ним стекает в нижнюю часть технологической емкости. Стекая по наклонным полкам, нефть освобождается от пузырьков газа. Выделившийся из нефти газ проходит пеногаситель 3, где разрушается пена, и влагоотделитель 5, где очищается от капель нефти, и через штуцер выхода газа 4 отводится из аппарата. Дегазированная нефть накапливается в нижней части технологической емкости и отводится из аппарата через штуцер 6.
Для повышения эффективности процесса сепарации в горизонтальных сепараторах используют гидроциклонные устройства.
Горизонтальный газонефтяной сепаратор гидроциклонного типа (Рисунок 5.7) состоит из технологической емкости 1 и нескольких одноточных гидроциклонов 2. Конструктивно однотонный циклон представляет собой вертикальный цилиндрический аппарат с тангенциальным вводом газонефтяной смеси, внутри которого расположены направляющий патрубок 3 и секция перетока 4.

Рисунок 5.7 — Горизонтальный газонефтяной сепаратор гидроциклонного типа
1 — емкость; 2 — однотомный гидроциклон; 3 — направляющий патрубок; 4 — секция перетока; 5 —каплеотбойник; 6 — распределительные решетки; 7 — наклонные полки; 8 — регулятор уровня
В одноточном гидроциклоне смесь совершает одновременно вращательное движение вокруг направляющего патрубка и нисходящее движение, образуя нисходящий вихрь. Нефть под действием центробежной силы прижимается к стенке циклона, а выделившийся и очищенный от капель жидкости газ движется в центре его. В секции перетока нефть и газ меняют направление движения с вертикального на горизонтальное и поступают раздельно в технологическую емкость. Далее газовый поток проходит каплеотбойник 5, распределительные решетки 6 и выходит из сепаратора. Нефть по наклонным полкам 7 стекает в нижнюю часть емкости. Ее уровень поддерживается с помощью регулятора 8.
5.2.2 Обезвоживание
При извлечении из пласта, движении по насосно-компрессорным трубам в стволе скважины, а также по промысловым трубопроводам смеси нефти и воды, образуется водонефтяная эмульсия — механическая смесь нерастворимых друг в друге и находящихся в мелкодисперсном состоянии жидкостей.
Различают два типа эмульсий: «нефть в воде» и «вода в нефти». Тип образующейся эмульсии, в основном, зависит от соотношения объемов фаз, а также от температуры, поверхностного натяжения на границе «нефть-вода» и др.
Для разрушения эмульсий применяются следующие методы:
¨ гравитационное холодное разделение;
¨ внутритрубная деэмульсация;
¨ термическое воздействие;
¨ термохимическое воздействие;
¨ электрическое воздействие;
¨ фильтрация;
¨ разделение в поле центробежных сил.
Гравитационное холодное разделение применяется при высоком содержании воды в пластовой жидкости. Отстаивание производится в отстойниках периодического и непрерывного действия.
В качестве отстойников периодического действия обычно используются сырьевые резервуары, аналогичные резервуарам для хранения нефти. После заполнения таких резервуаров сырой нефтью вода осаждается в их нижнюю часть.
В отстойниках непрерывного действия отделение воды осуществляется при непрерывном прохождении обрабатываемой смеси через отстойник. Принципиальная схема отстойника непрерывного действия приведена на рисунке 5.8.

Рисунок 5.8 — Принципиальная схема отстойника непрерывного действия
Длина отстойника определяется из условия, что от нефти должны отделиться капли заданного размера.
Сущность метода внутритрубной деэмульсации заключается в том, что в смесь нефти и воды добавляется специальное вещество — деэмульгатор в количестве 15 ... 20 г на тонну эмульсии. Деэмульгатор разрушает бронирующую оболочку на поверхности капель воды и обеспечивает тем самым условия для их слияния при столкновениях. В последующем эти укрупнившиеся капельки относительно легко отделяются в отстойниках за счет разности плотностей фаз.
Термическое воздействие заключается в том, что нефть, подвергаемую обезвоживанию, перед отстаиванием нагревают. При нагревании, с одной стороны, уменьшается прочность бронирующих оболочек на поверхности капель, а, значит, облегчается их слияние, с другой стороны, уменьшается вязкость нефти, в которой оседают капли, а это увеличивает скорость разделения эмульсии.
Нагревают эмульсию в резервуарах, теплообменниках и трубчатых печах до температуры 45 ... 80 °С.
Термохимический метод заключается в сочетании термического воздействия и внутритрубной деэмульсации.
Электрическое воздействие на эмульсии производится в аппаратах, которые называются электродегидраторами. Под действием электрического поля на противоположных концах капель воды появляются разноименные электрические заряды. В результате капельки притягиваются друг к другу и сливаются. Затем они оседают на дно емкости.
Фильтрация применяется для разрушения нестойких эмульсий. В качестве материала фильтров используются вещества, не смачиваемые водой, но смачиваемые нефтью. Поэтому нефть проникает через фильтр, вода нет.
Разделение в поле центробежных сил производится в центрифугах, которые представляют собой вращающийся с большим числом оборотов ротор. В ротор по полому валу подается эмульсия. Здесь она под действием сил инерции разделяется, так как капли воды и нефти имеют различные плотности.
При обезвоживании содержание воды в нефти доводится до 1 ... 2 %.
5.2.3 Обессоливание
Обессоливание нефти осуществляется смешением обезвоженной нефти с пресной водой, после чего полученную искусственную эмульсию вновь обезвоживают. Такая последовательность технологических операций объясняется тем, что даже в обезвоженной нефти остается некоторое количество воды, в которой и растворены соли. При смешении с пресной водой соли распределяются по всему ее объему и, следовательно, их средняя концентрация в воде уменьшается.
При обессоливании содержание солей в нефти доводится до величины менее 0.1 %.
5.2.4 Стабилизация
Под процессом стабилизации нефти понимается отделение от нее легких (пропан-бутанов и частично бензиновых) фракций с целью уменьшения потерь нефти при ее дальнейшей транспортировке.
Стабилизация нефти осуществляется методом горячей сепарации или методом ректификации. При горячей сепарации нефть сначала нагревают до температуры 40 ... 80 0С, а затем подают в сепаратор. Выделяющиеся при этом легкие углеводороды отсасываются компрессором и направляются в холодильную установку. Здесь тяжелые углеводороды конденсируются, а легкие собираются и закачиваются в газопровод.
При ректификации нефть подвергается нагреву в специальной стабилизационной колонне под давлением и при повышенных температурах (до 240 °С). Отделенные в стабилизационной колонне легкие фракции конденсируют и перекачивают на газофракционирующие установки или на ГПЗ для дальнейшей переработки.
К степени стабилизации товарной нефти предъявляются жесткие требования: давление упругости ее паров при 38 °С не должно превышать 0.066 МПа (500 мм рт. ст.).
5.2.5 Установка комплексной подготовки нефти
Процессы обезвоживания, обессоливания и стабилизации нефти осуществляются на установках комплексной подготовки нефти (УКПН).
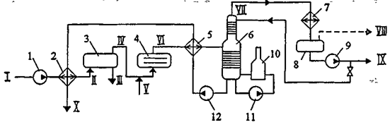
Принципиальная схема УКПН с ректификацией приведена на рисунке 5.9.
Вместе с этой лекцией читают "Контрольные тесты для самопроверки знаний".

Рисунок 5.9 — Принципиальная схема установки комплексной подготовки нефти
1, 9, 11, 12 — насосы; 2, 5 — теплообменники; 3 — отстойник; 4 — электродегидратор; 6 — стабилизационная колонна; 7 — конденсатор-холодильник; 8 — емкость орошения; 10 — печь
I — холодная "сырая" нефть; II — подогретая "сырая" нефть; III — дренажная вода; IV — частично обезвоженная нефть; V — пресная вода; VI — обезвоженная и обессоленная нефть; VII — пары легких углеводородов; VIII — несконденсировавшиеся пары; IX — широкая фракция (сконденсировавшиеся пары); X — стабильная нефть.
Работает УКПН следующим образом. Холодная «сырая» нефть из резервуаров ЦСП насосом 1 через теплообменник 2 подается в отстойник 3 непрерывного действия. Здесь большая часть минерализованной воды оседает на дно аппарата и отводится для дальнейшей подготовки с целью закачки в пласт (III). Далее в поток вводится пресная вода (V), чтобы уменьшить концентрацию солей в оставшейся минерализованной воде. В электродегидраторе 4 производится окончательное отделение воды от нефти и обезвоженная нефть через теплообменник 5 поступает в стабилизационную колонну 6. За счет прокачки нефти из низа колонны через печь 10 насосом 11 ее температура доводится до 240 °С. При этом легкие фракции нефти испаряются, поднимаются в верхнюю часть колонны и далее поступают в конденсатор-холодильник 7. Здесь пропан-бутановые и пентановые фракции в основном конденсируются, образуя так называемую широкую фракцию, а несконденсировавшиеся компоненты отводятся для использования в качестве топлива. Широкая фракция откачивается насосом 9 на фракционирование, а частично используется для орошения в колонне 6. Стабильная нефть из низа колонны насосом 12 откачивается в товарные резервуары. На этом пути горячая стабильная нефть отдает часть своего тепла сырой нефти в теплообменниках 1, 5.
Нетрудно видеть, что в УКПН производятся обезвоживание, обессоливание и стабилизация нефти. Причем для обезвоживания используются одновременно подогрев, отстаивание и электрическое воздействие, т.е. сочетание сразу нескольких методов.





















