Оборудование для промывки скважин
1.6. Оборудование для промывки скважин
В скважинах, через которые эксплуатируются нефтяные горизонты, сложенные рыхлыми песками, мощность песчаных пробок достигает 200¸400 м. Приток нефти снижается и может прекратиться.
Ликвидацию песчаных пробок проводят промывкой скважин водой, различными жидкостями, газожидкостными смесями, пенами, продувкой воздухом, очисткой скважины с помощью струйного насоса, желонки или гидробура [5].
1.6.1. Установки насосные
При проведении различных технологических операций в нефтяных и газовых скважинах, включая цементирование, гидравлический разрыв пластов, кислотную обработку, промывку песчаных пробок и другие промывочно‑продавочные работы, применяются насосные установки, которые обеспечивают выполнение вышеперечисленных работ.
Агрегат насосный цементировочный АНД 320 (рис. 29) (АНД 320У) предназначен для нагнетания рабочих жидкостей при цементировании скважин в процессе бурения и капитального ремонта, а также при проведении других промывочно-продавочных работ на нефтяных и газовых скважинах.

Рис. 29. Агрегат насосный цементировочный АНД 320
Агрегат АНЦ 320 дополнительно оборудован устройством для подогрева гидравлической части насоса НЦ 320, коллектором для обеспечения одновременной работы нескольких агрегатов, комплектом ЗИП, различными приспособлениями.
Технические характеристики агрегата АНЦ 320
Монтажная база шасси автомобиля КрАЗ,
Рекомендуемые материалы
УРАЛ, КаМАЗ
Насос НЦ320:
предельное давление нагнетания, МПа 40
наибольшая идеальная подача, дм3/с 26
Мощность, кВт, не более 32
Центробежный насос ЦНС 38-154:
подача, дм3/с 10,5
давление, МПа 1,54
Манифольд:
Вместимость, м3
мерного бака 6
бачка для цементного раствора 0,25
Условный диаметр, мм:
приемной линии цементировочного и
центробежного насосов 100
напорной линии цементировочного и
центробежного насосов 50
Габаритные размеры агрегата АНЦ 320,
мм, не более 10150´2700´3225
Масса агрегата полная, кг 16000
Агрегат АНЦ 320 является улучшенным агрегатом Грозненского ЦА-320.
Агрегат наносный продавочный АНП 320 (АНП 320У) предназначен для нагнетания различных жидких сред в скважины в процессе бурения и капитального ремонта, а также при проведении других промывочно-продавочных работ в нефтяных и газовых скважинах.
Технические характеристики агрегата АНП 320
Монтажная база шасси автомобиля КрАЗ-250
(УРАЛ-4320)
Насос НЦ320
Полезная мощность, кВт 108
Предельное давление нагнетания, МПа 40
Наибольшая идеальная подача, дм3/с 26
Габаритные размеры агрегата, мм, не более 10150´2700´3225
Масса агрегата, кг:
полная 15000
комплекта 14460
Установка, насосная УНК предназначена для нагнетания неагрессивных жидких сред в скважины в процессе их текущего и капитального ремонта.
Техническая характеристика УНК
Монтажная база шасси автомобиля повышенной
проходимости КамАЗ- 43101
Наибольшее давление нагнетания, МПа 23
Наибольшая идеальная подача, дм3/с 15,35
Агрегат промывочный ПА-80 (ПА-80-01) предназначен для закачки промывочной жидкости в скважины при геологоразведочном, структурно-поисковом бурении и перекачки жидкости.
Техническая характеристика
Монтажная база шасси автомобиля
УРАЛ-4320 (КрАЗ-260Г)
Предельное давление, МПа 12
Наибольшая объёмная подача, л/с 10,8
Насосные установки УН1-100´200, УНТ1-100´250, УНБ1- 100´250, УНБ1Р‑100´250 предназначены для нагнетания различных жидких сред в скважины в процессе текущего и капитального ремонта, а также при проведении других промывочно- продавочных работ.
Насосная установка УНТ1-100´250 (рис. 30) смонтирована на базе трактора Т‑130МГ, состоит из насоса, коробки отбора мощности, коробки передач, цепного редуктора, манифольда, вспомогательного трубопровода, системы управления, обогрева и продувки. Привод насоса от тягового двигателя через коробку отбора мощности, карданные валы, четырехскоростную коробку передач и цепной редуктор.

Рис. 30. Насосная установка УНТ 1-100´250:
1 – гусеничная транспортная база трактора Т-130МГ; 2 – обогрев; 3 – продувка; 4 – насос; 5 ‑ манифольд; 6 – цепной редуктор
Насосная установка УНБ1Р-100´250 на раме состоит из силового агрегата, трансмиссии, насоса, манифольда, вспомогательного трубопровода, мерного, бака, системы управления, электрооборудования и кабины оператора. Привод насоса - от дизельного двигателя через коробку передач.
Во всех установках насос - трехплунжерный горизонтальный одностороннего действия.
Насосные установки УН1-100´200 и УНБ1-100´250 (рис. 31) состоят из насоса, коробки отбора мощности, карданного вала, манифольда и вспомогательного трубопровода.

Рис. 31. Насосная установка УНБ1-100´250:
1 – шасси автомобиля УРАЛ-4320; 2 – мерный бак; 3 – насос Н5-160; 4 – манифольд; 5 ‑ вспомогательный трубопровод; 6 – рама
Привод насоса от тягового двигателя автомобиля через односкоростную коробку отбора мощности и карданный вал.
Установка насосная передвижная УНБ-160´32 предназначена для нагнетания различных жидких сред при цементировании, освоении и капитальном ремонте скважин, а также при проведении других промывочно-продавочных работ в нефтегазоперерабатыващей промышленности и других отраслях в условиях умеренного и холодного микроклиматических районов.
Техническая характеристика установки УНБ-160´32
Автомобильное шасси КраЗ-250
(или ТАТРА-815-2)
Насос высокого давления 9ТМ
Полезная мощность, кВт 108
Наибольшее давление нагнетания, МПа 32
Наибольшая идеальная подача, дм3/с 26
Вместимость мерного бака, м3 6
Габаритные размеры, мм 10150´2700´3225
Масса установки полная, кг 16000
1.6.2. Выбор оборудования для очистки скважин от песчаной пробки
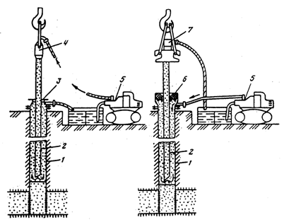
Оборудование для очистки скважин от песчаной пробки зависит от технологической схемы (рис. 32 и 33). Промывочный насос определяется исходя из требуемых давления и подачи (производительности).

Рис. 32. Схема прямой (а) и обратной (б) промывок скважин:
1 – колонна; 2 – НКТ; 3 – устьевой тройник; 4 – промывочный вертлюг; 5 – промывочный насосный агрегат; 6 – устьевой сальник; 7 – переводник со шлангом

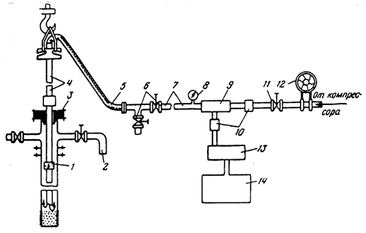
Рис. 33. Оборудование скважины при промывке ее аэрированной жидкостью с добавкой ПАВ:
1 – обратный малан; 2 – манифольд; 3 – устьевой сальник; 4 – НКТ; 5 – шланг; 6 – вентили; 7 ‑ манифольд; 8 – манометр; 9 – смеситель-аэратор; 10 – обратные клапаны; 11 – вентиль; 12 ‑ расходомер; 13 – насос; 14 - емкость
Производительность первоначально целесообразно принять: из условий минимальной подачи насоса (1 передача коробки перемены передач двигателя); из условий размыва песка струей жидкости из насадки.
Для определения необходимого давления следует провести гидравлический расчет промывки.
Способ промывки: 1 - прямая; 2 - обратная; 3 - комбинированная; 4 - непрерывная.
При гидравлическом расчете промывки подлежат определению следующие параметры, которые устанавливают технологические характеристики проведения работ с оценкой требуемого давления и расхода жидкости, а также времени на осуществление процесса.
1. Скорость восходящего потока жидкости должна быть больше скорости падения в ней частичек песка:
nn = nв - w,
где nn - скорость подъёма песчинок; nв - скорость восходящего потока жидкости; w - средняя скорость свободного падения песка в жидкости, определяемая в зависимости от диаметра частиц песка.
| Диаметр частиц песка, мм | 0,3 | 0,25 | 0,2 | 0,1 | 0,01 |
| w, см/с | 3,12 | 2,53 | 1,95 | 0,65 | 0,007 |
Обычно принимается, что nв = 2×w, тогда nn = nв - (nв /2) = nв /2.
2. Общие гидравлическое потери при промывке
h = h1 + h2 + h3 + h4 + h5 + h6, м.
Здесь h1 - потери напора в промывочных трубах
, (1.1)
где Н - длина промывочных труб, м; d - внутренний диаметр промывочных труб, м; Vн - скорость нисходящего потока жидкости в трубах, м/с; rж - плотность жидкости, т/м3, l - коэффициент гидравлических сопротивлении (таблица или расчет).
| Условный диаметр труб, мм | 48 | 60 | 73 | 89 | 114 |
| l | 0,040 | 0,037 | 0,035 | 0,034 | 0,032 |
, (1.2)
где j - коэффициент, учитывающий увеличение потерь вследствие содержания в жидкости песка (j = 1,12¸1,2); Dв - внутренний диаметр эксплуатационной колонны, м; dн - наружный диаметр промывочных труб, м.
При определении гидравлических сопротивлении обратной промывки пользуются теми же формулами, только формула (1.1) используется для восходящего потока, а формула (1.2) - для нисходящего.
, (1.3)
где m - доля пустот между частицами песка, занимаемая жидкостью, m = 0,3¸0,45; F ‑ площадь сечения обсадной колонны, м2; l - высота пробки, прошиваемой за один прием (l = 6 или 12 м); f - площадь сечения кольцевого пространства, м2; rn - плотность песка (для кварцевого песка rn = (2,65¸2,7)т/м3.
h4 и h5 - потери, напора, соответственно, для вертлюга и шланга определяются по опытным данным и могут быть приняты следующие (см. ниже).
h6 - потери напора в наконечнике: насадки диаметром Æ 10¸37 мм, фрезер и др.,
, (1.4)
где rж - плотность жидкости, г/см3; Q - подача жидкости, см3/с; g = 980 см/с2; aн = 0,9 - коэффициент расхода насадки; fн - сечение насадки, см2.
3. Время, необходимое для подъема размытой породы на поверхность
T = H/Vn ,
где Vn - скорость подъема размытой породы.
При промывке нефтью изменения в расчет будут внесены только в определение коэффициента l:
при турбулентном режиме
,
при ламинарном режиме
,
где Re - число Рейнольдса;
при течении жидкости в трубе
Люди также интересуются этой лекцией: 58 Распад СССР и крах перестройки.
Re = (V×d)/v;
при течении жидкости в кольцевом пространстве
,
где V - скорость течения жидкости, м/с; v - кинематическая вязкость жидкости, м2/с.
При Re < 2320 - режим движения жидкости ламинарный;
Re > 2800 - турбулентный.






















