Оборудование для сбора и подготовки нефти
5. Оборудование для сбора и подготовки нефти.
Унифицированная схема нефтегазосбора приведена в приложении 1.
5.1. Трубопроводы.
Трубы при добыче применяются для крепления стволов скважин и для образования каналов внутри скважин, подвески оборудования в скважине, прокладки трубопроводов по территории промысла.
Основные группы труб: 1 - насосно-компрессорные (НКТ); 2 - обсадные; 3 ‑ бурильные; 4 - для нефтепромысловых коммуникаций.
Насосно-компрессорные трубы. При всех способах эксплуатации скважин подъем жидкости и газа на поверхность происходит обычно по НКТ, которые применительно к способам эксплуатации еще называют фонтанными, компрессорными, насосными, подъемными или лифтовыми.
Насосно-компрессорные трубы используются также для различных технологических процессов (например, для солянокислых обработок пластов, разбуривания цементных пробок и т.д.).
В табл. 15 представлены основные размеры НКТ, предусмотренные существующими стандартами.
Таблица 15
| Условный диаметр трубы, мм | 27 | Рекомендуемые материалыВариант 1 - Курсовая работа - Определение параметров водохозяйственной системы Контрольная работа -34% ЛЮБАЯ практика в Синергии! -20% ЛЮБАЯ дипломная работа в Синергии! -47% Помощь с закрытием всего семестра! 33 | 42 | 48 | 60 | 73 | 89 | 102 | 114 |
| Толщина стенки, мм | 3 | 3,5 | 3,5 | 4,0 | 5,0 | 6,5¸7,0 | 8,0 | 6,5 | 7,0 |
Отечественная промышленность выпускает НКТ диаметром 60, 73, 89, 114 мм и муфты к ним из стали группы прочности Д, К и Е, механические свойства которых приведены в табл. 16.
Таблица 16
| Показатели | Группа прочности стали | ||
| Д | К | Е | |
| Временное сопротивление sв, МПа | 655 | 687 | 699 |
| Предел текучести sт, МПа: не менее | 379 | 491 | 552 |
| не более | 552 | - | 758 |
| Относительное удлинение, d, % не менее | 14,3 | 12,0 | 13,0 |
Обсадные трубы служат для крепления ствола скважины. По ГОСТ 632-80 отечественные обсадные трубы выпускаются следующих диаметров и толщины (см. табл. 17).
Таблица 17
| Æ, мм | 114 | 127 | 140 | 146 | 168 | 178 | 194 | 219 | 245 |
| d, мм | 5,2¸10,2 | 5,6¸10,2 | 6,2¸10,5 | 6,5¸9,5 | 7,3¸12,2 | 5,9¸15,0 | 5,2¸10,2 | 7,6¸15,1 | 7,9¸15,9 |
| 273 | 299 | 324 | 340 | 351 | 377 | 406 | 426 | 473 | 508 |
| 7,1¸16,5 | 8,5¸14,8 | 8,5¸14,8 | 8,4¸15,4 | 9,0¸12,0 | 9,0¸12,0 | 9,5¸16,7 | 10,0¸12,0 | 11,1¸16,1 | 11,1¸16,1 |
Группа прочности стали Д, К, Е, Л, М, Т. Трубы маркируются клеймением и краской. При спуске в скважину обсадные трубы шаблонируют.
Обсадные трубы могут применяться вместо НКТ, например, при отборе 5000¸7000 м3/сут. воды из скважин большого диаметра. Иногда для этого используют бурильные трубы.
Бурильные трубы приспособлены к длительному свинчиванию-раэвинчиванию. Промышленность выпускает бурильные трубы длиной 6±0,6; 8±0,6; 11,5±0,9 м, наружным диаметром 60, 73, 89, 102 мм. Трубы диаметром 114, 127, 140 и 168 мм выпускают длиной 11,5±0,9 м.
Бурильные трубы изготавливаются из той же стали, что и обсадные. Для уменьшения веса бурильной колонны применяют алюминиевые бурильные трубы (АБТ), изготавливаемые из сплава Д16. Применяются колонны гибких труб с наружным диаметром 27/8” для бурения забойными двигателями.
Для нефтепромысловых коммуникаций используются электросварные, горячекатанные стальные трубы, пригодные по прочности и гидравлическому сопротивлению:
трубы стальные бесшовные, горячедеформированные - ГОСТ 8732-78, наружным диаметром от 20 до 550 мм, с толщиной стенок от 2,5 мм и более сталь 10; 10Г 2; 20, 12ХН 2А и др.);
трубы стальные сварные для магистральных газонефтепроводов – ГОСТ 20295‑85, диаметром от 159 до 820 мм (сталь К34, К50, К60 и др.);
отремонтированные трубы нефтяного сортамента (НКТ, обсадные, бурильные);
для выкидных линий могут применяться гибкие непрерывные колонны труб диаметром до 27/8”.
Трубопроводы системы сбора и подготовки нефти и газа предназначены для транспортировки продукции скважин от их устья до сдачи товарно-транспортным организациям, а также для перемещения ее в технологических установках, а трубопроводы системы ППД - для подачи сточных вод от УПВ до нагнетательных скважин. Выкидные линии, нефте- и газосборные коллекторы являются частью общей системы сбора и их общая протяженность достигает сотен километров только лишь по одному промыслу.
Трубопроводы классифицируются по следующим признакам.
По назначению: а) выкидные линии, транспортирующие продукцию скважины от ее устья до групповой замерной установки; б) нефтегазосборные коллекторы, расположенные от АГЗУ до ДНС; в) нефтесборные коллекторы, расположенные от ДНС до центрального пункта сбора (ЦПС); г) газосборные коллекторы, транспортирующие газ от пункта сепарации до компрессорной станции, обычно расположенной рядом с ЦПС.
По величине напора: а) высоконапорные (до 6,27 МПа); б) средненапорные (до 1,55 МПа); в) низконапорные (до 0,588 МПа) и г) безнапорные (самотечные).
По типу укладки: а) подземные; б) наземные; в) подвесные; г) подводные.
По гидравлической схеме: а) простые, не имеющие ответвлений; б) сложные, имеющие ответвления, к которым относятся также замкнутые (кольцевые) трубопроводы.
По характеру заполнения сечения: а) трубопроводы с полным заполнением сечения трубы жидкостью и б) трубопроводы с неполным заполнением сечения.
Полное заполнение сечения трубы жидкостью обычно бывает в напорных трубопроводах, а неполное заполнение может быть как в напорных, так и в безнапорных трубопроводах. С полным заполнением сечения жидкостью чаще бывают нефтепроводы, транспортирующих товарную нефть, т.е. без газа, и реже - выкидные линии, где имеет место высокое давление. Нефтесборные коллекторы обычно работают с неполным заполнением сечения трубы нефтью, т.е. верхняя часть сечения коллектора занята газом, выделившимся в процессе движения нефти.
Трубопроводы, по которым подается вода в нагнетательные скважины с целью поддержания пластового давления, подразделяются на следующие категории: подводящие, прокладываемые от УПВ до кустовых насосных станций (КНС); разводящие, прокладываемые от КНС до нагнетательных скважин.
Для нефтепромысловых коммуникаций используются трубы: стальные (сварные, горячекатанные, прерывные и на барабанах), комбинированные (футерованные, металло-пластмассовые), полимерные (стеклопластиковые и др.).
Диаметры всех трубопроводов определяются гидравлическими расчетами.
Трубопроводы проектируются и изготавливаются в соответствии с правилами, установленными Госгортехнадзором. Исключение составляют трубопроводы для пара, эксплуатируемые с Рабс < 0,2 МПа, для воды с температурой до 120°С, временно устанавливаемые трубопроводы со сроком действия до 1 года и некоторые другие.
Расчет трубопроводов для системы сбора на механическую прочность сводится к определению толщины стенки, которая была бы минимальной, но в тоже время не допускала разрушения труб при эксплуатации.
Минимальная толщина стенки трубы рассчитывается по формуле:
, мм,
где Ри - давление, при котором производится опрессовка труб, МПа; Dвн ‑ номинальный внутренний диаметр трубы, мм; sдоп - допускаемое напряжение, принимаемое равным 0,9s* (s* - нормативное напряжение растяжения материала трубы, принимаемое по минимальному значению предела текучести); j - коэффициент, учитывающий двухосное напряженное состояние труб, определяемый по формуле [6]
,
где Ss - абсолютное значение напряжений определяемых по расчетным нагрузкам и воздействиям.
Для прямолинейных и упруго-изогнутых участков подземных и наземных трубопроводов при отсутствии продольных и поперечных перемещений, просадок и пучения грунта напряжения от воздействия температуры и внутреннего давления Рвн.
,
a - коэффициент линейного расширения (a = 12×10-6 1/°C);
E - модуль упругости металла, равный 2,1×10-5 МПа;
Dt - температурный перепад, принимаемый положительным при нагревании.
Толщину труб следует принимать не менее 1/140 величины наружного диаметра труб и не менее 4 мм. Расчетная толщина стенки округляется в большую сторону до ближайшей в сортаменте труб.
5.2. Оборудование для замера продукции скважин.
Для автоматического измерения дебита скважин при однотрубной системе сбора нефти и газа, для контроля за работой скважины но наличию подачи жидкости, а также для автоматической или по команде с диспетчерского пункта блокировки скважины или установки в целом при возникновении аварийных ситуаций применяют блочные автоматизированные групповые замерные установки, в основном двух типов: «Спутник А» и «Спутник Б».
Примеры модификации установок первого типа: «Спутник А-16-14/400», «Спутник А- 25 -10/1500», «Спутник А-40-14/400».
В указанных шифрах первая цифра обозначает рабочее давление в кгс/см2, на которое рассчитана установка, вторая - число подключенных к групповой установке скважин, третья - наибольший измеряемый дебит в м3/сут.
«Спутник А» состоит из двух блоков: замерно-переключающего блока, КИП и автоматики.
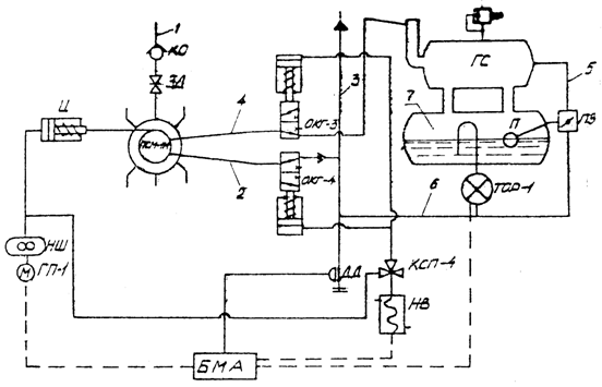
Принципиальная схема установки «Спутник А» приведена на рис. 60.

Рис. 60. Принципиальная схема автоматизированной групповой замерной установки «Спутник А»
Продукция скважин по выкидным линиям 1, последовательно проходя обратный клапан КО и задвижку ЗД, поступает в переключатель скважин типа ПСМ‑1М, после которого по общему коллектору 2 через отсекатель ОКГ-4 попадает в сборный коллектор 3, подключенный к системе сбора.
В переключателе ПСМ-1М продукция одной из скважин через замерный отвод 4 с отсекателем ОКГ-3 направляется в двухъемкостный замерный гидроциклонный сепаратор ГС, где газ отделяется от жидкости. Газ по трубопроводу 5 проходит через поворотный затвор ЗП, смешивается с замеренной жидкостью и по трубопроводу 6 поступает в общий сборный коллектор 3.
Отделившаяся в верхней части газосепаратора ГС жидкость поступает в нижнюю емкость и накапливается в ней. По мере повышения уровня нефти поплавок П поднимается и по достижении верхнего заданного уровня воздействует на поворотный затвор, перекрывая газовую линию 5. Давление в сепараторе повышается и жидкость из сепаратора начинает вытесняться через счетчик расхода ТОР-1. При достижении жидкостью нижнего уровня ЗП открывает газовую линию, давление в сепараторе падает, и начинается новый цикл накопления жидкости в нижней емкости.
Измеряемый дебит скважины (в м3) фиксируется электромагнитным счетчиком блока управления. Сигналы на этот блок поступают от счетчика ТОР-1 [8].
Переключение скважин на замер осуществляется блоком управления периодически. Длительность замера определяется установкой реле времени. При срабатывании реле времени включается электродвигатель гидропривода ГП-1, и в системе гидравлического управления повышается давление. Гидроцилиндр переключателя ПСМ-1 под воздействием давления гидропривода ГП-1 перемещает поворотный патрубок переключателя, и на замер подключается следующая скважина.
Продолжительность замера устанавливается в зависимости от конкретных условий - дебита скважины, способов добычи, состояния разработки месторождения.
В установке «Спутник А» турбинный счетчик расхода одновременно служит сигнализатором периодического контроля подачи скважины. При отсутствии подачи скважины, поставленной на замер, блок местной автоматики выдает аварийный сигнал в систему телемеханики об отсутствии за определенный период сигналов от счетчиков ТОР-1.
Аварийная блокировка скважин в установке происходит при давлении в общем коллекторе выше допустимого. В этом случае датчик давления ДД, установленный на общем коллекторе, воздействует на клапан КСП-4, давление в системе гидравлического управления отсекателей ОКГ-З и ОКГ-4 падает, и они перекрывают трубопроводы 2 и 4.
Срабатывание отсекателей приводит к повышению давления в переключателе ПСМ-1 и выкидных линиях и к остановке скважин: фонтанных - за счет отсекателей, установленных на выкиде; механизированных - за счет отключения электропривода.
На установках типа «Спутник Б» принцип измерения продукции скважин тот же. Примеры обозначения их модификаций: «Спутник Б-40-14/400», «Спутник Б‑40‑24/400». Первая модификация рассчитана на подключение 14 скважин, вторая - 24.
В отличие от «Спутника А» в «Спутнике Б» предусмотрены: возможность раздельного сбора обводненной и не обводненной продукции скважин, определение содержания воды в ней, измерение количества газа, а также дозирование химических реагентов в поток нефти и прием резиновых шаров, запускаемых на скважинах для депарафинизации выкидных линий.
Для измерения количества продукции малодебитных скважин находят применение: установки типа БИУС-40; «Спутник АМК-40-8-7,5; АСМА; АСМА‑СП‑40-8-20; АСМА-Т; Микрон» и др.
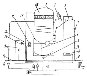
Установки типа БИУС-40 (рис. 61) разработаны в четырех модификациях БИУС-40-50, БИУС-40-2-100, БИУС-40-3-100 и БИУС-40-4-100 для подключения собственно одной, двух, трех и четырех скважин.
Установка БИУС-40 состоит из технологического блока и блока управления.
Газожидкостная смесь по выкидному коллектору скважин и трубопроводу 11 поступает в сепарационную ёмкость 1, где происходит отделение газа от жидкости. Газ отводится в выходной трубопровод 9 и смешивается с жидкостью. Расход газа для замера газового фактора, определяется переносным дифманометром по диафрагме 4. При определенном уровне накопленной в сепараторе жидкости поплавок через систему рычагов перекрывает заслонку 3 на газовой линии и давление в сепараторе повышается. При достижении перепада давления между сепаратором и выходным трубопроводом, установленного регулятором расхода 15, клапан последнего открывается и жидкость под избыточным давлением продавливается через счетчик ТОР-1-150 16 в выходной трубопровод.

Рис. 61. Принципиальная схема установки БИУС-40
Регулятор расхода, независимо от дебита подключенной скважины, обеспечивает циклическое прохождение жидкости через счетчик с расходами, указанными в документации счетчика. При определенном нижнем уровне поплавок через систему рычагов открывает заслонку, давление в сепараторе снижается, клапан регулятора расхода перекрывает нефтяную линию и цикл повторяется. Счетчик ТОР-1-50 интегратором суммирует замеренные сливаемые порции жидкости и преобразовывает их объёмы в электрический сигнал, регистрируемый в счетчике блока управления. При повышении или понижении допустимого давления на установке электро-контактный манометр 14 с блоком управления формирует аварийный сигнал, загорается лампочка в блоке управления, и при наличии КП телемеханики сигнал может передаваться в диспетчерский пульт. Предохранительный клапан 2 не допускает превышение рабочего давления внутри емкости. Обогреватель 8 и вентилятор 10 обеспечивают в зимнее время нормальную работу установки. Перегородка 5 и сетка 17 защищает турбинку счетчика от инородных тел. Инородные тела и парафин, накопленные в грязевом отсеке, периодически сбрасываются через задвижку 6 в выходной трубопровод. Решетка 18 служит для очистки газа от капельной жидкости. При необходимости отключения установки продукция скважины направляется по байпасу закрытием задвижек 13 и 7 и открытием задвижки 12.
В настоящее время выпускается более 10 модификаций замерных установок типа «Спутник».
5.3. Оборудование для отделения нефти от газа и свободной воды
В процессе подъема жидкости из скважин и транспорта ее до центрального пункта сбора и подготовки нефти, газа и воды постепенно снижается давление и из нефти выделяется газ. Объем выделившегося газа по мере снижения давления в системе увеличивается и обычно в несколько десятков раз превышает объем жидкости. Поэтому при низких давлениях их совместное хранение, а иногда и сбор становятся нецелесообразными. Приходиться осуществлять их раздельный сбор и хранение.
Процесс отделения газа от нефти называется сепарацией. Аппарат, в котором происходит отделение газа от продукции нефтяных скважин, называют газосепаратором.
В современных системах сбора нефти и газа газосепараторами оснащаются все блочные автоматизированные групповые замерные установки (за исключением установок, оснащенных массовыми расходомерами), дожимные насосные станции и центральные пункты сбора и подготовки нефти, газа и воды.
На блочных автоматизированных замерных установках отделение газа от нефти осуществляется только с целью раздельного измерения дебита скважин по жидкости и газу. После измерения нефть и газ снова смешиваются и подаются в общий нефтегазовый коллектор.
Часто отвод свободного газа от нефти осуществляется в нескольких местах. Каждый пункт вывода отсепарированного газа называется ступенью сепарации газа.
Многоступенчатая сепарация применяется для постепенного отвода свободного газа по мере снижения давления. Она применяется при высоких давлениях на устье скважин.
Нефтегазовую смесь из скважины направляют сначала в газосепаратор высокого давления, в котором из нефти выделяется основная масса газа. Этот газ может транспортироваться на большие расстояния под собственным давлением.
Из сепаратора высокого давления нефть поступает в сепаратор среднего и низкого давления для окончательного отделения от газа.
Сепарация газа от нефти может происходить под влиянием гравитационных, инерционных сил и за счет селективной смачиваемости нефти. В зависимости от этого и различают гравитационную, инерционную и пленочную сепарации, а газосепараторы - гравитационные, гидроциклонные и жалюзийные.
Гравитационная сепарация осуществляется вследствие разности плотностей жидкости и газа, т.е. под действием их силы тяжести. Газосепараторы, работающие на этом принципе, называются гравитационными.
Инерционная сепарация происходит при резких поворотах газонефтяного потока. В результате этого жидкость, как более инерционная, продолжает двигаться по прямой, а газ меняет свое направление. В результате происходит их разделение. На этом принципе построена работа гидроциклонного газосепаратора, осуществляемая подачей газонефтяной смеси в циклонную головку, в которой жидкость отбрасывается к внутренней поверхности и затем стекает вниз в нефтяное пространство газосепаратора, а газ двигается по центру циклона.
Пленочная сепарация основана на явлении селективного смачивания жидкости на металлической поверхности. При прохождении потока газа с некоторым содержанием нефти через жалюзийные насадки (каплеуловители) капли нефти, соприкасаясь с металлической поверхностью, смачивают ее и образуют на ней сплошную жидкостную пленку. Жидкость на этой пленке держится достаточно хорошо и при достижении определенной толщины начинает непрерывно стекать вниз. Это явление называется эффектом пленочной сепарации. Жалюзийные сепараторы работают на этом принципе.
Наибольшее распространение на нефтяных месторождениях получили горизонтальные сепараторы, характеризующие повышенной пропускной способностью при одном и том же объеме аппарата, лучшим качеством сепарации, простотой обслуживания и осмотра по сравнению с вертикальными.
В настоящее время выпускаются двухфазные горизонтальные сепараторы типа НГС и типа УБС. Наряду с двухфазными организовано производство трехфазных сепараторов, которые, помимо отделения газа от нефти, служат также для отделения и сброса свободной воды. К трехфазным сепараторам относятся установки типа УПС. Перечисленные сепарационные установки служат в качестве технологического оборудования центральных пунктов сбора и подготовки нефти, газа и воды (ЦППН).
В тех случаях, когда на месторождении или группе месторождений пластовой энергии недостаточно для транспортировки нефтегазовой смеси до ЦППН, применяются сепарационные установки с насосной откачкой или дожимные насосные станции (ДНС).
Сепараторы типа НГС предназначены для отделения газа от продукции нефтяных скважин на первой и последующей ступенях сепарации нефти, включая горячую сепарацию на последней ступени.
Выпускается нормальный ряд сепараторов НГС с пропускной способностью по жидкости 2000¸30000 т/сут.
В табл. 18. приведены основные технические данные сепарационных установок типа НГС.
Сепаратор типа НГС (рис.62) состоит из горизонтальной емкости 1, оснащенной патрубками для входа продукции 2, для выхода нефти 10 и газа 7. Внутри емкости непосредственно у патрубка для входа нефтегазовой смеси смонтированы распределительное устройство 3 и наклонные желоба (дефлекторы) 4 и 5. Возле патрубка, через который осуществляется выход газа, установлены горизонтальный 8 и вертикальный 6 сетчатые отбойники. Кроме того, аппарат снабжен штуцерами и муфтами для монтажа приборов сигнализации и автоматического регулирования режима работы.
Газонефтяная смесь поступает в аппарат через входной патрубок 3, изменяет свое направление на 90°, и при помощи распределительного устройства нефть вместе с остаточным газом направляется сначала в верхние наклонные желоба 4, а затем в нижние 5. Отделившийся из нефти газ проходит сначала вертикальный каплеотбойник 6, а затем горизонтальный 8. Эти каплеотбойники осуществляют тонкую очистку газа от капельной жидкости (эффективность свыше 99%), что позволяет отказаться от установки дополнительного сепаратора газа. Выделившийся в сепараторе газ через патрубок 7, задвижку и регулирующий клапан (на рис.62 не показаны) поступает в газосборную сеть.
Таблица 18
| Установка | Наибольшая пропускная способность по нефти, т/сут | Наибольшая пропускная способность по газу, тыс. м3/сут |
| НГС6-1400 НГС16-1400 НГС25-1400 НГС40-1400 НГС64-1400 | 2000 | 150 260 330 420 560 |
| НГС6-1600 НГС16-1600 НГС25-1600 НГС40-1600 НГС64-1600 | 5000 | 340 590 750 960 1260 |
| НГС6-2200 НГС16-2200 НГС25-2200 НГС40-2200 НГС64-2200 | 10000 | 600 1000 1300 1700 2200 |
| НГС6-2600 НГС16-2600 НГС25-2600 НГС40-2600 | 20000 | 1000 1800 2300 3000 |
| НГС6-3000 НГС16-3000 НГС25-3000 НГС40-3000 | 30000 | 1500 2700 3400 4400 |
В указанных цифрах первая цифра обозначает рабочее давление, вторая цифра - диаметр сепаратора (в мм).

Рис. 62. Нефтегазовый сепаратор типа НГС
Отсепарированная нефть, скопившаяся в нижней секции сбора жидкости сепаратора, через выходной патрубок 10 направляется на следующую ступень сепарации или, в случае использования аппарата на последней ступени, в резервуар. Для устранения возможности воронкообразования и попадания газа в выкидную линию над патрубком выхода нефти устанавливается диск 9.
Комплекс приборов и средств автоматизации обеспечивает:
автоматическое регулирование рабочего уровня нефтегазовой смеси в сепараторе;
автоматическую защиту установки (прекращения подачи нефтегазовой смеси в сепаратор) при:
а) аварийном повышении давления в сепараторе;
б) аварийно-высоком уровне жидкости в сепараторе;
сигнализацию в блок управления об аварийных режимах работы установки.
Сепаратор нефтегазовый НГС по ГП 805 предназначен для сепарации газонефтяной смеси на первой, промежуточной и концевой ступенях в системах сборов и установках подготовки нефти.
Техническая характеристика
Объем аппарата, м3 6,3; 12,3; 25; 50; 100; 150
Производительность по нефти, м3/сут,
не более 20000
Рабочее давление, МПа 0,4; 0,8; 1,4; 2,2; 3,6
Содержание капельной жидкости
в потоке газа на выходе, г/м3 не более 0,1
Содержание свободного газа в
нефти на выходе, % об. 1
Масса, кг, не более 93000
Сепаратор НГС по ГП 805 разработан взамен НГС по ГП 496 и имеет следующие преимущества (на примере аппарата V = 100 м3):
Таблица 19
| Показатели | НГС по ГП 496 | НГС по ГП 805 |
| Производительность по нефти, м3/сут Объем аппарата, м3 Производительность по газу, м3/сут, Р=0,7 МПа Содержание капельной жидкости в потоке газа на выходе, г/м3 | 10000 100 1000000 2¸3 | 12000 100 1500000 0,1 |
Сепараторы центробежные вертикальные СЦВ-500М, СЦВ-1000М (А.С. 787065, 986461) предназначены для окончательной очистки газа от капельной жидкости после газонефтяных сепараторов.
Сравнительная характеристика сепараторов СЦВ-1000/16 и НГС при использовании его в качестве газосепаратора.
Таблица 20
| Показатели | НГС-1-16-3000 по ГП 496 | СЦВ-1000/16 |
| Производительность по газу, млн. м3/сут Рабочее давление, МПа Объем аппарата, м3 Масса, кг Степень очистки газа, г/м3 | 2,5 1,6 100 31000 0,5 | 2,5 1,6 3 2500 0,05 |
Установки блочные сепарационные УБС-3000/6; УБС-1500/6; УБС-1500/14; УБС-6300/6; УБС-6300/14; УБС-16000/6; УБС-10000/6 обычно состоят из технологической емкости, каплеотбойника, депульсатора, технологической обвязки трубопроводов, запорно-регулирующей арматуры и системы автоматизации (рис. 63, табл. 21).
Таблица 21
| Шифр установки | Условный проход, мм | |||||||
| Ду1 | Ду2 | Ду3 | Ду4 | Ду5 | Ду6 | Ду7 | Ду8 | |
| УБС-1500/6 УБС-1500/14 УБС-6300/6 УБС-6300/14 УБС-10000/6 УБС-10000/ 14 УБС-16000/6 УБС-16000/14 | 500 500 500 500 600 600 600 600 | 500 500 500 500 700 700 700 700 | 125 125 200 200 300 300 300 300 | 150 150 250 250 300 300 300 300 | 50 50 80 100 100 150 100 150 | 150 150 250 250 300 300 300 300 | 250 250 400 400 400 400 500 500 | 80 80 150 150 150 150 150 150 |

Рис. 63. Принципиальная схема сепарационной блочной установки:
1 – нефтегазовая смесь; 2 - газ; 3 – нефть; 4 – дренаж; 5 – пар; I - депульсатор; II - каплеотбойник; III - технологическая емкость
Технологическая емкость, депульсатор, каплеотбойник с устройством предварительного отбора газа системой обвязки трубопроводами и запорно-регулирующей арматуры объединены в сепарационный блок. Для обслуживания установки предусмотрена площадка.
Работа установки основана на предварительном отборе газа из газонефтяной смеси в депульсаторе I, окончательном разгазировании в технологической емкости III и окончательной очистке газа от капельной жидкости в каплеотбойнике II. Газонефтяная смесь от скважин поступает в депульсатор I, где происходит разделение расслоившихся в подводящем трубопроводе нефти и газа. Отделившийся газ отводится в каплеотбойник II, а нефть поступает в технологическую емкость III. В каплеотбойнике газ проходит через струнные отбойники, очищается от капельной нефти и через регулятор давления направляется в газопровод. Собранная в каплеотбойнике жидкость стекает по патрубкам в технологическую емкость. Из последней нефть проходит через две перегородки из просечно-вытяжных листов, способствующих вытеснению промежуточного слоя между пузырьками газа, их коалесценции и отделению остаточного газа от нефти. Окончательно отсепарированная нефть направляется через выходной патрубок и регулятор уровня жидкости в нефтепровод.
При необходимости подачи газа из депульсатора в каплеотбойник через газовое пространство технологической емкости на газовой линии между каплеотбойником и депульсатором предусмотрена задвижка, а между депульсатором и технологической емкостью - газопровод.
Технологический процесс на установке полностью автоматизирован и обеспечивает:
- автоматическое регулирование давления и уровня нефти в технологической емкости;
- сигнализацию предельных значений давления верхнего и нижнего уровней нефти в технологической емкости;
- местный контроль уровня температуры нефти и давления в технологической емкости;
- выдачу сигнала на автоматическое закрытие приемной линии установки при достижении верхнего предельного уровня нефти;
- формирование общего аварийного сигнала на диспетчерский пункт.
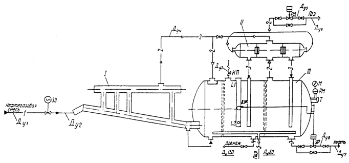
Сепарационные установки с предварительным сбросом воды типа УПС предназначены для отделения газа от обводненной нефти и сброса свободной пластовой воды с одновременным учетом количества обезвоженной нефти и воды, выходящих из аппарата. Выпускаются установки типа УПС на рабочее давление 0,6 МПа следующих модификаций: УПС-3000/6М, УПС-А-3000/6, УПС-6300/6М и УПС-10000/6М. Одновременно разработаны все модификации УПС и на рабочее давление 1,6 МПа.
В шифре установок приняты следующие обозначения: УПС - установка с предварительным сбросом воды; А - в антикоррозионном исполнении; первая цифра после букв - пропускная способность по жидкости (м3/сут); вторая цифра - допустимое рабочее давление; М - модернизированная.
Автоматизированные установки выполнены в моноблоке и состоят из следующих основных частей: блока сепарации и сброса воды, запорно-регулирующей арматуры, системы контроля и управления (рис. 64).
Блок сепарации и сброса воды глухой сферической перегородкой разделен на два отсека - сепарационный А и отстойный Б. Каждый отсек имеет люк-лаз, предохранительный клапан и дренажные штуцеры.
В сепарационном отсеке для более полной сепарации и предотвращения пенообразования предусмотрена нефтеразливная полка 2. Для равномерного потока в параллельно работающих установках в сепарационных и отстойных отсеках имеются штуцеры для сообщения их по жидкости (в нижней части) и газу (в верхней части).

Рис. 64. Принципиальная схема установок типа УПС-8000 и УПС-6300
В отстойном отсеке для более полного использования объема емкости имеются распределитель 3 жидкости на входе, перфорированная труба со штуцером для вывода воды 8 и два штуцера 5 и 6 для вывода нефти. Расположение штуцеров для вывода нефти позволяет осуществлять, работу установок в режимах полного и неполного заполнения. На установке УПС-6300 применяется выносной каплеотбойник 4, устанавливаемый над отстойной секцией.
Работа установки происходит следующим образом. Продукция скважин поступает в сепарационный отсек А по соплу 1 и нефтеразливной полке 2, где происходит отделение газа от жидкостной фазы. Отделившийся нефтяной газ через регулятор уровня, отводится в отсек Б, откуда через каплеотбойник 4 и регулятор давления - в газовый коллектор.
В случае применения установки на I ступени сепарации предусматривается узел предварительного отбора газа (депульсатор). При использовании установки на II ступени сепарации монтаж узла предварительного отбора газа не требуется.
Водонефтяная эмульсия из отсека А передавливается в отсек Б под действием давления газа. Допустимый перепад давления между отсеками Б и А не более 0,2 МПа (в зависимости от длины каплеобразователя между отсеками).
Водоняфтяная эмульсия поступает в отстойный отсек Б через входной распределитель 3. При этом основная часть струй, вытекающих из распределителя, движется радиально, а меньшая часть - в направлении ближайшего эллиптического днища аппарата. Доходя до стенок аппарата, и теряя кинетическую энергию, струи эмульсии отражаться и принимают горизонтальное направление вдоль аппарата. Отстоявшаяся вода отводится через перфорированный трубопровод 8. Предварительно обезвоженная нефть выводится через штуцеры 5 и 6, связанные с перфорированной трубой 7, расположенной в верхней части емкости.
Система контроля и у правления должна осуществлять:
- регулировавшие уровня «нефть-газ» на уровне 2400 мм;
- регулирование уровня «нефть-вода» на уровне 900 мм;
- регулирование давления в технологической емкости;
- измерение количества предварительно обезвоженной нефти;
- измерение количества сбрасываемой воды;
- измерение количества оборотной воды;
- сигнализацию достижения заданных значений давления и предельного уровня нефти в емкости;
- аварийную отсечку по входу продукта при достижении уровня нефти в аппарате 2600 мм и заданном давлении;
- измерение давления и температуры.
При работе в режиме полного заполнения не осуществляется регулирования уровня «нефть-газ» и сигнализация аварийного уровня, предварительно обезвоженная нефть отводится через верхний щтуцер 5, связанный с перфорированной трубой, а штуцер 6 закрывается.
Сепарационные блочные установки с насосной откачкой предназначены для сепарации нефти от газа и подачи от сепарированной нефти под напором насосов на объекты подготовки нефти в системах герметизированного сбора и подготовки нефти, газа и воды.
Установки в основном состоят из сепарационного блока, блока коллектора, блока измерения и регулирования, комплекса системы автоматизации, межблочной обвязки коммуникаций, укрытия и площадок обслуживания. В качестве сепараторов приняты сепараторы соответствующей производительности и рабочих давлений. Работа установки основана на предварительном отборе газа из газонефтяной смеси в депульсаторе, окончательном разгазировании в технологической емкости и подаче нефти под напором насосов на объекты подготовки нефти.
В табл. 22 приведены основные технические данные трех типов сепарационных установок. Первые два типа установок включают два насосных блока и третий тип - три насосных блока. Отделившийся газ отводится в каплеотбойник, где разделяется на два потока и, проходя через два сетчатых отбойника, очищается от капельной нефти и направляется в газопровод.
Дожимные насосные станции КДНС-1000БТ и ДНС-5000БТ предназначены для герметизированного сбора и сепарации продукции скважин, частичного обезвоживания нефти и транспортировки ее до установок подготовки нефти, очистки воды и закачки ее в пласт.
Новые ДНС позволяют использовать малолюдную технологию на вновь осваиваемых месторождениях; в несколько раз снизить площади застройки, занимаемые ДНС; снизить энергоемкость и металлоемкость при добыче одной тонны нефти.
Система автоматического управления новых ДНС с использованием микропроцессорной техники позволяет вести сбор, обработку, отображение, регистрацию технологических параметров, выдачу команд управления исполнительным органам оборудования, автоматическое включение резервного питания, оптимизацию технологических режимов, обмен информацией и принятие команд с верхнего иерархического уровня.
Таблица 22
Технические характеристики сепарационных блочных установок типа УБСН
| Показатели | УБСН-400-1,6/4 | УБСН-1600-1,6/4 | УБСН-6300-1,6/4 |
| Температура окружающей среды, К (°С) | 233¸313 (-40¸+40) | ||
| Максимальная производительность по сырью, м3/с (м3/сут) | 0,0092 (800) | 0,018 (1600) | 0,036 (3150) |
| Максимальное рабочее давление нагнетания, МПа | 4,0 | ||
| Рабочая среда: | сырая нефть | ||
| максимальная температура, К [ОП1] (°С) | 323 (50) | ||
| кинетическая вязкость, м2/с (сСт) | 0,00015 (150) | ||
| плотность, кг/м3 | 750¸900 | ||
| Максимальное содержание в рабочей среде (объемных), %: сероводорода углекислого газа | 0,01 1 | ||
| Максимальный газовый фактор при нормальных условиях, м3/м3 | 200 | ||
| Максимальный унос свободного газа нефтью (объемных), % | 2 | ||
| Максимальный унос капельной нефти газом, м3/м3 | 0,1×10-6 | ||
| Максимальная потребляемая мощность силовым электрооборудованием, кВт | 132 | 200 | 315 |
| Режим работы | непрерывный | ||
| Объем технологической емкости, м3 | 10 | 40 | 40 |
| Габариты, мм | 16090´13510´ ´4748 | 21765´14450´ ´6148 | 22010´15106´ ´6880 |
| Масса, кг, не более | 26600 | 44500 | 61000 |
Кустовая дожимная насосная станция КДНС-1000БТ, номинальной производительностью 1000 м3/сутки по жидкости, предназначена для размещения непосредственно на кусте нефтяных скважин, либо на отдельных небольших нефтяных месторождениях.
Дожимная насосная станция ДНС-5000БТ, номинальной производительностью 5000 м3/сутки по жидкости, предназначена для размещения в системе сбора крупных и средних месторождений.
Технологический процесс и оборудование в схеме ДНС-5000БТ разработаны на основе эксплуатации и проектирования ДНС на месторождениях Урало-Поволжья и Западной Сибири.
Таблица 23
Технические характеристики КДНС-1000БТ и ДНС-5000БТ
| № | Параметры | Единицы измерения | Величина | |
| КДНС-1000БТ | ДНС-5000БТ | |||
| 1. | Производительность: по жидкости по газу по закачке воды | м3/сут. тыс. м3/сут. м3/сут. | 1000 250 1800 | 5000 1000 10800 |
| 2. | Содержание на выходе: воды в нефти не более мехпримесей и нефти в воде, не более капельной жидкости в газе, не более | % мг/л г/м3 | 10 30 0,1 | 10 30 0,1 |
| 3. | Давление на выходе не более | МПа | 1,4 | 1,4 |
Таблица 24
Состав основного оборудования КДНС-1000БТ и ДНС-5000БТ
| № | КДНС-1000БТ | № | ДНС-5000БТ |
| 1. 2. 3. 4. 5. 6. 7. 8. | Сепаратор-депульсатор вертикальный объемом 6,3 м3 Аппарат совместной подготовки нефти и воды объемом 40 м3 Насосы погружные центробежные для откачки нефти: УЭЦН-6-1000-750 для откачки воды: УЭЦН-16-2000-1400 Узлы учета нефти, газа и воды Буферная емкость объемом 6,3 м3 Дренажная емкость Регулирующая и запорная арматура Система автоматического управления | 1. 2. 3. 4. 5. 6. 7. 8. 9. 10. 11. 12. | Нефтегазовый сепаратор НГСВ объемом 100 м3 Сепаратор-каплеуловитель СДВ-1000/16 Гидроциклоны «Буран» Отстойник очистки воды ОВ-0,6-100 Насосы нефтяные ЦНС-300-240 3шт. Насосы водяные ЦНС-180-1900 4 шт. Узел учета нефти, газа, воды Реагентный блок Буферные емкости объемом 30 м3 Дренажная емкость ЕП-40 Регулирующая и запорная арматура Система автоматического управления |
Применяются и другие типы ДНС, например, ДНС-7000, ДНС-14000 и ДНС-20000. Число в каждом типоразмере ДНС указывает подачу рабочих насосных агрегатов по жидкости (в м3/сут). На всех ДНС данного типа в качестве буферной ёмкости используется горизонтальные сепараторы объёмом 100 м3 и насосные агрегаты 8НД-9´З с электродвигателем типа А-114-2М.
Расчет газосепараторов на прочность.

Толщина стенки газосепаратора
, мм,
где С - принимается равным 2¸3 мм; Р ‑ давление в газосепараторе, МПа; Dвн ‑ внутренний диаметр газосепаратора, мм; j - 0,95 (для сварных корпусов); sдоп ‑ допускаемое напряжение на растяжение материала корпуса газосепаратора, МПа;
,
где s* - нормативное допускаемое напряжение; K = 1¸0,9 - коэффициент условий нагружения газосепараторов; s*=387¸562 МПа, в зависимости от марки стали.
Стальные эллиптические днища изготавливают (ГОСТ9617-76) диаметром от 159 до 4000 мм; отношение высоты эллиптической части днища к диаметру принято H/D = 0,25.
Толщина стенки эллиптических днищ определяется
, мм,
где R - радиус кривизны в вершине днища, равный D2/4H.
Для стандартных днищ, при отношении высоты днища к его диаметру, равном 0,25, R = D. Днища стальные диаметром до 1600 мм, изготавливают из цельного листа, для них j = 1. Толщина днища принимается не меньше, чем у цилиндрической оболочки.
5.4. Нефтяные нагреватели и печи
Устьевые и путевые нагреватели.
При сборе высокопарафинистых, вязких нефтей, а также нефтей, имеющую высокую температуру застывания, с целью обеспечения текучести нефти, необходимо подогревать продукцию скважин, от устья скважин вплоть до ЦПС и подготовки нефти и газа.
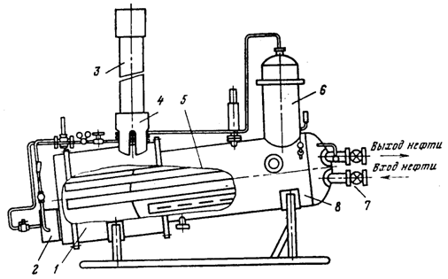
Для подогрева продукции скважин в выкидных линиях применяют устьевые нагреватели УН-0,2 и ПТТ-2 (рис. 66), а для подогрева продукции скважин в нефтесборных коллекторах - путевые нагреватели ПП-0,4; ПП-0,63; ПП-1,6 и трубопроводные нагреватели типа ПТ.
Подогреватель нефти ПТТ-0,2 состоит из наклонного цилиндрического сосуда 8 с батареей тепловых трубок 5, газовым сепаратором 6, патрубками ввода нефти 7, топки 1 с газовой инжекционной двухсопловой горелкой 2 и дымовой трубкой 3 с кожухом 4 для защиты обслуживающего персонала от ожогов.

Рис. 66. Подогреватель нефти типа ПТТ-0,2
Поступающая в сосуд подогревателя нефтегазовая смесь нагревается тепловыми трубами и выходит из подогревателя. Часть газа, выделившегося из нефти, очищаясь в сепараторе, поступает через узел регулирования на горелку. За счет сжигания газа в топке происходит нагрев топочных концов тепловых труб. Тепловая труба представляет собой толстостенную цельнотянутую стальную трубу, заполненную на 1/3 своего внутреннего объема дистиллированной водой и герметически заваренную с обоих концов. Во избежание замораживания труб во время возможной остановки печи в них добавлено некоторое количество этилового спирта. Трубы в подогревателе расположены с наклоном в сторону топки, равным 100 мм на 1 м трубы, и приварены к одному из днищ сосуда таким образом, что один конец длиной 2 м находится внутри сосуда, а другой - длиной 1 м в топке.
Устьевой нагреватель ПТТ-0,2 оснащен приборами контроля и автоматического регулирования, поставляемыми комплектно с нагревателем: ртутным техническим термометром АН3-1°-110-220, манометрами ОБМ1-100, регулятором температуры РТ-П25-2 и регулятором давления РД-32М.
Комплекс приборов обеспечивает:
регулирование температуры жидкости в сосуде, давления топливного газа перед горелкой и запальником;
технологический контроль за температурой и давлением.
Технические, характеристики подогревателя ПТТ-0,2
Пропускная способность по жидкости, т/сут до 100
Вместимость сосуда, м3 1
Давление в сосуде рабочее, МПа -1,6
Температура нагрева жидкости, °С 70
Топливо нефтяной газ
Расход газа, расчетный, м3/ч 25
Масса подогревателя без футеровки, кг 2550
Автоматизированные блочные газовые печи с водяным теплоносителем ПП‑1,6; ПП-0,63 предназначены для подогрева обезвоженных нефтей, нефтяных эмульсий и воды, для различных технологических нужд.
Таблица 25
Технические характеристики блочных газовых печей
| № | Показатели | ПП-0,63 | ПП-1,6 |
| 1. | Производительность по жидкости при нагреве на 25°С и обводненности 30 %, т/сут | 1150 | 2350 |
| 2. | Теплопроизводительность топочного устройства, МВт (Гкал/час) | 0,73 (0,69) | 1,86 (1,6) |
| 3. | Давление в змеевике, МПа (кгс/см2) | 6,4 (64) | 6,4 (64) |
| 4. | Расход газа в нормальных условиях, м3/час | 75 | 180 |
| 5. | Топливо | попутный нефтяной газ | |
| 6. | Масса, кг: сухого заполненного водой | 13019 25920 | 39801 125201 |
Подогреватели трубопроводного типа ПТ-Р/Д, предназначены для подогрева воды, нефти, газа и их смесей.
Таблица 26
Техническая характеристика подогревателей ПТ-Р/Д
| Показатели | ПТ-25/100 | ПТ-16/150 | ПТ-6,4/200 | ПТ 16/100МЖ |
| Тепловая производительность, МДж/ч | 465 | 1860 | 3500 | 465 |
| Пропускная способность до 40°С, тыс. м3/сут: нефти воды газа | 0,57 0,24 490 | 2,30 0,96 2000 | 4,3 1,8 3600 | 0,48 0,2 410 |
Рекомендуется применять в системе внутрипромыслового сбора на участке «ГЗУ-ЦТН» для нагрева рабочего агента (газа) при газлифтной добыче нефти, а также для подогрева воды в системе поддержания пластового давления.
ПТ-Р/Д - универсальна, комплектна, относительно совершенна.
В шифре приняты следующие обозначения:
ПТ - подогреватель трубопроводный;
Р - допустимое рабочее давление подогреваемой среды;
Д - условный проход труб калорифера, мм.
В случае модернизации добавляется буква М.
Принцип работы: подготовленная в инжекционных горелках газовоздушная смесь поступает на пламераспределитель. Полученный при сгорании газа тепловой поток, проходя через конвективную камеру, омывает оребрённую поверхность труб калорифера, нагревая продукт, проходящий по трубам. В верхней части конвективной камеры отходящие газы подогревают сепаратор и змеевик топливного газа.
Источником топливного газа может быть сама нагреваемая среда, а если она не горюча или имеет низкий свободный газовый фактор (менее 40 м3/м3), то необходимо подключаться к внешнему источнику питания.
Нефтяные нагреватели НН - для подогрева нефтяных эмульсий перед блоками глубокого обезвоживания и обессоливания установок подготовки нефти. Рекомендуется применять для подготовки средних, тяжелых нефтей.
Нагреватель нефти блочный БН-2М предназначен для подогрева обводненных нефтей перед аппаратами глубокого обезвоживания и обессоливания. Допускается на установках подготовки нефти с пропускной способностью до 3 млн. т в год. Основной технологический блок этого нагревателя включает в себя четыре последовательно соединенных подогревателя типа, «труба в трубе».
Масса нагревателя БН-2М - 17,73 т.
Печь трубчатая ПТБ-10-64 предназначена для подогрева обводнённых нефтей перед аппаратами глубокого обезвоживания и обессоливания с УПН пропускной способностью 3,6 и 9 млн. т в год.
В шифре печи приняты следующие обозначения:
ПТБ - печь трубчатая блочная, первая цифра - тепловая производительность в млн.ккал/ч, вторая цифра - допустимое рабочее давление, атм., масса – 57,1 т.
5.5. Отстойники и электродегидраторы
Для отстоя нефтяных эмульсий после нагрева их в блочных или стационарных печах применяются отстойники. Наибольшее распространение получили отстойники с нижним распределенным вводом эмульсии (ОГ-200, ОГ-200С, ОВД-200) и отстойники с радиальным и горизонтальным вводом сырья (ОБН).
Горизонтальный отстойник ОГ-200С (ОГ-200) предназначен для отстоя нефтяных эмульсий с целью разделения последних на составляющие их нефть и пластовую воду. Допускается применение установки для подготовки легких и средних нефтей, не содержащих сероводород и другие коррозионно-активные компоненты. В шифре приняты следующие обозначения: ОГ - отстойник горизонтальный; число - объем емкости (в м3); С - с сепарационным отсеком.
Отстойник ОГ-200С (рис. 67) представляет собой горизонтальную стальную цилиндрическую емкость диаметром 3400 мм с эллиптическими днищами.

Рис. 67. Схема отстойника ОГ-2000С
Перегородкой 3 емкость разделена на два отсека, из которых левый I - сепарационный, а правый II - отстойный. Отсеки сообщаются друг c другом при помощи двух распределителей, представляющих собой стальные трубы 8 с наружным диаметром 426 мм, снабженные отверстиями, расположенными в верхней части. Над отверстиями распределителей располагаются распределители эмульсии коробчатой формы 7, имеющие на своих боковых гранях отверстия.
В верхней части сепарационного отсека находится сепаратор газа 2, соединенный при помощи фланцевого угольника со штуцером выхода газа 11, расположенным в левом днище. В верхней части отстойного отсека расположены четыре сборника нефти 4, соединенные с коллектором и штуцером выхода отстоявшейся нефти. В нижней части этого отсека имеется штуцер 6 для удаления отделившейся воды.
Подогретая нефтяная эмульсия через штуцер 1 поступает в распределитель, расположенный в верхней части сепарационного отсека. При этом из обводненной нефти выделяется часть газа, находящегося в ней как в свободном, так и в растворенном состоянии. Отделившийся газ через штуцер 11 сбрасывается в сборную сеть. Уровень жидкости в сепарационном отсеке регулируется при помощи регулятора межфазного уровня, поплавковый механизм которого врезается в люк 9. Дегазированная нефть из сепарационного отсека попадает в два коллектора 8, находящихся в отстойном отсеке. Над коллекторами находятся распределители эмульсии 7. Из коллекторов нефть поступает под коробчатые распределители и через отверстия, просверленные в их боковых поверхностях, вытекает тонкими струйками под уровень пластовой воды в отсеке. Благодаря наличию коробчатых распределителей нефть приобретает вертикальное движение по значительной плошади аппарата. Обезвоженная нефть всплывает вверх и попадает в сборник 4, расположенный в верхней части отстойного отсека, и через штуцер 5 выводится из аппарата. Отделившаяся от нефти пластовая вода поступает в правую часть отстойника и через штуцер 6 с помощью поплавкового регулятора межфазного уровня сбрасывается в систему подготовки промысловых сточных вод.
Отстойник ОГ-200С поставляется комплектно с контрольно-измерительными приборами, позволяющими осуществлять автоматическое регулирование уровней раздела «нефть - газ» и «нефть - пластовая вода» в отсеках, а также местный контроль за давлением среды в аппарате, уровней раздела «нефть - газ» и «нефть - пластовая вода». Техническая характеристика отстойника ОГ-200С приведена ниже.
Пропускная способность по товарной нефти, т/сут 4000¸8000
Рабочая среда нефть, газ, пластовая вода
Рабочее давление, МПа 0,6
Температура среды, °С до 100
Объем аппарата, м3 200
Габариты, мм:
длина 25420
ширина 6660
высота 5780
Масса, кг 48105
Горизонтальные отстойники ОВД-200 и ОБН-3000/6 предназначены для отстоя нефтяных эмульсий с целью разделения последних на составляющие их нефть и пластовую воду. В шифре приняты следующие обозначения: ОВД - отстойник с вертикальным движением; 200 - объем емкости (в м3); ОБН - отстойник блочный нефтяной; число в числителе - номинальная пропускная способность (в м3/сут); число в знаменателе - рабочее давление.
Отстойник ОВД-200 (рис. 68) представляет собой горизонтальную стальную цилиндрическую емкость диаметром 3400 мм.

Рис. 68. Общий вид отстойника ОВД-200
Отстойник оснащен распределителем эмульсии 2, сборниками нефти 1 и воды 4, выполненными из перфорированных труб. Распределитель эмульсии состоит из двух гребенок (двухсторонних) с четырьмя трубами в ряду. По нижним образующим труб распределителя расположены отверстия, под которыми установлены У‑образные отбойные устройства 3. Такое расположение отверстий предотвращает накопление грязи и механических примесей в трубах и способствует равномерному отводу выделяющейся воды. Отбойные устройства предназначены для гашения кинетической энергии вытекающих струй эмульсии, равномерного распределения их по сечению аппарата и предотвращения перемешивания нижележащих слоев воды.
Принцип работы отстойника основан на гравитационном отстое и на эффекте промывки эмульсии, как в слое дренажной воды, так и в промежуточном слое высококонцентрированной эмульсии, выполняющем роль своеобразного коалесцирующего фильтра. Техническая характеристика отстойники ОВД-200 приведена ниже.
Пропускная способность по сырью, м3/сут 4000-8000
Рабочая среда нефть (нефтепродукт), вода
Рабочее давление, МПа 0,6
Температура среды, °С до 100
Обводненность нефти, %:
на входе до 30
на выходе 0,2¸0,5
Вязкость эмульсии не более, мм2/с 10
Объем аппарата, м3 200
Масса, кг 34950
Отстойник ОБН-3000/6 (рис. 69) также представляет собой горизонтальную стальную цилиндрическую емкость диаметром 3400 мм. Он оснащен распределителем эмульсии 3, сборниками нефти 1 и воды 5, а также соответствующими штуцерами для ввода эмульсии 4, вывода нефти 2 и воды 6. Особенность отстойника - применение распределителя эмульсии и сборника нефти в виде перфорированных барабанов, расположенных соответственно вдоль и поперек оси цилиндрической емкости. Принцип работы отстойника основан на гравитационном отстое при относительно горизонтальном движении и разделении эмульсии на нефть и воду.

Рис. 69. Общий вид отстойника ОБН-3000/6
Техническая характеристика отстойника ОБН-3000/6 приведена ниже.
Объем аппарата, м3 200
Масса, кг 34 000
Рабочая среда нефть, пластовая вода
Пропускная способность, м3/сут 3000¸6000
Обводненность сырья не более, % 30
Обводненность выходящей нефти не более, % 0,5
Электродегидраторы предназначены для глубокого обезвоживания и обессоливания нефти.

Рис. 70. Электродегидратор ЭГ-200-10
В шифре приняты следующие обозначения: ЭГ - электродегидратор; первое число - объем емкости в м3, второе - рабочее давление.
Электродегидратор представляет собой горизонтальную стальную, цилиндрическую емкость диаметром 3400 мм. Оснащен распределителем эмульсии, сборниками нефти и воды, выполненными из перфорированных труб.
Эти устройства электродегидратора ничем не отличаются от соответствующих устройств в отстойниках типа ОБД-200. В отличие от отстойников электродегидратор ЭГ-200-10 оснащен двумя электродами - верхним и нижним, куда подается высокое напряжение промышленной частоты. Принцип работы электродегидратора основан на воздействии на эмульсию электрического поля переменной частоты. Под воздействием сил электрического поля глобулы воды в эмульсии испытывают непрерывную деформацию, что способствует эффективному разрушению эмульсий. Техническая характеристика электрогидраторов приведена в табл. 27.
Таблица 27
| Показатели | Электродегидраторы | ||
| 1ЭГ-160 | 2ЭГ-160 | ЭГ-200-10 | |
| Пропускная способность по товарной нефти, т/сут | 2000-8000 | 3000-9300 | 5000-11500 |
| Рабочая температура, °С | до 110 | до 110 | до 110 |
| Мощность электротрансформаторов, кВ×А | 50 | 50 | 150 |
| Напряжение между электродами, кВ | до 44 | до 44 | до 50 |
| Вместимость емкости, м3 | 160 | 160 | 200 |
5.6. Блоки дозирования химреагентов
В настоящее время отечественной промышленностью изготовляются блоки и установки дозирования химических реагентов (деэмульгаторов, ингибиторов коррозии, солеотложения и т.п.) БР-2,5; БР-10; БР-25; НДУ; УДС; УДЭ; УДПВ. Предназначены для приготовления и дозированного ввода жидких деэмульгаторов и ингибиторов коррозии в любой точке трубопровода промысловой системы транспорта и подготовки нефти на участке скважины до установки комплексной подготовки нефти.
Все оборудование установок БР-2,5 и БР-10 (рис. 71) размещено в теплоизолированной будке 1, смонтированной на сварной раме-санях 2. Будка разделена герметичной перегородкой 4 на два отсека (технологический и приборный).
В технологическом отсеке размещены технологическая емкость 8, трубчатый электронагреватель 5, шестеренный 7 и дозировочный 6 насосы, а также средства контроля и управления 3.
Путем подачи в смеситель в определённых соотношениях воды и концентрированного реагента на установке БР-25 при необходимости можно приготовить и дозировать водный раствор реагентов.

Рис. 71. Блоки дозирования химреагентов БР-2,5 и БР-10
Технологическая характеристика блоков БР приведена в таблице 28.
Таблица 28
| Показатели | Блок дозирования химреагентов | ||
| БР-2,5 | БР-10 | БР-25 | |
| Размер дозы, г/т | 10¸50 | 10¸50 | 10¸50 |
| Вязкость дозируемой среды, МПа×с | до 1000 | до 850 | до 850 |
| Подача дозировочного насоса, л/ч | 2,5 | 10 | 25 |
| Рекомендуемое давление нагнетания, МПа | 10 | 10 | 4 |
| Температура дозируемого реагента, °С | 50¸60 | 20¸60 | 20¸60 |
| Температура окружающей среды, °С | -40¸+50 | -40¸+50 | -40¸+50 |
| Запас химического реагента, сут | 15 | 30 | 2¸10 |
| Габаритные размеры, мм | 3360´2300´ ´2725´300 | 3770´2250´3090 | 3770´2400´ ´2680´4500 |
| Масса, кг | 3000 | 3090 | 4500 |
5.7. Нефтяные резервуары
Нефтяные резервуары (емкости) предназначены для накопления, кратковременного хранения и учета «сырой» и поворотной нефти. Группу резервуаров, сосредоточенных в одном месте, называют резервуарным парком.
Согласно СНиП объем сырьевых резервуаров должен быть не менее пятикратного суточного объема добычи нефти, а товарных резервуаров - двухратного. На промыслах используют в основном стальные цилиндрические резервуары вместимостью 100¸20000 м3 и реже железобетонные подземные резервуары вместимостью до 100000 м3.
Нефтяные, резервуары строят из несгораемых материалов в наземном, полуподземном и подземном исполнении.
Стальные резервуары сооружают с постоянной или переменной толщиной стенок корпуса. В зависимости от объема и высоты резервуара их изготовляют из листовой стали толщиной от 4 до 10 мм. По технологическим условиям (сварка) листовая сталь толщиной менее 4 мм не может применяться, если даже расчетная толщина стенки получается меньше.
При сооружении корпуса резервуара стальные пояса могут располагаться тремя способами: ступенчатым, телескопическим и встык.
Стенки вертикальных цилиндрических резервуаров при отсутствии избыточного давления над поверхностью жидкости испытывают давление, зависящее от высоты столба уровня жидкости до рассматриваемого пояса резервуара. Например, на глубине h стенки испытывают внутреннее давление Р, равное:
.
Толщину стенки определяют из уравнения:
,
h - высота резервуара, мм; r - плотность жидкости, кг/м3; g - ускорение силы тяжести, м/с2; D - диаметр резервуара; sдоп - допустимое напряжение на растяжение.
Толщину листовой стали днищ резервуаров не рассчитывают и принимают обычно не более 5 мм, так как гидростатическое давление воспринимается фундаментом.
Крышки резервуаров изготовляют из листовой стали толщиной не более 2,5мм и бывают: конические, сферические, плоские.
На нефтяных месторождениях применяют чаще всего резервуары с плоскими крышками.
Крыши резервуаров располагаются на строительных перекрытиях (фермах), которые могут опираться как на промежуточные колонны внутри резервуара, так и непосредственно на его стенки.
Оборудование стальных резервуаров и их конструктивные схемы должны обеспечивать их правильную и безопасную эксплуатацию, в частности: 1) накопление и опорожнение резервуаров; 2) замер уровня нефти; 3) отбор проб нефти; 4) зачистку и ремонт резервуаров; 5) отстой нефти и удаление подтоварной воды; 6) поддержание давления в резервуаре в безопасных пределах.
На нефтяных резервуарах монтируется оборудование представленное на рис. 72.

Рис. 72. Схема расположения оборудования на стальном резервуаре:
1 – приемо-раздаточные патрубки; 2 – захлопка для принудительного закрытия; 3 – приемная труба; 4- замерной люк; 5 – световой люк; 6 – люк-лаз; 7 – сифон; 8 – дыхательный клапан; 9 ‑ гидравлический предохранительный клапан
Диаметры приёмо-раздаточных патрубков определяются заданной производительностью перекачиваемой нефти и колеблются в пределах 150¸700 мм. Скорость движения жидкости в них, в пределах 0,5¸2,5 м/с в зависимости от вязкости нефти.
Захлопка 2 устанавливается для предотвращения утечек нефти из резервуаров при неисправности задвижек.
Подъёмная труба 3 монтируется внутри резервуара и предназначена для отбора нефти с требуемой высоты.
Замерный люк 4 служит для замера в резервуаре уровня нефти и подтоварной воды, а также для отбора проб пробоотборником.
Замерный люк устанавливается на патрубке, вваренном вертикально в крышу резервуара. Крышка замерного люка герметично закрывается посредством прокладки и нажимного, откидного болта. Внутри замерного люка расположена направляющая колодка, по которой спускают в резервуар замерную ленту с лотом.
Колодка изготовляется из меди или алюминия, чтобы предотвратить искрообразование.
Световой люк 5 - для проникновения света и проветривания перед зачисткой, ремонтом. Люк-лаз для проникновения людей, при ремонте, очистке, а также освещения и проветривания. Водоспускное приспособление сифонного типа предназначается для отбора пластовой воды.
Высота колена сифона hc определяется расчетом в зависимости от выбранного соотношения высот столбов воды hв и нефти hн в резервуаре по формуле:
,
откуда
.
Дыхательный клапан 8 автоматически сообщает газовое пространство резервуара с атмосферой в тот момент, когда в резервуаре создается предельно допустимое давление или вакуум в результате изменения температуры, а также при наполнении и опорожнении резервуара. Дыхательные клапаны рассчитаны на избыточное давление и вакуум в газовом пространстве резервуара Ризб=20 мм вод. ст. При таком избыточном давлении масса кровли резервуара, изготовленной из листовой стали толщиной 2,5 мм, уравновешивается силой избыточного давления на неё. Масса 1 м2 крыши составляет 20 кг и, следовательно, крыша не будет испытывать напряжения, если давление изнутри не будет превышать давления, создаваемого массой крыши (рис. 73).
При повышении давления изнутри резервуара клапан 2 поднимается и сбрасывает в атмосферу излишний газ, а при понижении давления внутри резервуара открывается клапан 1 и в резервуар поступает воздух.
Во избежание коррозии корпус клапана и седло изготовляют из алюминиевого сплава. Размер дыхательных клапанов выбирают в зависимости от их допустимой пропускной способности.

Рис. 73. Функциональная схема дыхательного клапана:
1 – клапан вакуума; 2 – клапан давления; 3 – фланец для установки клапана на огневом предохранителе
Дыхательный клапан является ответственным элементом оборудования резервуара, в связи, с чем исправному состоянию клапанов и правильной эксплуатации их должно уделяться особое внимание. В зимнее время дыхательные клапаны часто выходят из строя, так как при прохождении влажных паров нефти через клапан влага, конденсируясь на тарелках и седлах, приводит к их взаимному примерзанию. Этот недостаток устраняется путем изоляции смерзающихся поверхностей клапана фторопластом, имеющим большую механическую прочность при низких температурах и высокую химическую стойкость.
Гидравлический предохранительный клапан 9 предназначается для ограничения избыточного давления или вакуума в газовом пространстве резервуара при отказе в работе дыхательного клапана, а также при недостаточном сечении дыхательного клапана для быстрого пропуска газа или воздуха. Предохранительные клапаны рассчитаны на несколько большее давление и вакуум, чем дыхательный клапан: на избыточное давление 60 мм вод. ст. и разряжения 40 мм вод. ст. Его функциональная схема приведена на рис. 75.

Рис. 74. Функциональная схема гидравлического предохранительного клапана
Предохранительный клапан заливают незамерзающими, неиспаряющимися и маловязкими жидкостями - раствором глицерина, этиленгликолем и др. образующими гидравлический затвор, через который происходит барботаж из резервуара излишней смеси газа с воздухом или «вдох» в резервуар.
В случаях резкого повышения давления в резервуаре может произойти выброс жидкости из клапана в кольцевой канал, обратно из него жидкость стекает через отверстия в стенке кармана. Огневые предохранители устанавливаются на резервуарах в комплекте с дыхательными и предохранительными клапанами и предназначаются для предохранения газового пространства резервуара от проникновения в него пламени через дыхательный клапан.
Принцип действия огневых предохранителей заключается в том, что пламя, попадая в огневой предохранитель, проходит через систему клапанов малого сечения, в результате чего дробится на отдельные мелкие потоки; поверхность соприкосновения пламени с предохранителем увеличивается, возрастает отдача тепла стенкам каналов, и пламя затухает.
Основной деталью огневых предохранителей является спиральная ленточная кассета цилиндрической формы, изготовленная из цветных металлов и помещенная в корпус предохранителя.
Резервуары стальные вертикальные цилиндрические (рис. 75) предназначены для хранения нефти, нефтепродуктов с понтоном и без понтона.

Рис. 75. Резервуар стальной вертикальныйИзготовитель: Новокузнецкий завод резервуарных металлоконструкций.Таблица 29
Резервуары стальные вертикальные
| Номинал. объем, м3 | Геометр. характеристики, мм | Общая масса справочн., т | ||
| Диаметр | Высота | Без понтона | С понтоном | |
| Расчетная температура -40°С и выше | ||||
| 100 200 300 400 700 1000 2000 3000 5000 10000 20000 30000 | 4730 6630 7580 8530 10430 10430 15180 18980 20920 28500 39900 45600 | 5960 5950 7450 7450 8940 11920 11920 11920 14900 17880 17880 17880 | 8,2 10,8 13,8 15,4 22,9 26,7 48,0 75,4 103,1 216,6 407,0 534,2 | 10,3 13,4 16,4 19,5 27,2 32,3 53,6 82,9 118,3 233,8 440,0 581,0 |
| Расчетная температура -40°С до -65°С | ||||
| 100 200 300 400 700 1000 2000 3000 5000 10000 20000 | 4730 3630 7580 8530 10430 10430 15180 18980 22790 34200 45600 | 5960 5960 7450 7450 8940 11920 11920 11920 11920 11920 11920 | 8,4 11,1 14,0 15,7 22,9 27,9 "3. Социально-географическое направление" - тут тоже много полезного для Вас. 48,1 68,8 101,5 196,8 391,8 |
[ОП1]





















