Околоствольные дворы
14. Околоствольные дворы. Поверхностный комплекс шахты
Околоствольный двор - это совокупность горных выработок, расположенных у ствола шахты. Эти выработки предназначены для соединения стволов шахты с главными откаточными и вентиляционными. выработками и для размещения технических и служебных пунктов общешахтных служб. К выработкам околоствольного двора; относятся откаточные выработки, служебные камеры и ходки.
Откаточные выработки предназначены для приема и отправления поездов. Служебные камеры - для размещения в них механических и электрических установок, хранения материалов, сбора шахтной воды и т.д.
Ходки соединяют откаточные выработки и камеры:.
14.1. Типы околоствольных дворов
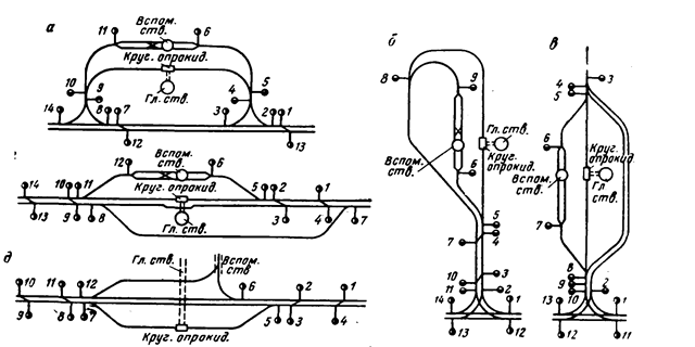
В зависимости от порядкам движения грузов и порожняка, т.е. от схемы путей различают несколько, типов околоствольных дворов (вагонетки с глухим кузовом):
Круговой (а), петлевой (б), тупиковый (в), челноковый (г).

Рекомендуемые материалы
Камеры околоствольного двора: насосная, водосборника, центральная подстанция, угольная и породная разгрузочные ямы, депо аккумуляторных электровозов (зарядная и преобразовательная подстанции, ремонтная мастерская), камера ожидания, камера медицинского пункта, депо противопожарного поезда, камера диспетчера, подземная кладовая, склад ВВ и т.д.
Основными факторами, влияющими на выбор схемы околоствольного двора, являются:
1. Вид транспорта горной массы на шахте.
2. Схема вскрытия ш.п., взаимное расположение стволов.
3. Устойчивость горных пород.
4. Экономичность привязки околоствольного двора к вскрывающим выработкам (минимальные объемы на единицу мощности шахты).
Объемы околоствольного двора составляют 7-15% общего объема подземных выработок, а продолжительность их сооружения превышает 60% общего срока строительства шахты.
Технологический комплекс поверхности - это комплекс зданий, сооружений и оборудования, предназначенных для подъема, приема, переработки и отправки потребителям ПИ, приема и складирования породы, додачи воздуха в шахту, обеспечения горных работ электро- и пневмоэнергией, бытового обслуживания трудящихся и для очистки шахтных вод.
Капитальные затраты на сооружение поверхности - 20-25% общих затрат.
Основное требование - компактность, т.е. максимальная плотность застройки.
Технологический комплекс поверхности шахты состоит из 3-х основных блоков и отдельно стоящих зданий и сооружений, которые по своим технологическим особенностям не могут быть сблокированы.
1 - блок главного ствола
2 - блок: вспомогательного ствола
3 - блок административно-бытового комбината (АБК)
Вентиляционная установка, открытая подстанция, резервуары для воды, эстакады, градирня и т.д.
Блок главного ствола : копер, помещения технологического комплекса по приему угля и породы, пункт погрузки угля в ж.д. вагоны, станция погрузки породы, котельная, помещения подъемной установки.
Вместе с этой лекцией читают "3. Показатели численности, состава и размещения".
Блок вспомогательного ствола: копер, комплекс по обмену вагонеток, помещения ремонтных мастерских, калориферная и компрессорная.
Блок АБК: административно-конторская часть, зал собраний и банная часть.
Мероприятия по охране окружающей среды.
На выбор схемы расположения технологического комплекса влияют: способ вскрытия, вид шахтного подъема, взаимное расположение стволов, количество отдельно выдаваемых марок угля, производственная мощность шахты и срок службы.
Околоствольные дворы и комплекс поверхности взаимно увязаны между собой: откаточные выработки ОД, ориентируют по направлению продольных осей клетевого ствола, а они зависят от компановки поверхностного комплекса и расположения железнодорожных путей.
Околоствольные дворы и технологические комплексы ориентируются по частям света. Стрелка С-Ю проходит через ось главного ствола.






















