Оборудование общего назначения
1. Оборудование общего назначения
1.1. Классификация оборудования, применяемого при эксплуатации нефтяных и газовых месторождений
Оборудование, применяемое при различных эксплуатационных работах, можно выделять в группы [4]:
I. Оборудование, применяемое при различных эксплуатационных работах.
II. Оборудование для освоения скважин.
III. Оборудование для подъема продукции пластов из скважин.
IV. Оборудование для воздействия на пласт.
V. Оборудование для ремонтных работ на скважине.
VI. Оборудование для сбора и подготовки нефти и газа к транспортированию.
Задачей данной работы является освещение оборудования первой и третьей групп.
1.2. Оборудование ствола скважины, законченной бурением
В пробуренных эксплуатационных скважинах оборудуют как забойную (в зоне продуктивного пласта), так и устьевую часть. При всех способах эксплуатации скважин подъем жидкости и газа на поверхность происходит по специальным насосно-компрессорным трубам - НКТ, спускаемым в скважины перед началом их эксплуатации.
Рекомендуемые материалы
Устье скважины оснащают колонной головкой (колонная обвязка). Колонная головка предназначена для разобщения межколонных пространств и контроля за давлением в них. Ее устанавливают на резьбе или посредством сварки на кондукторе. Промежуточные и эксплуатационные колонны подвешивают на клиньях или муфте.
Конструкция колонной обвязки предусматривает возможность:
восстановления герметичности межколонных пространств подачей в межпакерную полость консистентного смазочного материала;
опрессовки фланцевых соединений;
контроля и разведки давления среды в межколонных пространствах;
проведение цементирования скважины.
Иногда колонная головка может иметь сальник, чтобы эксплуатационная колонна могла перемещаться в вертикальном направлении (например, при закачке теплоносителя).
Основные параметры колонных обвязок: число обвязываемых колонн; их диаметры; давления, на которые рассчитаны корпуса колонных обвязок, в умеренном и холодном макроклиматических районах; исполнение коррозионно-стойкое К2, К2И, КЗ для скважин, продукция которых содержит (по объему) сероводород и углекислый газ соответственно до 6% без ингибирования рабочей среды и с ингибированием до 25%.
Для обозначения колонных обвязок принята система шифрования. Полный шифр оборудования обвязки обсадных колонн условно представляется в виде ОККХ - X1 - X2X3X4X5, где ОК - оборудование обвязки колонн; 2 - подвеска клиньевая; Х - число колонн, подвешиваемых на клиньях; X1 - рабочее давление; X2 диаметр эксплуатационной колонны; X3 - диаметр первой промежуточной колонны; X4 - диаметр направления; X5 - исполнение по коррозионной стойкости.
Например, оборудование обвязки колонн с клиньевой подвеской двух колонн, диаметром эксплуатационной колонны 168 мм, диаметром эксплуатационной колонны направления 324 мм для сред, содержащих Н2 и СО2 до 6%, обозначается ОКК2-350-168 x 245х324К2.
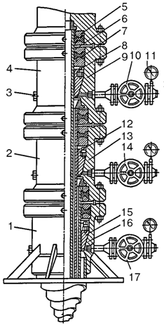
Трехкорпусная колонная обвязка (рис. 1) состоит из однофланцевой колонной головки 1 и двухфланцевых колонных головок 2 и 4. Колонные головки включают корпуса 9, 13, 16, клиньевые подвески 8, 12 и 15, пакеры, состоящие из опорных (нижних) и нажимных 6 (верхних) колец и упругих уплотнителей 5. На боковых отводах корпусов колонных головок устанавливают манифольды контроля давления, состоящие из запорных устройств 10, 14, 17, манометров II соответствующего класса, фланцевых или резьбовых заглушек 3.
Промышленностью выпускается также колонные головки типа ОКБ, конструкция которых принципиально отличается тем, что она позволяет в одном корпусе обвязать три обсадных колонны.

Рис. 1. Трехкорпнусная колонная обвязка ОК
1.3. Трубы
Трубы при добыче применяются для крепления стволов скважин и для образования каналов внутри скважин, подвески оборудования в скважине, прокладки трубопроводов по территории промысла.
Основные группы труб: 1 - насосно-компрессорные (НКТ); 2 ‑ обсадные; 3 - бурильные; 4 - для нефтепромысловых коммуникаций.
1.3.1.Насосно-компрессорные трубы
При всех способах эксплуатации скважин подъем жидкости и газа на поверхность происходит обычно по НКТ, которые применительно к способам эксплуатации еще называют фонтанными, компрессорными, насосными, подъемными или лифтовыми.
Насосно-компрессорные трубы используются также для различных технологических процессов (например, для солянокислых обработок пластов, разбуривания цементных пробок и т.д.).
Ограничением при выборе диаметра проходных отверстий скважинного трубопровода служит скорость потока рабочей среды. Для нефтяных скважин она не должна превышать 10 м/с, а для газовых - 24 м/с. Это связано с резко увеличивающимся эрозионным износом трубопровода и устьевого оборудования, Иногда увеличивают диаметр трубопровода с целью обеспечения эрозионной и коррозионной стойкости.
В табл. 1 представлены основные размеры НКТ, предусмотренные существующим стандартами.
Таблица 1
| Условный диаметр трубы, мм | 27 | 33 | 42 | 48 | 60 | 73 | 89 | 102 | 114 |
| Толщина стенки, мм | 3 | 3,5 | 3,5 | 4,0 | 5,0 | 6,5¸7,0 | 8,0 | 6,5 | 7,0 |
Отечественная промышленность выпускает НКТ диаметром 60, 73, 89, 114 мм и муфты к ним из стали группы прочности Д, К и Е. Механические свойства которых приведены в табл. 2.
Таблица 2
| Показатели | Группа прочности стали | |||
| Д | К | Е | ||
| Временное сопротивление sВ, МПа | 655 | 687 | 699 | |
| Предел текучести sТ, МПа | не менее | 379 | 491 | 552 |
| не более | 552 | - | 758 | |
| Относительное удлинение e, %, не менее | 14,3 | 12,0 | 13,0 |
Конструкции изготавливаемых НКТ следующие:
муфтовые, гладкие с конической резьбой треугольного профиля по ГОСТ 633-80 (рис. 2, а);
муфтовые гладкие высокогерметичные с конической резьбой трапецеидального профиля - тип НКМ по ГОСТ 63-80 (рис. 2, б);
муфтовые, гладкие с конической резьбой треугольного профиля с повышенной пластичностью и хладостойкостью то ТУ 14-3-1534-87 (рис. 2, в);
муфтовые, гладкие с конической резьбой треугольного профиля с узлом уплотнения из полимерного материала по ТУ 14-3-1534-87 (рис. 2, г);
В соединении труб с треугольной резьбой (рис. 2, а) применяется резьба конусностью 1:16 с углом профиля 60°. Прочность соединения до 70% от прочности тела трубы. Соединение недостаточно герметично из-за несовершенства конструкции. Расчетные величины предельных давлений составляют 2/3 практических.
Трубы типа НКМ (рис. 2, б) характеризуются равнопрочностью резьбового соединения с телом трубы и высокой герметичностью. Герметичность обеспечивается коническим и торцевым уплотнением типа «металл-металл». Увеличенный шаг резьбы позволяет ускорить сборку соединения в 2,5 раза по сравнению с треугольной резьбой.

Рис. 2. Трубы насосно‑компрессорные муфтовые гладкие:
а – с конической резьбой треугольного профиля; б – с конической резьбой трапециидального профиля; в – с конической резьбой треугольного профиля с повышенной пластичностью и хладостойкостью; г – с конической резьбой треугольного профиля с узлом уплотнения из полимерного материала
Эксплуатационная долговечность НКТ гладких труб с резьбой треугольного профиля с повышенной пластичностью и хладостойкостью на 40% выше, чем по ГОСТ 633-80.
НКТ гладкие с резьбой треугольного профиля с узлом уплотнения из полимерного материала отличаются высокой герметичностью и меньшим коррозионным износом резьбы. Эксплуатационные характеристики труб аналогичны по ГОСТ 633-80.
Длина насосно-компрессорных труб 5,5 ¸ 10,5 м. На толщину стенки установлен минусовой допуск в 12,5% от толщины. Внутренний диаметр НКТ проверяется шаблоном. Шаблоны НКТ (размеры в мм):
наружный диаметр трубы 48,3 ¸ 73,0 88,9 ¸ 114,3;
разность диаметра шаблона и
внутреннего диаметра трубы 2,4 3,2;
длина шаблона 1067.
Насосно-компрессорные трубы заводом-изготовителем маркируются по ГОСТ 633-80 клеймением и краской.
Например, Синарский трубный завод. На каждой трубе на расстоянии 0,4¸0,6 м от ее конца, снабженного муфтой, должна быть четкая маркировка (ударный способ, накатка): условный диаметр трубы, мм; номер трубы; группа прочности; толщина стенки трубы, мм (без запятой); товарный знак завода; месяц изготовления; год изготовления. На муфте клеймением наносится товарный знак завода и группа прочности.
НКТ могут быть изготовлены из алюминиевого сплава марки Д 16. Такие трубы можно спускать глубже стальных, они более коррозионностойкие в сероводородосодержащих средах.
Эффективно применение фиберглассовых труб, а также безрезьбовых НКТ длиной по 6000 м на барабанах.
Для защиты НКТ от парафина и коррозии и снижения гидросопротивления на 20¸30% применяются защитные покрытия (стекло, стеклоэмали, лакокрасочные материалы и др.).
Расчет НКТ на прочность определяют по параметрам:
нагрузке, вызывающей страгивание резьбового соединения;
эквивалентному напряжению, возникающему в опасном сечении трубы с учетом давления среды и осевой нагрузки;
циклической переменной нагрузке;
усилиям, вызывающим продольный изгиб трубы.
1.3.2.Трубы обсадные
Обсадные трубы служат для крепления ствола скважины. По ГОСТ 632-80 отечественные обсадные трубы выпускаются следующих диаметров и толщины:
Таблица 3
| Æ, мм | 114 | 127 | 140 | 146 | 168 | 178 | 194 | 219 | 245 |
| s, мм | 5,2-10,2 | 5,6-10,2 | 6,2-10,5 | 6,5-9,5 | 7,3-12,2 | 5,9-15,0 | 5,2-10,2 | 7,6-15,1 | 7,9-15,9 |
| 273 | 299 | 324 | 340 | 351 | 377 | 406 | 426 | 473 | 508 |
| 7,1-16,5 | 8,5-14,8 | 8,5-14,0 | 8,4-15,4 | 9,0-12,0 | 9,0-12,0 | 9,5-16,7 | 10,0-12,0 | 11,1 | 11,1-16,1 |
Группа прочности стали Д, К, Е, Л, М, Т. Трубы маркируются клеймением и краской. При спуске в скважину обсадные трубы шаблонируют.
Обсадные трубы могут применяться вместо НКТ, например, при отборе 5000¸7000 м3/сут. воды из скважин большого диаметра. Иногда для этого используют бурильные трубы.
1.3.3.Бурильные трубы
Бурильные трубы приспособлены к длительному свинчиванию‑развинчиванию. Промышленность выпускает бурильные трубы длиной 6±0,6; 8±0,6; 11,5±0,9 м, наружным диаметром 60, 73, 89, 102мм. Трубы диаметром 114, 127, 140 и 168 мм выпускают длиной 11,5±0,9 м.
Бурильные трубы изготавливаются из такой же стали, как и обсадные. Для уменьшения веса бурильной колонны применяют алюминиевые бурильные трубы (АБТ), изготавливаемые из сплава Д 16. Применяются колонны труб с наружным диаметром 2 7/8” для бурения забойными двигателями.
1.3.4.Трубы для нефтепромысловых коммуникаций
Для нефтепромысловых коммуникаций используются электросварные горячекатаные стальные трубы, пригодные по прочности и гидравлическому сопротивлению:
трубы стальные бесшовные, горячедеформированные - ГОСТ 8732-78, наружным диаметром от 20 до 550 мм, с толщиной стенок от 2,5 мм и более сталь 10; ЮГ 2; 20 12ХН 2А и др.);
трубы стальные сварные для магистральных газонефтепроводов – ГОСТ 20295‑85, диаметром от 159 до 820 мм (сталь К 34, К 50, К 60 и др.);
Для выкидных линий могут поменяться гибкие непрерывные колонны труб диаметром до 2 7/8”.
Трубопроводы проектируются и изготавливаются в соответствии с правилами, установленными Госгортехнадзором. Исключение составляют трубопроводы для пара, эксплуатируемые с Рабс<0,2 МПа, для воды с температурой до 120оС, временно устанавливаемые трубопроводы со сроком действия до 1 года и некоторые другие.
Трубы этих трубопроводов должны выдерживать давление испытания
Р=2 S[d] /Двн,
где S - толщина трубы (за вычетом допуска); [s] - допускаемое напряжение, равное 40% предела текучести; Двн ‑ внутренний диаметр трубы.
1.4. Скважинные уплотнители (пакеры)
Пакеры при эксплуатации устанавливаются обычно в обсаженной части скважины и спускают их на колонне подъемных труб. Уплотнение, прижимаемое к обсадной трубе, должно надежно разобщать части ствола скважины, находящиеся над и под уплотнителем. Уплотнители для эксплуатационных нужд подразделяются по своему назначению.
1. Уплотнители, применяемые при отборе нефти и газа из пласта в случае:
а) оборудования, требующего создания в скважине двух изолированных каналов (например, НКТ и уплотненнее снизу пространств между НКТ и обсадными трубами при раздельной эксплуатации нескольких пластов);
б) беструбной эксплуатации (подъеме жидкости по обсадной колонне, в нижней части которой установлено уплотнение);
в) предохранения от выброса при газопроявлениях (пакер с клапаном-отсекателем).
2. Уплотнители, применяемые при исследовании или испытании в случае:
а) раздельного исследования пластов, вскрытых одной скважиной;
б) проверки герметичности обсадной колонны или герметичности изоляции пластов цементным кольцом.
3. Уплотнители, применяемые при воздействии на пласт или его призабойную зону при:
а) гидроразрыве пласта;
б) поддержании пластового давления;
в) подаче в пласт теплоносителей.
По способу посадки пакеры подразделяют на механические М (рис. 3, а, б), гидравлические Г(рис. 3, в, г) и гидромеханические ГМ. Механический пакер расширяется при воздействии осевой нагрузки (масса НКТ); оболочка гидравлического пакера расширяется при подаче в нее жидкости.
Во всех пакерах должна быть опора (якорь) для пакера:
упор на забой через хвостовик;
переход диаметра обсадной колонны;
шлипсовый захват за обсадную колонну (якорь);
шлипсовый захват и торец обсадной трубы в ее муфтовом соединении.
Пакеры выпускают диаметром от 88 до 245 мм, для обсадных труб – 114¸273 мм, которые обеспечивают перепад давления: 14, 21, 35, 50 и 70 МПа.
Различают следующие виды пакеров:
ПВ - пакер, воспринимающий усилие от перепада давления, направленного вверх.
ПН – тоже, направленного вниз;
ПД - то же, направленного как вниз, так и вверх.
Если Вам понравилась эта лекция, то понравится и эта - 2. Жидкости и их свойства.
Заякоривающие устройства (якорь) могут быть Г - гидравлические (по способу посадки); М - механические; ГМ - гидромеханические.

Рис. 3. Пакеры
Пример обозначения пакера: 2ПД-ЯГ-136НКМ-35К1. 2 - номер модели; ПД ‑ тип пакера; Я - наличие якоря; Г - способ посадки пакера (гидравлический); 136 - наружный диаметр пакера, мм; НКМ - резьба гладких высокогерметичных насосно-компрессорных труб (ГОСТ 633-80); 35 - рабочее давление, МПа; К1 ‑ исполнение по коррозионной стойкости (для сред с объемной концентрацией СО2 до 10%).
Пример обозначения якоря: ЯГ-118-21. Я - якорь; Г - гидравлический способ посадки; 118 - наружный диаметр якоря, мм; 21 - рабочее давление, МПа.
Пакеры способны воспринимать усилие от перепада давления, направленного как вверх, так и вниз, могут оставаться в скважине и выполнять свои функции и без колонны подъемных труб, которую извлекают после посадки пакера. В этом случае для отсоединения колонны труб от пакера и повторного соединения ее с пакером применяются разъединители колонн типов РК, ЗРК, 4РК, устанавливаемые над пакером. В оставляемую с пакером часть разъединителя перед разъединением при помощи канатной техники устанавливается пробка, перекрывающая пласт, а извлекаемая часть разъединителя поднимается вместе с колонной подъемных труб. Пример обозначения разъединителя колонн: РК 89/145-80-350. РК - разъединитель колонн; 89 - условный диаметр, мм; 145 - диаметр пакера, мм; 80 - - диаметр проходного отверстия, мм; 350 - рабочее давление, кг/см2.























