Штанговые насосные установки
3. Штанговые насосные установки (ШСНУ)
Прекращение или отсутствие фонтанирования обусловило использование других способов подъема нефти на поверхность, например, посредством штанговых скважинных насосов. Этими насосами в настоящее время оборудовано большинство скважин. Дебит скважин - от десятков кг в сутки до нескольких тонн. Насосы опускают на глубину от нескольких десятков метров до 3000 м иногда до 3200‑3400 м).
ШСНУ включает:
а) наземное оборудование - станок-качалка (СК), оборудование устья, блок управления;
б) подземное оборудование - насосно-компрессорные трубы (НКТ), штанги насосные (ШН), штанговый скважинный насос (ШСН) и различные защитные устройства, улучшающие работу установки в осложненных условиях.
|
Штанговая глубинная насосная установка (рис. 12) состоит из скважинного насоса 2 вставного или невставного типов, насосных штанг 4, насосно-компрессорных труб 3, подвешенных на планшайбе или в трубной подвеске 8 устьевой арматуры, сальникового уплотнения 6, сальникового штока 7, станка качалки 9, фундамента 10 и тройника 5. На приеме скважинного насоса устанавливается защитное приспособление в виде газового или песочного фильтра 1.
3.1. Станки-качалки
Станок-качалка (рис. 13), является индивидуальным приводом скважинного насоса.
|
Основные узлы станка-качалки - рама, стойка в виде усеченной четырехгранной пирамиды, балансир с поворотной головкой, траверса с шатунами, шарнирно-подвешенная к балансиру, редуктор с кривошипами и противовесами. СК комплектуется набором сменных шкивов для изменения числа качаний, т. е. регулирование дискретное. Для быстрой смены и натяжения ремней электродвигатель устанавливается на поворотной салазке.
Монтируется станок-качалка на раме, устанавливаемой на железобетонное основание (фундамент). Фиксация балансира в необходимом (крайнем верхнем) положении головки осуществляется с помощью тормозного барабана (шкива). Головка балансира откидная или поворотная для беспрепятственного прохода спускоподъемного и глубинного оборудования при подземном ремонте скважины. Поскольку головка балансира совершает движение по дуге, то для сочленения ее с устьевым штоком и штангами имеется гибкая канатная подвеска 17 (рис. 13). Она позволяет регулировать посадку плунжера в цилиндр насоса для предупреждения ударов плунжера о всасывающий клапан или выхода плунжера из цилиндра, а также устанавливать динамограф для исследования работы оборудования.
Амплитуду движения головки балансира (длина хода устьевого штока-7 на рис. 12) регулируют путем изменения места сочленения кривошипа шатуном относительно оси вращения (перестановка пальца кривошипа в другое отверстие). За один двойной ход балансира нагрузка на СК неравномерная. Для уравновешивания работы станка-качалки помещают грузы (противовесы) на балансир, кривошип или на балансир и кривошип. Тогда уравновешивание называют соответственно балансирным, кривошипным (роторным) или комбинированным.
Блок управления обеспечивает управление электродвигателем СК в аварийных ситуациях (обрыв штанг, поломки редуктора, насоса, порыв трубопровода и т. д.), а также самозапуск СК после перерыва в подаче электроэнергии.
Долгое время нашей промышленностью выпускались станки-качалки типоразмеров СК. В настоящее время по ОСТ 26-16-08-87 выпускаются шесть типоразмеров станков-качалок типа СКД табл. 4.
Таблица 4
Станок‑качалка | Число ходов балансира в мин. | Масса, кг | Редуктор |
| СКД3-1,5-710 | 5¸15 | 3270 | Ц2НШ-315 |
| СКД4-2,1-1400 | 5¸15 | 6230 | Ц2НШ-355 |
| СКД6-2,5-2800 | 5¸14 | 7620 | Ц2НШ-450 |
| СКД8-3,0-4000 | 5¸14 | 11600 | НШ-700Б |
| СКД10-3,5-5600 | 5¸12 | 12170 | Ц2НШ-560 |
| СКД12-3,0-5600 | 5¸12 | 12065 | Ц2НШ-560 |
В шифре, например, СКД8-3,0-4000, указано Д - дезаксиальный; 8 ‑ наибольшая допускаемая нагрузка Рmax на головку балансира в точке подвеса штанг, умноженная на 10 кН; 3,0 - наибольшая длина хода устьевого штока, м; 4000 - наибольший допускаемый крутящий момент Мкр, max на ведомом валу редуктора, умноженный на 10-2 кН*м.
АО «Мотовилихинские заводы» выпускает привод штангового насоса гидрофицированный ЛП-114.00.000, разработанный совместно со специалистами ПО «Сургутнефтегаз».
Моноблочная конструкция небольшой массы делает возможным его быструю доставку (даже вертолетом) и установку без фундамента (непосредственно на верхнем фланце трубной головки) в самых труднодоступных регионах, позволяет осуществить быстрый демонтаж и проведение ремонта скважинного оборудования.
Фактически бесступенчатое регулирование длины хода и числа двойных ходов в широком интервале позволяет выбрать наиболее удобный режим работы и существенно увеличивает срок службы подземного оборудования.
Техническая характеристика
Нагрузка на шток. кН (тс) 60 (6)
Длина хода, м 1,2¸2,5
Число двойных ходов в минуту 1¸7
Мощность, кВт 18,5
Масса привода, кг 1800
Станки-качалки для временной добычи могут быть передвижными на пневматическом (или гусеничном) ходу. Пример - передвижной станок-качалка «РОУДРАНЕР» фирмы «ЛАФКИН».
3.2. Устьевое оборудование
Устьевое оборудование предназначено для герметизации затрубного пространства, внутренней полости НКТ, отвода продукции скважины, подвешивания колонны НКТ, а также для проведения технологических операций, ремонтных и исследовательских работ в скважинах.
В оборудовании устья колонна насосно-компрессорных труб в зависимости от ее конструкции подвешивается в патрубке планшайбы или на корпусной трубной подвеске.
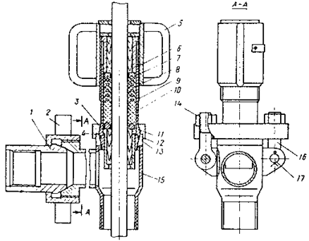
Для уплотнения устьевого штока применяется устьевой сальник типа СУС1 или СУС2 (рис. 14).

Рис. 14. Устьевой сальник типа СУС1:
1 - нипель; 2 - накидная гайка; 3 - втулка; 4 - шаровая крышка; 5 ‑ крышка головки; 6 - верхняя втулка; 7 - нажимное кольцо; 8,10 ‑ манжеты; 9 - шаровая головка; 11 ‑ опорное кольцо; 12 - нижняя втулка; 13 - кольцо; 14 - гайка; 15 - тройннк; 16 - болт откидной; 17 ‑ палец
Арматура устьевая типа АУШ-65/50х14 состоит из устьевого патрубка с отборником проб, угловых вентилей, клапана перепускного, устьевого сальника и трубной подвески (рис. 15).
|
Трубная подвеска, имеющая два уплотни тельных кольца, является основным несущим звеном насосно-компрессорных труб с глубинным насосом на нижнем конце и сальниковым устройством наверху. Корпус трубной головки имеет отверстие для выполнения исследовательских работ.
Проекция скважины поступает через боковое отверстие трубной подвески, а сброс давления из затрубного пространства производится через встроенный в корпус трубной подвески перепускной клапан.
Техническая характеристика АУШ 65/50 Х 14
Рабочее давление, МПа:
в устьевом сальнике СУС при работающем
станке-качалке 4
при остановленном станке-качалке 14
Условный проход, мм:
ствола 65
обвязки 50
Подвеска насосно-компрессорных труб конусная
Диаметр подвески труб, мм 73
Присоединительная резьба Резьба НКТ
(ГОСТ 632—80)
Диаметр устьевого патрубка, мм 146
Габариты, мм 3452х770х1220
Масса, кг 160
3.3. Штанги насосные (ШН)
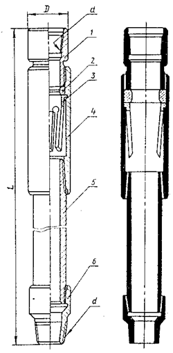
ШН предназначены для передачи возвратно-поступательного движения плунжеру насоса (рис. 16). Изготавливаются основном из легированных сталей круглого сечения диаметром 16, 19, 22, 25 мм, длиной 8000 мм и укороченные - 1000-1200, 1500, 2000 и 3000 мм как для нормальных, так и для коррозионных условий эксплуатации.

Рис. 16. Насосная штанга
Шифр штанг - ШН-22 обозначает: штанга насосная диаметром 22 мм. Марка сталей - сталь 40, 20Н2М, 30ХМА, 15НЗМА и 15Х2НМФ с пределом текучести от 320 до 630 МПа.
Насосные штанги применяются в виде колонн, составленных из от-дельных штанг, соединенных посредством муфт.
Муфты штанговые выпускаются: соединительные типа МШ (рис. 17) - для соединения штанг одинакового размера и переводные типа МШП - для соединения штанг разного диаметра.

Рис. 17. Соединительная муфта:
а - исполнение 1; б - исполнение II
Для соединения штанг применяются муфты - МШ16, МШ19, МШ22, МШ25; цифра означает диаметр соединяемой штанги по телу (мм).
АО «Очерский машиностроительный завод» изготавливает штанги насосные из одноосноориентированного стеклопластика с пределом прочности не менее 80 кгс/мм2. Концы (ниппели) штанг изготавливаются из сталей. Диаметры штанг 19, 22, 25 мм, длина 8000¸11000 мм.
Преимущества: снижение веса штанг в 3 раза, снижение энергопотребления на 18¸20%, повышение коррозионной стойкости при повышенном содержании сероводорода и др. Применяются непрерывные штанги «Кород».
3.4. Штанговые скважинные насосы ШСН
ШСН предназначены для откачивания из нефтяных скважин жидкости обводненностью до 99%, температурой не более 130°С, содержанием сероводорода не более 50 мг/л, минерализацией воды не более 10 г/л.
Скважинные насосы имеют вертикальную конструкцию одинарного действия с неподвижным цилиндром, подвижным металлическим плунжером и шариковыми клапанами. Насосы спускают в скважину на штангах и насосно-компрессорных трубах. Различают следующие типы скважинных насосов (рис. 18):

Рис. 18. Типы скважинных штанговых насосов
НВ1 - вставные с заулком наверху;
НВ2 - вставные с замком внизу;
НН - невставные без ловителя;
НН1 - невставные с захватным штоком;
НН2 - невставные с ловителем.
Выпускают насосы следующих конструктивных исполнений:
а) по цилиндру:
Б - с толстостенным цельным (безвтулочным) цилиндром;
С - с составным (втулочным) цилиндром.
б) специальные:
Т - с полным (трубчатым) штоком для подъема жидкости по каналу колонны трубчатых штанг;
А - со сцепляющим устройством (только для насосов типа НН), обеспечивающим сцепление колонны насосных штанг с плунжером насоса;
Д1 - одноступенчатые, двухплунжерные для создания гидравлического тяжелого низа;
Д2 - двухступенчатые, двухплунжерные, обеспечивающие двухступенчатое сжатие откачиваемой жидкости;
У - с разгруженным цилиндром (только для насосов типа НН2), обеспечивающим снятие с цилиндра технической нагрузки при работе.
Насосы всех исполнений, кроме Д1 и Д2, одноступенчатые, одноплунжерные:
в) по стойкости к среде:
без обозначения - стойкие к среде с содержанием механических примесей до 1,3 г/л - нормальные;
И - стойкие к среде с содержанием механических примесей более 1,3 г/л - абразивостойкие.
Скважинные штанговые насосы являются гидравлической машиной объемного типа, где уплотнение между плунжером и цилиндром достигается за счет высокой точности их рабочих поверхностей и регламентируемых зазоров. При этом в зависимости от размера зазора (на диаметр) в паре «цилиндр-плунжер» выпускают насосы четырех групп (табл. 5).
Таблица 5
| Группа посадки | Размер зазора между цилиндром и плунжером насоса при исполнении цилиндра, мм | |
| Б | С | |
| 0 | <0,045 | <0,045 |
| 1 | 0,01¸0,07 | 0,02¸0,07 |
| 2 | 0,06¸0,12 | 0,07¸0,12 |
| 3 | 0,11¸0,17 | 0,12¸0,17 |
В условном обозначении насоса, например, НН2БА-44-18-15-2, первые две буквы и цифра указывают тип насоса, следующие буквы - исполнение цилиндра и насоса, первые две цифры - диаметр насоса (мм), последующие длину хода плунжера (мм) и напор (м), уменьшенные в 100 раз и последняя цифра - группу посадки.
Цилиндры насосов изготовляют двух исполнений: ЦБ и ЦС.
ЦБ - цельный безвтулочный толстостенный;
ЦС - составной из набора втулок, стянутых внутри кожуха переводниками.
Исходя из назначения и области применения скважинных насосов, выпускают плунжеры и пары «седло-шарик» клапанов различных поверхностей.
Плунжеры насосов изготавливают четырех исполнений:
ПХ1 - с кольцевыми канавками, цилиндрической расточкой на верхнем конце и с хромовым покрытием наружной поверхности;
ПХ2 - то же, без цилиндрической расточки на верхнем конце;
П111 - с кольцевыми канавками, цилиндрической расточкой на верхнем конце и упрочнением наружной поверхности напылением износостойкого порошка;
П211 - то же, без цилиндрической расточки на верхнем конце.
Пары «седло-шарик» клапанов насосов изготавливают в трех исполнениях:
К - с цилиндрическим седлом и шариком из нержавеющей стали;
КБ - то же, с седлом и буртиком;
КИ - с цилиндрическим седлом из твердого сплава и шариком из нержавеющей стали.
Скважинные насосы нормального исполнения по стойкости к среде, применяемые преимущественно для подъема жидкости с незначительным содержанием (до 1,3 г/л) механических примесей, комплектуют плунжерами исполнения ПХ1 или ПХ2 с парами «седло-шарик» исполнения К или КБ. Скважинные насосы абразивостойкого исполнения И, применяемые преимущественно для подъема жидкости, содержащей более 1,3 г/л механических примесей, комплектуют плунжерами исполнения П1И или П2И и парами «седло-шарик» исполнения КИ.
Конструктивно все скважинные насосы состоят из цилиндра, плунжера, клапанов, замка (для вставных насосов), присоединительных и установочных деталей, максимально унифицированных.
Скважинные насосы типа НВ1 выпускают шести исполнений:
НВ1С - вставной с замком наверху, составным втулочным цилиндром исполнения ЦС, нормального исполнения по стойкости к среде;
НВ1Б - вставной с замком наверху, цельным (безвтулочным) цилиндром исполнения ЦБ, нормального исполнения по стойкости к среде;
НВ1Б...И - то же абразиовостойкого исполнения по стойкости к среде;
НВ1БТ...И - то же, с полым штоком, абразивостойкого исполнения по стойкости к среде;
НВ1БД1 - вставной с замком наверху, цельным цилиндром исполнения ЦБ, одноступенчатый, двухплунжерный, нормального исполнения по стойкости к среде;
НВ1БД2 - вставной с замком наверху, цельным цилиндром исполнения ЦБ, двухступенчатый, двухплунжерный, нормального исполнения по стойкости к среде.
Скважинные насосы всех исполнений, кроме исполнения НВ1БД1 и НВ1БД2, одноплунжерные, одноступенчатые.
Скважинные насосы типа НВ2 изготовляют одного исполнения: НВ2Б - вставной с замком внизу, цельным цилиндром исполнения ЦБ, одноплунжерный, одноступенчатый, нормального исполнения по стойкости к среде. (рис. 19).

Рис. 19. Скважинный штанговый насос исполнения НВ2Б
1 – защитный клапан; 2 – упор; 3 – шток; 4 – контргайка; 5 – цилиндр; 6 ‑ клетка плунжера; 7 – плунжер; 8 – нагнетательный клапан; 9 – всасывающий клапан; 10 – упорный ниппель с конусом
Скважинные насосы типа НН выпускают двух исполнений:
ННБА - невставной без ловителя, с цельным цилиндром исполнения ЦБ, сцепляющим устройством, одноступенчатый, одноплунжерный, нормального исполнения по стойкости к среде;
ННБД1 - невставной без ловителя, с цельным цилиндром исполнения ЦБ, одноступенчатый, двухплунжерный, нормального исполнения по стойкости к среде.
Скважинные насосы типа НН1 изготовляют одного исполнения:
НП1С - невставной с захватным штоком, составным цилиндром исполнения ЦС, нормального исполнения по стойкости к среде.
Скважинные насосы типа НН2 выпускают пяти исполнений:
НН2С - невставной с ловителем, составным цилиндром исполнения ЦС, нормального исполнения по стойкости к среде;
НН2Б - невставной с ловителем, цельным цилиндром исполнения ЦБ, нормального исполнения по стойкости к среде (рис. 20);
НН2Б...И - то же, абразивостойкого исполнения по стойкости к среде;
НН2БТ...И - то же, с полым штоком, абразивостойкого исполнения по стойкости к среде;
НН2БУ - невставной с ловителем, разгруженным цельным цилиндром исполнения ЦБ, нормального исполнения по стойкости к среде.

Рис. 20. Скважинный штанговый насос исполнения НН2Б и НН2Б…И:
1 – цилиндр; 2 – шток; 3 – клетка плунжера; 4 – плунжер; 5 – нагнетательный клапан; 6 – шток ловителя; 7 – всасывающий клапан; 8 – седло конуса
Все насосы типа НН2 - одноплунжерные, одноступенчатые.
Замковая опора типа ОМ предназначена для закрепления цилиндра скважинных насосов исполнений НВ1 и НВ2 в колонне насосно-компрессорных труб. Высокая точность изготовления поверхностей деталей опоры обеспечивает надежную герметичную фиксацию цилиндра насоса в насосно-компрессорных трубах на заданной глубине скважины и одновременно предотвращает искривление насоса в скважине.
Замковая опора ОМ (рис. 21) состоит из опорного кольца 2, пружинного якоря 3, опорной муфты 4, кожуха 5 и переводников 1 и 6.
Переводник имеет на верхнем конце гладкую коническую резьбу, при помощи которой опора соединяется с колонной насосно-компрессорных труб. Кольцо изготавливают из нержавеющей стали. Конической внутренней (15о) фаской оно сопрягается с ответной конической поверхностью конуса замка насоса и обеспечивает герметичную посадку насоса.
Якорь предотвращает срыв насоса с опоры от усилий трения движущегося вверх плунжера в период запуска в работу подземного оборудования. Максимальное усилие срыва замка 3¸3,5 кН.
|
Варианты крепления насосов приведены на рис. 22.

Рис. 22. Крепление вставных насосов

Рис. 23. Область применения ШСН Сураханского машиностроительного завода
Применение насосов НН предпочтительно в скважинах с большим дебитом, небольшой глубиной спуска и большим межремонтным периодом, а насосы типов НВ в скважинах с небольшим дебитом, при больших глубинах спуска (рис. 22). Чем больше вязкость жидкости, тем принимается выше группа посадки. Для откачки жидкости с высокой температурой или повышенным содержанием песка и парафина рекомендуется использовать насосы третьей группы посадки. При большой глубине спуска рекомендуется применять насосы с меньшим зазором.
Насос выбирают с учетом состава откачиваемой жидкости (наличия песка, газа и воды), ее свойств, дебита и глубины его спуска, а диаметр НКТ - в зависимости от типа и условного размера насоса.
3.5. Производительность насоса
Теоретическая производительность ШСН равна
, м3/сут.,
где 1440 - число минут в сутках;
D - диаметр плунжера наружный;
L - длина хода плунжера;
n - число двойных качаний в минуту.
Фактическая подача Q всегда < Qt.
Отношение
, называется коэффициентом подачи, тогда Q = Qt an, где an изменяется от 0 до 1.
В скважинах, в которых проявляется так называемый фонтанный эффект, т.е. в частично фонтанирующих через насос скважинах может быть an >1. Работа насоса считается нормальной, если an =0,6¸0,8.
Коэффициент подачи зависит от ряда факторов, которые учитываются коэффициентами
an=ag×aус×aн×aуm,
где коэффициенты:
ag - деформации штанг и труб;
aус - усадки жидкости;
aн - степени наполнения насоса жидкостью;
aуm - утечки жидкости.
где ag =Sпл/S , Sпл - длина хода плунжера (определяется из условий учета упругих деформаций штанг и труб); S - длина хода устьевого штока (задается при проектировании).
Sпл=S - DS, DS=DSш+DSт,
где DS - деформация общая; S - деформация штанг; DSт - деформация труб.
aус =1/b
где b - объемный коэффициент жидкости, равный отношению объемов (расходов) жидкости при условиях всасывания и поверхностных условиях.
Насос наполняется жидкостью и свободным газом. Влияние газа на наполнение и подачу насоса учитывают коэффициентом наполнения цилиндра насоса

где
- газовое число (отношение расхода свободного газа к расходу жидкости при условиях всасывания).
Коэффициент, характеризующий долго пространства, т.е. объема цилиндра под плунжером при его крайнем нижнем положении от объема цилиндра, описываемого плунжером. Увеличив длину хода плунжера, можно увеличить aн.
Коэффициент утечек

где gyт - расход утечек жидкости (в плунжерной паре, клапанах, муфтах НКТ); ayт - величина переменная (в отличие других факторов), возрастающая с течением времени, что приводит к изменению коэффициента подачи.
Оптимальный коэффициент подачи определяется из условия минимальной себестоимости добычи и ремонта скважин.
Уменьшение текущего коэффициента подачи насоса во времени можно описать уравнением параболы
, (3.1.)
где [ОП1]an - начальный коэффициент подачи нового (отремонтированного) насоса; T - полный период работы насоса до прекращения подачи (если причина - износ плунжерной пары, то Т означает полный, возможный срок службы насоса); m - показатель степени параболы, обычно равный двум; t - фактическое время работы насоса после очередного ремонта насоса.
Исходя из критерия минимальной себестоимости добываемой нефти с учетом затрат на скважино-сутки эксплуатации скважины и стоимости ремонта, А. Н. Адонин определил оптимальную продолжительность межремонтного периода
, (3.2.)
где tp - продолжительность ремонта скважины; Bp ‑ стоимость предупредительного ремонта; Bэ - затраты на скважино-сутки эксплуатации скважины, исключая Bp.
Подставив tмопт вместо t в формулу (3.1.), определим оптимальный конечный коэффициент подачи перед предупредительным подземным ремонтом anопт.
Если текущий коэффициент подачи anопт станет равным оптимальному anопт (с точки зрения ремонта и снижения себестоимости добычи), то необходимо остановить скважину и приступить к ремонту (замене) насоса.
Средний коэффициент подачи за межремонтный период составит
.
Анализ показывает, что при Bp/(Bэ×T)<0,12 допустимая степень уменьшения подачи за межремонтный период составляет 15¸20%, а при очень больших значениях Bp/(Bэ×T) она приближается к 50%.
Увеличение экономической эффективности эксплуатации ШСН можно достичь повышением качества ремонта насосов, сокращением затрат на текущую эксплуатацию скважины и ремонт, а также своевременным установлением момента ремонта скважины.
3.6. Правила безопасности при эксплуатации скважин штанговыми насосами
Устье скважины должно быть оборудовано арматурой и устройством для герметизации штока.
Обвязка устья периодически фонтанирующей скважины должна позволять выпуск газа из затрубного пространства в выкидную линию через обратный клапан и смену набивки сальника штока при наличии давления в скважине.
1 Методы машинной графики - лекция, которая пользуется популярностью у тех, кто читал эту лекцию.
До начала ремонтных работ или перед осмотром оборудования периодически работающей скважины с автоматическим, дистанционным или ручным пуском электродвигатель должен отключаться, а на пусковом устройстве вывешивается плакат: «Не включать, работают люди».
На скважинах с автоматическим и дистанционным управлением станков-качалок вблизи пускового устройства на видном месте должны быть укреплены плакаты с надписью «Внимание! Пуск автоматический». Такая надпись должна быть и на пусковом устройстве.
Система замера дебита скважин, пуска, остановки и нагрузок на полированный шток (головку балансира) должны иметь выход на диспетчерский пункт.
Управление скважиной, оборудованной ШСН, осуществляется станцией управления скважиной типа СУС - 01 (и их модификации), имеющий ручной, автоматический, дистанционный и программный режим управления. Виды защитных отключений ШСН: перегрузка электродвигателя (>70% потребляемой мощности); короткое замыкание; снижение напряжения в сети (<70% номинального); обрыв фазы; обрыв текстропных ремней; обрыв штанг; неисправность насоса; повышение (понижение) давления на устье.
Для облегчения обслуживания и ремонта станков-качалок используются специальные технические средства такие, как агрегат 2АРОК, маслозаправщик МЗ - 4310СК.
[ОП1]






















