Для студентов МГТУ им. Н.Э.Баумана по предмету Теория механизмов и машин (ТММ)75А - Проектирование и исследование механизмов рулевой машины - Только РПЗ75А - Проектирование и исследование механизмов рулевой машины - Только РПЗ
5,0057
2021-09-212021-09-21СтудИзба
Другое 75: 75А - Проектирование и исследование механизмов рулевой машины - Только РПЗ вариант А
-61%
Описание
Техническое задание
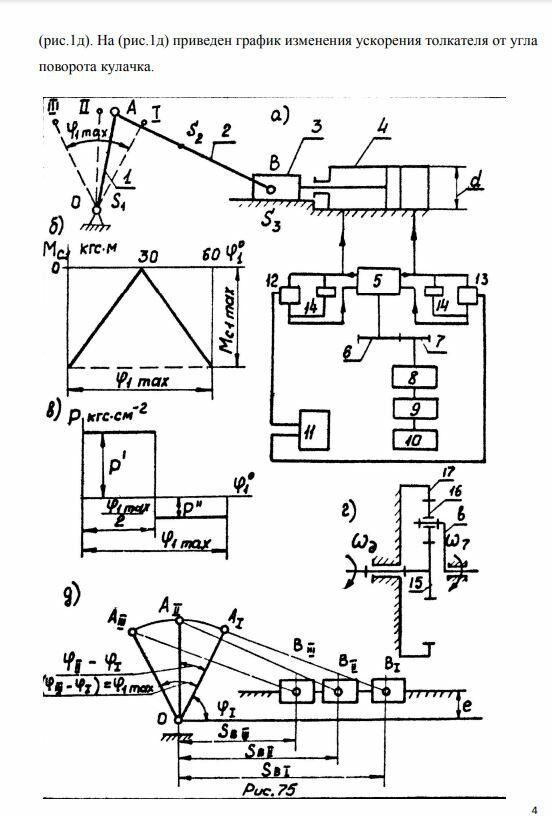
Краткое описание механизмов рулевой машины. Рулевая машина (рис.1a) предназначена для поворота руля летательного аппарата с целью изменения траектории его полета. Основным механизмом является коромыслово-ползунный механизм ОАВ, на валу О которого закреплен руль летательного аппарата. Поворот руля (вместе со звеном 1) осуществляется с помощью шатуна 2 ведущим звеном 3, с которым жестко связан поршень, перемещающийся в цилиндре 4. Подача масла в левую и правую полости цилиндра 4 производится шестереночным насосом 5. Вращение шестерни насоса передается от электродвигателя 9 через планетарный редуктор 8(схема редуктора на рис.1г) и пару зубчатых колес 7 и 6. Вал электродвигателя 9 приводится во вращение от специального источника питания 10. Регулирование подачи масла в каждую из рабочих полостей цилиндра производится с помощью автомата управления 11, воздействующего на клапаны 12 и 13: при необходимости изменения траектории полета аппарата автомат управления 11 подает сигнал, и соответствующий клапан (12 или 13) открывается, давая возможность части масла поступать обратно в насос; при этом давление масла в соответствующей полости цилиндра уменьшается. Предохранительные клапаны14 служат для сброса избыточного количества масла обратно в насос в случае, если давление в цилиндре 4 превысит расчетное. При повороте руля летательного аппарата (звено 1) на угол 1max из одного крайнего положения (I) в другое (III) (рис.1а) на звено 1 действует момент сопротивления Mс , зависимость которого от угла 1 представлена графиком ( Mс ,1 ) (рис.1б). В механизмах управления рулевой машины отсутствует кулачковый механизм, проектирование которого провести по дополнительному заданию 4 (рис.1д). На (рис.1д) приведен график изменения ускорения толкателя от угла поворота кулачка.






Файлы условия, демо
Характеристики учебной работы
Тип
Учебное заведение
Семестр
Номер задания
Вариант
Просмотров
161
Размер
2,08 Mb
Список файлов
Проект №75 вариант А (Проектирование и исследование механизмов рулевой машины).pdf

Друзья, спасибо за доверие! Если вам понравилась работа – поставьте 5⭐ и напишите отзыв. Это поможет другим студентам, а мне даст силы делать ещё больше качественных материалов для вас 🔥