Для студентов МГТУ им. Н.Э.Баумана по предмету Теория механизмов и машин (ТММ)Проектирование и исследование механизмов двухступенчатого компрессора двойного действияПроектирование и исследование механизмов двухступенчатого компрессора двойного действия
4,96529534
2013-08-252025-04-07СтудИзба
Курсовая работа 136: Проектирование и исследование механизмов двухступенчатого компрессора двойного действия вариант Д
-50%
Описание
Проектирование и исследование механизмов двухступенчатого компрессора двойного действия
Реферат
Курсовая работа содержит 4 листа формата А1 графической части и расчетно-пояснительной записки формата А4 объёмом 37 стр. В курсовой работе выполнено проектирование механизмов компрессорной установки. Проведено:- - проектирование основного механизма и определен закон его движения
- - силовой расчет механизма
- - проектирование цилиндрической зубчатой передачи и планетарного редуктора
- - проектирование кулачкового механизма с поступательно движущимся толкателем.
Содержание
- Техническое задание . . . . . . . . . . . . . . . . . . . . . . . . . . . . . . . . . . . . . . . . . . . 4
- Исходные данные . . . . . . . . . . . . . . . . . . . . . . . . . . . . . . . . . . . . . . . . . . . . . . . 5
- 1. Проектирование основного механизма и определение закона его движения
- 1.1.Определение размеров механизма . . . . . . . . . . . . . . . . . . . . . . . . . . . . . 7
- 1.2 Определение площадей поршней . . . . . . . . . . . . . . . . . . . . . . . . . . . . . 8
- 1.3 Построение индикаторных диаграмм и графиков сил сопротивления . . . . . . . . . . . . 8
- 1.4 Построение графиков приведённых моментов от сил сопротивления . . . . .. . . . 10
- 1.5 Построение графика суммарной работы . . . . . . . . . . . . . . . . . . . . . . 12
- 1.6 Определение приведённых моментов инерции звеньев . . . . . . . . . . . 12
- 1.7 Выполнение перехода от графика суммарного приведенного момента инерции второй группы звеньев к приближенному графику кинетической энергии той же группы звеньев . . . . . 16
- 1.8 Построение приближенного графика кинетической энергии I группы звеньев механизма . . . . . . . . . . 17
- 1.9 Определение необходимого момента инерции маховых масс . . . . . . 17
- 1.10 Определение закона движения . . . . . . . . . . . . . . . . . . . . . . . . . . . . . . . 18
- 2. Силовой расчет механизма
- 2.1 Определение углового ускорения в заданном положении . . . . . . . . . 19
- 2.2 Построение планов скоростей и ускорений . . . . . . . . . . . . . . . . . . . . . 19
- 2.3 Определение сил, действующих на механизм . . . . . . . . . . . . . . . . . . . 20
- 2.4 Определение главных векторов сил инерции и главных моментов сил инерции . . . . 21
- 2.5 Определений усилий в кинематических парах . . . . . . . . . . . . . . . . . . . . 22
- 3. Проектирование зубчатой передачи и планетарного механизма.
- 3.1 Определение передаточного отношения редуктора . . . . . . . . . . . . . . . 24
- 3.2 Геометрический расчет эвольвентной зубчатой передачи . . . . . . . . . . 24
- 3.3 Выбор коэффициента смещения с учетом качественных показателей работы зубчатой передачи . . . . 27
- 3.4 Построение профиля зуба шестерни, изготавливаемой реечным инструментом . . . . . . 28
- 3.5 Построение проектируемой зубчатой передачи . . . . . . . . . . . . . . . . . . 29
- 3.6 Проектирование планетарного редуктора . . . . . . . . . . . . . . . . . . . . . . . . 30
- 4. Проектирование кулачкового механизма.
- 4.1 Построение графиков закона движения . . . . . . . . . . . . . . . . . . . . . . . . 33
- 4.2 Определение минимального размера кулачковой шайбы . . . . . . . . . . 34
- 4.3 Построение профиля кулачка . . . . . . . . . . . . . . . . . . . . . . . . . . . . . . . . 34
- 4.4 Построение графика углов давления . . . . . . . . . . . . . . . . . . . . . . . . . . 35
- 5. Заключение . . . . . . . . . . . . . . . . . . . . . . . . . . . . . . . . . . . . . . . . . . . . . . . 36
- 6. Список литературы . . . . . . . . . . . . . . . . . . . . . . . . . . . . . . . . . . . . . . . . 37
Техническое задание
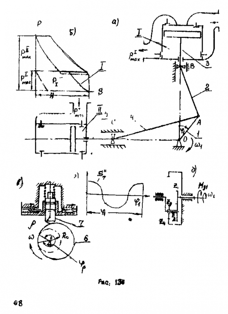
Угловой двухступенчатый компрессор двойного действия (рис. 1) предназначен для сжатия воздуха и выполнен на базе сдвоенного кривошипно-ползунного механизма, состоящего из коленчатого вала 1 с шатунами 2, 4 и ползунов 3 и 5 (жестко связанных между собой поршней, штоков и крейцкопфов). Механизмы компрессора приводятся в движение асинхронным электродвигателем (на рисунке не показан), связанным с коленчатым валов 1 редуктором. Смазка коренных и шатунных подшипников основного механизма компрессора осуществляется от шестеренного насоса, который приводится в движение от коленчатого вала. Смазку цилиндров осуществляют поршнями, представляющими собой многопоршневые насосы с кулачковым механизмом 6, 7. Насос имеет отдельный привод с планетарным редуктором.Изменение давления в цилиндрах компрессора по перемещению поршней характеризуется индикаторными диаграммами, данные для построения которой приведены в таблице 2.

Исходные данные
Таблица 1.Наименование величины | Обозначение | Размерность | Значение | Размерность в СИ | Значение |
Угловая (круговая) скорость вращения коленчатого вала. | n1 | рад/с | 140 | рад/с | 140 |
Объемная подача воздуха при нормальных атмосферных условиях. | Vh | м3/мин | 8,0 | м3/с | 0,133 |
Средняя скорость поршней. | vср | м/с | 4,2 | м/с | 4,2 |
Максимальное давление ступеней I компрессора. | PmaxI | МПа | 0,3 | Па | 300000 |
Максимальное давление ступеней II компрессора. | PmaxII | МПа | 0,9 | Па | 900000 |
Отношение диаметров поршней ступеней I, II. | d2/d1 | - | 0.58 | - | - |
Отношение длин шатуна 2 и кривошипа 1. | λ2=l2/l1 | - | 3 | - | - |
Относительное положение центра тяжести шатуна. | λS2=lSA/l2 | - | 0.3 | - | - |
Моменты инерции звеньев относительно осей, проходящих через центр тяжести. | JS2 JS4 | кг*м2 кг*м2 | 0,09 0,09 | кг*м2 кг*м2 | 0,09 0,09 |
Момент инерции коленчатого вала. | J1 | кг*м2 | 0,15 | кг*м2 | 0,15 |
Массы поршней 3, 5 и шатунов 2,4. | m2 m3 m4 m5 | кг кг кг кг | 40 20 20 20 | кг кг кг кг | 40 20 20 20 |
Угловая координата для силового расчета. | φ1 | градус | 255 | радиан | 4,4506 |
Число зубьев шестерни редуктора. | z1 | - | 14 | - | - |
Число сателлитов в планетарном редукторе. | k | - | 3 | - | - |
Передаточное отношение планетарного редуктора. | uпл | - | 8,8 | - | - |
Модуль зубчатых колес планетарного редуктора. | m | - | 1 | - | - |
Ход поршня 7 | h7 | м | 0,012 | м | 0,012 |
Угол давления в кулачковом механизме. | νдоп | градус | 30 | радиан | 0,5236 |
Рабочий угол профиля кулачка. | φраб | градус | 150 | радиан | 2,618 |
Коэффициент неравномерности вращения вала 1 | d | - | 1/75 | - | - |
Давление в цилиндрах компрессора в долях от максимального давления в зависимости от положения поршня.
Таблица 2.
Величина | Значение | |||||
S/H | 0 | 0.02 | 0.08 | 0.17 | 0.28 | 0.435 |
P/Pmax Ступень I | 1.0 | 0.8 | 0.495 | 0.03 | 0.03 | 0.03 |
1.0 | 1.0 | 1.0 | 1.0 | 1.0 | 0.87 | |
P/Pmax Ступень II | 1.0 | 0.81 | 0.51 | 0.31 | 0.31 | 0.31 |
1.0 | 1.0 | 1.0 | 1.0 | 1.0 | 0.935 |
Величина | Значение | |||||
S/H | 0.54 | 0.67 | 0.78 | 0.875 | 0.945 | 1.0 |
P/Pmax Ступень I | 0.03 | 0.03 | 0.03 | 0.03 | 0.03 | 0.031 |
0.625 | 0.488 | 0.4 | 0.35 | 0.0316 | 0.031 | |
P/Pmax Ступень II | 0.31 | 0.31 | 0.31 | 0.31 | 0.31 | 0.31 |
0.67 | 0.525 | 0.43 | 0.355 | 0.34 | 0.31 |
Чертежи
Лист 1 - Определение закона движения ![]()
Лист 2 - Силовой расчет ![]()
Лист 3 - Проектирование зубчатой передачи ![]()
Лист 4 - Проектирование кулачкового механизма ![]()
Характеристики курсовой работы
Учебное заведение
Семестр
Номер задания
Вариант
Программы
Просмотров
250
Качество
Идеальное компьютерное
Размер
376,22 Kb
Список файлов
Проектирование и исследование механизмов двухступенчатого компрессора двойного действия
Лист 1.cdw
Лист 2.cdw
Лист 3.cdw
Лист 4.cdw
РПЗ.doc

Вам все понравилось? Получите кэшбэк - 40 рублей на Ваш счёт при покупке. Поставьте оценку и напишите положительный комментарий к купленному файлу. После Вы получите деньги на ваш счет.