Для студентов МГТУ им. Н.Э.Баумана по предмету Теория механизмов и машин (ТММ)Проектирование и исследование механизмов привода антенныПроектирование и исследование механизмов привода антенны
5,0052
2025-04-07СтудИзба

Курсовая работа 125: Проектирование и исследование механизмов привода антенны вариант Д

-50%

Описание

Проектирование и исследование механизмов привода антенны

Реферат

Расчетно-пояснительная записка состоит из 29 страниц, содержит 7 рисунков и 1 таблицу.
Расчетно-пояснительная записка содержит динамический расчет меха­нической системы качания механизма привода антенны с учетом заданного коэффициента неравномерности вращения кривошипа d. Расчет включает определение закона движения основного механизма, силовой расчет ос­новного механизма, расчет и исследование зубчатой передачи и планетар­ного механизма, расчет кулачкового механизма.

Оглавление

  • 1. Техническое задание. 4
  • 1.1. Назначение, функциональная схема, принцип работы.. 4
  • 1.2. Исходные данные.. 7
  • 2. Проектирование основного рычажного механизма и определение его закона движения. 9
  • 2.1. Определение размеров основного рычажного механизма.. 9
  • 2.2. Силы и моменты, действующие на механизм.. 11
  • 2.3. Выбор динамической модели механизма.. 12
  • 2.4. Метод приведения сил и моментов. 12
  • 2.5. Метод приведения масс и моментов инерции.. 13
  • 2.6. Определение передаточных функций скоростей.. 14
  • 2.7. Приведение сил и моментов. 14
  • 2.8. Приведение масс и моментов инерции.. 14
  • 2.9. Построение графика суммарной работы Аå. 14
  • 2.10. Построение графика кинетической энергии.. 15
  • 2.11. Нахождение необходимого момента инерции маховых масс. 16
  • 2.12. Определение момента инерции и размеров дополнительной маховой массы (маховика ). 16
  • 2.13. Построение графика угловой скорости.. 16
  • 2.14. Определение фактического коэффициента неравномерности вращения кривошипа.. 16
  • 3. Силовой расчет механизма. 17
  • 4.Проектирование зубчатой передачи. 18
  • 4.1. Последовательность расчета зубчатой передачи.. 18
  • 4.2 Выбор коэффициента смещения x1 с учетом качественных показателей работы зубчатой передачи.. 19
  • 4.3 Построение профиля зуба колеса, изготовляемого реечным инструментом. 21
  • 4.4 Построение проектируемой зубчатой передачи. 21
  • 5. Проектирование планетарного редуктора. 21
  • 5.1. Исходные данные.. 21
  • 5.2. Особенности расчета заданной схемы.. 21
  • 5.3. Условия, которым должны удовлетворять зубья колес. 22
  • 5.4. Выбор чисел зубьев планетарного редуктора.. 22
  • 5.5. Проверка графическим способом правильности передаточного отношения планетарного редуктора. 22
  • 6. Проектирование кулачкового механизма. 23
  • 6.1. Построение кинематических диаграмм методом графического интегрирования. 23
  • 6.2. Определение основных параметров кулачкового механизма графическим способом. 24
  • 6.3 Построение профиля кулачка. 25
  • 7. Заключение. 27
  • 8. Список литературы.. 28

1. Техническое задание

1.1. Назначение, функциональная схема, принцип работы

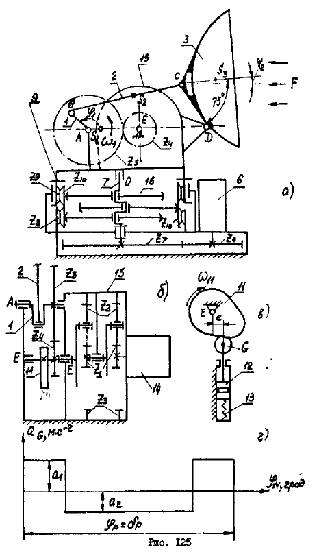
Рефлектор 3 антенны совершает сложное движение - вращение вокруг вертикальной оси у поворотной платформы 7 и вращение (качание) вокруг оси D. (рис 1, а) Угол качания j3 равен 45° . Привод качания антенны состоит из электродвигателя Д1, планетарного редуктора 5, цилиндрической передачи Z4 - Z5 и кривошипно-коромыслового четырехзвенника ABCD. Кривошип 1 закреплен на валу колеса Z5 и при помощи шатуна 2 связан с коромыслом 3, которое жестко соединено с рефлектором под углом 75° к его оси. Привод поворотной платформы состоит из электродвигателя Д2, цилиндрической передачи Z6 - Z7 и волновой зубчатой передачи с жесткими колесами Z8 - Z9, гибкого колеса Z10 и трех дисковых волнообразователей на эксцентриковых шейках валов (рис. 1, б).
Ветровая нагрузка на рефлектор зависит от проекции точки зеркала на направление ветрового потока, изменяющейся при вращении платформы
где =500 Па – давление ветрового потока; – коэффициент аэродинамического сопротивления: =0.5, для привода качания; - коэффициент, учитывающий высоту H установки антенны; =1.5 - при высоте до 50 м.
Антенна должна работать при температуре окружающей среды до -50°С. При низких температурах потери на трение в кинематических парах механизмов увеличиваются в 2-3 раза по сравнению с приведенными в таблице.

1.2. Исходные данные

Таблица 1.1.

Наименование величины

Обозначение

Значение

величины

единицы

Расстояние между шарни­рами С и D рефлектора (длина коромысла)

l3=lCD

м

0.3

Коэффициент изменения средней скорости коро­мысла

Кw

-

1.12

Относительное положение центра масс S2 шатуна


-

0.36

Относительное положение центра масс S3 рефлектора


-

0.28

Диметр рефлектора

D

м

1.0

Частота вращение криво­шипа

n1

об/с

0.6

Коэффициент неравномерности вращения кривошипа

d

-

1/42

Высота установки антенны

H

м

40.0

Момент трения в шарнире A

Мт.А

Н·м

9.5

Момент трения в шарнире C

Мт.C

Н·м

12.3

Момент трения в шарнире D

Мт.D

Н·м

14.2

Масса кривошипа

m1

кг

1.9

Масса шатуна

m2

кг

1.5

Масса рефлектора

m3

кг

45.0

Момент инерции шатуна относительно его центра масс

J2S

кг·м2

0.128

Момент инерции рефлектора относительно его центра масс

J3S

кг·м2

1.28

Приведенный к валу криво­шипа момент инерции колес зубчатой передачи и планетарного редуктора

JЗКпр.

кг·м2

1.36

Угловая координата криво­шипа (для силового расчета механизма)

j1

град.

110

Число зубьев колес

z4

-

10

z5

-

19

Модуль колес

m

мм

6

Передаточное отношение планетарного редуктора

Up

-

36

Ход толкателя

h

м

0,006

Смещение оси толкателя

e

м

0

Допустимый угол давления в кулачковом механизме

uдоп.

Град.

30

Угол рабочего профиля кулачка

dp

град.

120

Отношение ускорений толкателя

a1/a2

-

1.0

Чертежи

Лист 1 - Определение закона движения

Лист 2 - Силовой расчет

Лист 3 - Проектирование зубчатой передачи

Лист 4 - Проектирование кулачкового механизма

Характеристики курсовой работы

Учебное заведение
Семестр
Номер задания
Вариант
Просмотров
589
Качество
Идеальное компьютерное
Размер
408,96 Kb

Список файлов

Проектирование и исследование механизмов привода антенны
Лист 1.frw
Лист 2.frw
Лист 3.frw
Лист 4.frw
РПЗ.doc
Картинка-подпись
Вам все понравилось? Получите кэшбэк - 40 рублей на Ваш счёт при покупке. Поставьте оценку и напишите положительный комментарий к купленному файлу. После Вы получите деньги на ваш счет.

Комментарии

Нет комментариев
Стань первым, кто что-нибудь напишет!
Поделитесь ссылкой:
Цена: 5 000 2 490 руб.
Расширенная гарантия +3 недели гарантии, +10% цены
Рейтинг покупателей
5 из 5
Поделитесь ссылкой:
Сопутствующие материалы

Подобрали для Вас услуги

-26%
Вы можете использовать курсовую работу для примера, а также можете ссылаться на неё в своей работе. Авторство принадлежит автору работы, поэтому запрещено копировать текст из этой работы для любой публикации, в том числе в свою курсовую работу в учебном заведении, без правильно оформленной ссылки. Читайте как правильно публиковать ссылки в своей работе.
Свежие статьи
Популярно сейчас
Почему делать на заказ в разы дороже, чем купить готовую учебную работу на СтудИзбе? Наши учебные работы продаются каждый год, тогда как большинство заказов выполняются с нуля. Найдите подходящий учебный материал на СтудИзбе!
Ответы на популярные вопросы
Да! Наши авторы собирают и выкладывают те работы, которые сдаются в Вашем учебном заведении ежегодно и уже проверены преподавателями.
Да! У нас любой человек может выложить любую учебную работу и зарабатывать на её продажах! Но каждый учебный материал публикуется только после тщательной проверки администрацией.
Вернём деньги! А если быть более точными, то автору даётся немного времени на исправление, а если не исправит или выйдет время, то вернём деньги в полном объёме!
Да! На равне с готовыми студенческими работами у нас продаются услуги. Цены на услуги видны сразу, то есть Вам нужно только указать параметры и сразу можно оплачивать.
Отзывы студентов
Ставлю 10/10
Все нравится, очень удобный сайт, помогает в учебе. Кроме этого, можно заработать самому, выставляя готовые учебные материалы на продажу здесь. Рейтинги и отзывы на преподавателей очень помогают сориентироваться в начале нового семестра. Спасибо за такую функцию. Ставлю максимальную оценку.
Лучшая платформа для успешной сдачи сессии
Познакомился со СтудИзбой благодаря своему другу, очень нравится интерфейс, количество доступных файлов, цена, в общем, все прекрасно. Даже сам продаю какие-то свои работы.
Студизба ван лав ❤
Очень офигенный сайт для студентов. Много полезных учебных материалов. Пользуюсь студизбой с октября 2021 года. Серьёзных нареканий нет. Хотелось бы, что бы ввели подписочную модель и сделали материалы дешевле 300 рублей в рамках подписки бесплатными.
Отличный сайт
Лично меня всё устраивает - и покупка, и продажа; и цены, и возможность предпросмотра куска файла, и обилие бесплатных файлов (в подборках по авторам, читай, ВУЗам и факультетам). Есть определённые баги, но всё решаемо, да и администраторы реагируют в течение суток.
Маленький отзыв о большом помощнике!
Студизба спасает в те моменты, когда сроки горят, а работ накопилось достаточно. Довольно удобный сайт с простой навигацией и огромным количеством материалов.
Студ. Изба как крупнейший сборник работ для студентов
Тут дофига бывает всего полезного. Печально, что бывают предметы по которым даже одного бесплатного решения нет, но это скорее вопрос к студентам. В остальном всё здорово.
Спасательный островок
Если уже не успеваешь разобраться или застрял на каком-то задание поможет тебе быстро и недорого решить твою проблему.
Всё и так отлично
Всё очень удобно. Особенно круто, что есть система бонусов и можно выводить остатки денег. Очень много качественных бесплатных файлов.
Отзыв о системе "Студизба"
Отличная платформа для распространения работ, востребованных студентами. Хорошо налаженная и качественная работа сайта, огромная база заданий и аудитория.
Отличный помощник
Отличный сайт с кучей полезных файлов, позволяющий найти много методичек / учебников / отзывов о вузах и преподователях.
Отлично помогает студентам в любой момент для решения трудных и незамедлительных задач
Хотелось бы больше конкретной информации о преподавателях. А так в принципе хороший сайт, всегда им пользуюсь и ни разу не было желания прекратить. Хороший сайт для помощи студентам, удобный и приятный интерфейс. Из недостатков можно выделить только отсутствия небольшого количества файлов.
Спасибо за шикарный сайт
Великолепный сайт на котором студент за не большие деньги может найти помощь с дз, проектами курсовыми, лабораторными, а также узнать отзывы на преподавателей и бесплатно скачать пособия.
Популярные преподаватели
Добавляйте материалы
и зарабатывайте!
Продажи идут автоматически
6823
Авторов
на СтудИзбе
276
Средний доход
с одного платного файла
Обучение Подробнее
{user_main_secret_data}