Для студентов МГТУ им. Н.Э.Баумана по предмету Теоретическая механикаКолебания линейной системы с одной степенью свободыКолебания линейной системы с одной степенью свободы
4,80544
2021-03-102024-09-03СтудИзба
ДЗ 2: Колебания линейной системы с одной степенью свободы вариант 11
-66%
Описание
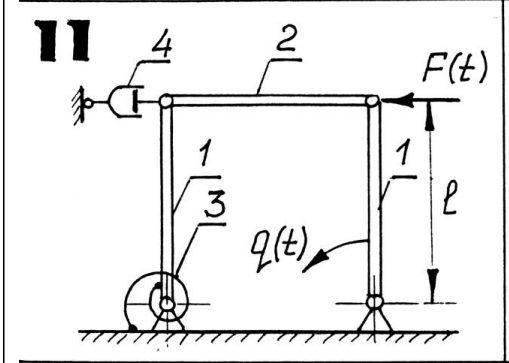
Вариант 11 - ДЗ №2 - Колебания системы с одной степенью свободы
Зачтено на максимальный балл 💥 💥 💥
Спасибо за покупку 🥰🥰🥰 ![]()


Характеристики домашнего задания
Предмет
Учебное заведение
Семестр
Номер задания
Вариант
Просмотров
643
Размер
1,44 Mb
Список файлов
Вариант 11 - ДЗ №2 - Колебания системы с одной степенью свободы+++.pdf

Друзья, спасибо за доверие! Если вам понравилась работа – поставьте 5⭐ и напишите отзыв. Это поможет другим студентам, а мне даст силы делать ещё больше качественных материалов для вас 🔥