Задача 14: Задача 14-34 вариант 34
Описание
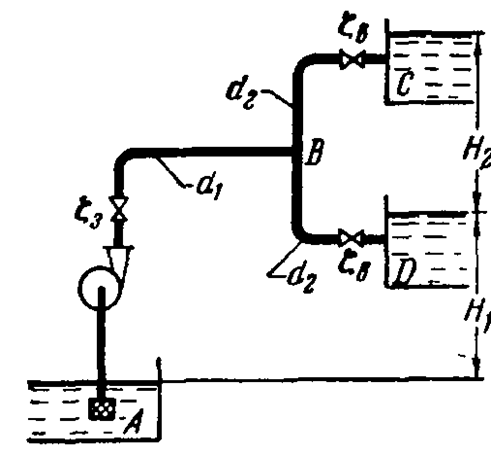
Центробежный насос, работая при n = 1450 об/мин, подает воду из бака А в баки С и D. Расстояния между уровнями в баках равны H1 = 25 м и H2 = 15 м. Система трубопроводов состоит из трубы АВ диаметром d1 = 100 мм с установленной на ней задвижкой и двух одинаковых ветвей ВС и ВD диаметрами d2 =60 мм с установленными на них вентилями.
Характеристика насоса и характеристики труб с учетом всех местных сопротивлений при полностью открытых запорных устройствах (ξ3=0 и ξ в=4) заданы в виде таблиц.
1 Определить подачу воды в баки С и D и мощность, потребляемую насосом при полностью открытых вентилях и задвижке.
2 Каким должен быть коэффициент сопротивления вентиля на трубе ВD, чтобы подача в оба бака стала одинаковой; какова при этом подача насоса?
3 При каком числе оборотов насоса (в случае полностью открытых вентилей и задвижки) подача в бак С прекратится?
Характеристика насоса при n = 1450 об/мин
QН, л/с | 0 | 4 | 8 | 12 | 16 | 20 | 24 | 28 | 32 |
НН, м | 52 | 54 | 55 | 54 | 52 | 49 | 44 | 38 | 30 |
| | 0 | 30 | 50 | 63 | 71 | 75 | 75 | 70 | 53 |
Характеристика труб АВ, ВС и BD
Q, л/с | 5 | 10 | 15 | 20 | 25 |
hAB, м | 0,25 | 1 | 2,25 | 4 | 6,25 |
hBС = hBD, м | 1,25 | 5 | 11,25 | 20 | 31,25 |

МГТУ им. Н.Э.Баумана
A45162


















