Главная » Учебные материалы » Механика жидкости и газа (МЖГ или Гидравлика) » Решения задач » Несколько классов/семестров » Из одного резервуара в другой вода поступает по сифонному трубопроводу длиной L (м), диаметром d (мм). Определить расход воды Q (л/с) при разности уровней в резервуарах Н (м). Трубопровод снабжен приемным клапаном с сеткой и задвижкой. Потерями напо
Для студентов по предмету Механика жидкости и газа (МЖГ или Гидравлика)Из одного резервуара в другой вода поступает по сифонному трубопроводу длиной L (м), диаметром d (мм). Определить расход воды Q (л/с) при разности уроИз одного резервуара в другой вода поступает по сифонному трубопроводу длиной L (м), диаметром d (мм). Определить расход воды Q (л/с) при разности уро
5,00513
2021-11-23СтудИзба

Из одного резервуара в другой вода поступает по сифонному трубопроводу длиной L (м), диаметром d (мм). Определить расход воды Q (л/с) при разности уровней в резервуарах Н (м). Трубопровод снабжен приемным клапаном с сеткой и задвижкой. Потерями напо

Описание

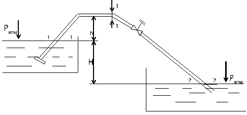
Из одного резервуара в другой вода поступает по сифонному трубопроводу длиной L (м), диаметром d (мм). Определить расход воды Q (л/с) при разности уровней в резервуарах Н (м).

Трубопровод снабжен приемным клапаном с сеткой и задвижкой. Потерями напора в коленах и на выходе из трубы пренебречь. Коэффициент сопротивления трения определить по зависимости

λ = ƒ(Re, ∆) для новых стальных труб в квадратичной области сопротивлений. Найти вакуум в опасной точке сифона, если длина участка трубопровода до этой точки L (м), ее возвышение над уровнем воды в верхнем резервуаре h (м) .

Исходные данные:

Длина трубопровода L = 40 (м)

Диаметр трубопровода d = 100 (мм) = 0,1 (м)

Разность уровней Н = 5 (м)

Длина трубопровода до опасного участка L1 = 25 (м)

Возвышение опасной точки над уровнем в верхнем резервуаре h =3 (м)

Коэффициент местного сопротивления задвижки ξзад = 4

Коэффициент местного сопротивления сетки ξкл = 5

Характеристики решённой задачи

Программы
Просмотров
107
Качество
Идеальное компьютерное
Размер
46,85 Kb

Список файлов

Картинка-подпись

Комментарии

Нет комментариев
Стань первым, кто что-нибудь напишет!
Поделитесь ссылкой:
Цена: 79 руб.
Расширенная гарантия +3 недели гарантии, +10% цены
Рейтинг покупателей
5 из 5
Поделитесь ссылкой:
Сопутствующие материалы
На водопроводной трубе диаметром d1= 0,1 м установлен водомер диаметром d2 = 0,05м (рис.3). На какую высоту h2 поднимается вода в пьезометрической трубке, присоединенной к суженному сечению, при пропуске расхода Q = 0,005 м3/с, если уровень воды в пь
В перегородке, разделяющей резервуар на две части прямоугольное отверстие, которое закрывается поворотным щитом высотой h = 0,4 м шириной b = 0,8 м. Определить какую силу T нужно приложить к тросу для поворота щита при H1 = 1,6 м, H2 = 1 м, α = 60°,
Какую силу P нужно приложить к поршню левого сосуда, наполненного водой, чтобы уравновесить давление воды на поршень правого сосуда? Исходные данные: d1=250 мм, d2=500 мм, d3=200 мм, h1=0,9 м, h2=1,0 м.
Определить максимально допустимую высоту h (м) установки насоса над уровнем воды в бассейне. Всасывающая труба снабжена приемным клапаном с сеткой и имеет одно сварное колено. Коэффициент сопротивления трения определить по эквивалентной шероховатос
В бак, разделенный тонкой перегородкой на два отсека, поступает вода с расходом Q = 0,05 м3/с. В перегородке и дне первого отсека имеются отверстия диаметром d1 = 0,18 м и d2 = 0,12 м, а в дне второго отсека – конически расходящийся насадок с выходны
Поворотный клапан закрывает выход из бензохранилища в трубу квадратного сечения. Определить, какую силу Т (кН) нужно приложить к тросу для открытия клапана. Исходные данные: Сторона трубы квадратного сечения h = 0,3 (м) Высота столба воды H = 0,95

Подобрали для Вас услуги

-30%
-17%
Вы можете использовать решённую задачу для примера, а также можете ссылаться на неё в своей работе. Авторство принадлежит автору работы, поэтому запрещено копировать текст из этой работы для любой публикации, в том числе в свою задачу в учебном заведении, без правильно оформленной ссылки. Читайте как правильно публиковать ссылки в своей работе.
Свежие статьи
Популярно сейчас
Зачем заказывать выполнение своего задания, если оно уже было выполнено много много раз? Его можно просто купить или даже скачать бесплатно на СтудИзбе. Найдите нужный учебный материал у нас!
Ответы на популярные вопросы
Да! Наши авторы собирают и выкладывают те работы, которые сдаются в Вашем учебном заведении ежегодно и уже проверены преподавателями.
Да! У нас любой человек может выложить любую учебную работу и зарабатывать на её продажах! Но каждый учебный материал публикуется только после тщательной проверки администрацией.
Вернём деньги! А если быть более точными, то автору даётся немного времени на исправление, а если не исправит или выйдет время, то вернём деньги в полном объёме!
Да! На равне с готовыми студенческими работами у нас продаются услуги. Цены на услуги видны сразу, то есть Вам нужно только указать параметры и сразу можно оплачивать.
Отзывы студентов
Ставлю 10/10
Все нравится, очень удобный сайт, помогает в учебе. Кроме этого, можно заработать самому, выставляя готовые учебные материалы на продажу здесь. Рейтинги и отзывы на преподавателей очень помогают сориентироваться в начале нового семестра. Спасибо за такую функцию. Ставлю максимальную оценку.
Лучшая платформа для успешной сдачи сессии
Познакомился со СтудИзбой благодаря своему другу, очень нравится интерфейс, количество доступных файлов, цена, в общем, все прекрасно. Даже сам продаю какие-то свои работы.
Студизба ван лав ❤
Очень офигенный сайт для студентов. Много полезных учебных материалов. Пользуюсь студизбой с октября 2021 года. Серьёзных нареканий нет. Хотелось бы, что бы ввели подписочную модель и сделали материалы дешевле 300 рублей в рамках подписки бесплатными.
Отличный сайт
Лично меня всё устраивает - и покупка, и продажа; и цены, и возможность предпросмотра куска файла, и обилие бесплатных файлов (в подборках по авторам, читай, ВУЗам и факультетам). Есть определённые баги, но всё решаемо, да и администраторы реагируют в течение суток.
Маленький отзыв о большом помощнике!
Студизба спасает в те моменты, когда сроки горят, а работ накопилось достаточно. Довольно удобный сайт с простой навигацией и огромным количеством материалов.
Студ. Изба как крупнейший сборник работ для студентов
Тут дофига бывает всего полезного. Печально, что бывают предметы по которым даже одного бесплатного решения нет, но это скорее вопрос к студентам. В остальном всё здорово.
Спасательный островок
Если уже не успеваешь разобраться или застрял на каком-то задание поможет тебе быстро и недорого решить твою проблему.
Всё и так отлично
Всё очень удобно. Особенно круто, что есть система бонусов и можно выводить остатки денег. Очень много качественных бесплатных файлов.
Отзыв о системе "Студизба"
Отличная платформа для распространения работ, востребованных студентами. Хорошо налаженная и качественная работа сайта, огромная база заданий и аудитория.
Отличный помощник
Отличный сайт с кучей полезных файлов, позволяющий найти много методичек / учебников / отзывов о вузах и преподователях.
Отлично помогает студентам в любой момент для решения трудных и незамедлительных задач
Хотелось бы больше конкретной информации о преподавателях. А так в принципе хороший сайт, всегда им пользуюсь и ни разу не было желания прекратить. Хороший сайт для помощи студентам, удобный и приятный интерфейс. Из недостатков можно выделить только отсутствия небольшого количества файлов.
Спасибо за шикарный сайт
Великолепный сайт на котором студент за не большие деньги может найти помощь с дз, проектами курсовыми, лабораторными, а также узнать отзывы на преподавателей и бесплатно скачать пособия.
Популярные преподаватели
Добавляйте материалы
и зарабатывайте!
Продажи идут автоматически
6869
Авторов
на СтудИзбе
271
Средний доход
с одного платного файла
Обучение Подробнее
{user_main_secret_data}