Для студентов ТулГУ по предмету Инженерная геодезия и основы топографииИнженерная геодезия и основы топографииИнженерная геодезия и основы топографии
5,0055742
2025-08-212025-08-21СтудИзба
☀️ Инженерная геодезия и основы топографии | ТулГУ сборник ответов на все тесты☀️
Ответы к заданиям Ответы на тесты: Инженерная геодезия и основы топографии
-43%
Описание
▶️ Ответы на все тесты (жми на текст) 😎 ◀️
▶️ Готовые лабораторные работы, практические задания, услуги (жми на текст)🔥◀️
Ответы к дисциплине Инженерная геодезия и основы топографии для ТулГУ, помогут при сдаче экзамена/итоговой аттестации или зачёта :)
Для поиска нужного вопроса, воспользуйтесь поиском ниже
‼️ Ответы могут подойти к другим похожим дисциплинам, проверяйте по вопросам‼️Показать/скрыть дополнительное описание
▶️ Готовые лабораторные работы, практические задания, услуги (жми на текст)🔥◀️
Ответы к дисциплине Инженерная геодезия и основы топографии для ТулГУ, помогут при сдаче экзамена/итоговой аттестации или зачёта :)
Для поиска нужного вопроса, воспользуйтесь поиском ниже
‼️ Ответы могут подойти к другим похожим дисциплинам, проверяйте по вопросам‼️Показать/скрыть дополнительное описание
Инженерная геодезия и основы топографии ТулГУ ответы на тест зачёт экзамен итоговая аттестация.
Список вопросов
Что подразумевается под геодезическими разбивочными работами?
Что называют горизонталью?
Что называют географической широтой точки?
Что называют высотой точки?
Что называется дирекционным углом линии?
Чем характеризуется крутизна склона?
Чем оценивается точность теодолитного хода?
Чем отличаются геодезические координаты от астрономических?
Формула вычисления теоретической суммы превышений в замкнутом нивелирном ходе?
Теодолитный ход – это разновидность:
Снять отсчет по горизонтальному кругу
![]()

С какой точностью измеряются горизонтальные углы теодолитом Т5?
Румб линии СЗ:13°. Каков ее дирекционный угол?
Разность координат двух точек ΔХ= +50м, ΔY= -70м. В каком направлении идет вектор АВ?
Разность высот двух точек h=50м, горизонтальное расстояние между ними 350 м. Какой уклон этой линии?
Разность высот двух точек h=10м. Горизонтальное расстояние между ними 200м. Каков уклон этой линии?
Плоские прямоугольные координаты в зональной системе равны: х=6312 км; у=12830 км. В какой координатной зоне расположена эта точка?
Относительная ошибка измерения расстояний нитяным дальномером?
Относительная ошибка измерения расстояний мерной лентой или рулеткой?
От какой поверхности отсчитывается абсолютная (ортометрическая) высота?
Определить отметку реечного пикета, если отметка на станции Н=58,500 м, а превышение реечного пикета относительно станции h=-1,8 м.
Определить длину лини на местности, если отсчеты на рейке по дальномерным нитям теодолита равны: по нижней нити 1720, по верхней нити 2840. Коэффициент дальномера К=100.
Определить длину линии 4-5 (см.рис.) ,если для точки (4) x = 150,00 м, y = 286,60 м; для точки (5) x = 100,00 м, y = 200,00 м,
![]()

Найти расстояние на плане масштаба 1: 10000, если расстояние на местности Sм =100,00 м
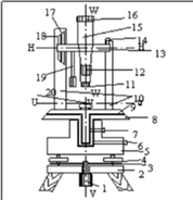
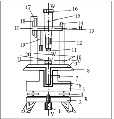
Назовите часть теодолита под цифрой 12:

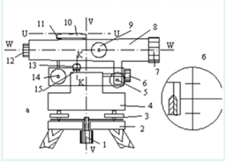
Назовите часть нивелира под цифрой 14:
![]()

Назовите часть нивелира под цифрой 13:
![]()

Назовите часть нивелира под цифрой 9:
![]()

Место нуля- это:
Компарирование мерных приборов – это:
Какой метод съемки применяют для определения положения объектов, расположенных вблизи пунктов съемочного обоснования?
Какой из способов измерения площадей является наименее точным?
Какие высоты называют условными?
Какая поверка нивелира выполняется первой?
Как называется выражение 1:500?
Как называется вид геодезических работ: нахождение и закрепление на местности точек и линий, определяющих плановое и высотное положение зданий и сооружений?
Геометрическое нивелирование – это:
Вычислить превышение, если отсчет по задней рейке З=1452, отсчет по передней рейке П=1254.
Вычислить превышение, если отсчет по задней рейке З=1270, отсчет по передней рейке П=1841.
Вычислить МО вертикального круга: КЛ=18°23’, КП=-18°25’
Вычислить место нуля теодолита, если отсчеты по вертикальному кругу КП=-27°34’, КЛ=27°30’
Вычислить левый по ходу угол β1-2-3по исходным данным (см.рис): α1-2= 249°00’, α2-3= 164°00’
![]()

Вычислить координату х3 по данным: α2-3=136041’00”, d2-3= 100,00 м, х2= 200,00 м, у2 = 100,00 м
Вычислить коллимационную ошибку, если отсчеты по горизонтальному кругу КП=213°12’, КЛ=33°11’
Вычислить дирекционный угол линии 4-5 (см.рис.) ,если для точки (4) x = 150,00 м, y = 286,00 м; для точки (5) x = 100,00 м, y = 200,00 м
![]()

Вычислить горизонт инструмента, если отсчет по рейке на репере 1562 мм. Высота репера 107,236 м.
Вычислить горизонт инструмента, если отсчет по рейке на репере 1117 мм. Высота репера 201,236 м.
Вычислить высоту точки, если высота репера 200,250 м, отсчет по рейке на репере 1744, отсчет по рейке на точке 583 .
Высота вершины холма равна 124.4 м. Определить высоту горизонтали, ближайшей к вершине, если высота сечения h = 2 м.
Выбрать формулу для определения угла наклона (теодолит 2Т30)
Выбрать формулу для определения МО (теодолит 2Т30):
Выберите правильное утверждение при измерении горизонтального угла
Вставьте пропущенное слово: касательная к внутренней поверхности ампулы уровня в точке нуль-пункта называется
В чем заключается обратная геодезическая задача?
В каких пределах измеряются вертикальные углы?
Азимут геодезический – это:
Что такое румб?
Что называют референц-эллипсоидом?
Что на рисунке обозначено под цифрой 1?
![]()

Что можно вычислить, если известны координаты начальной точки линии, длина линии и ее дирекционный угол?
Чем характеризуется крутизна склона?
При геодезических работах теодолитом измеряют:
Полем зрения трубы называется
Одинаков ли масштаб карты во всех её точках?
Назовите часть теодолита под цифрой 20
![]()

Назовите границы, в пределах которых при составлении планов местности поверхность земного шара можно считать плоской при измерении горизонтальных углов и расстояний:
Какова точность отсчета у теодолитов 2Т30?
Какая поверка теодолита гарантируется заводом-изготовителем?
Измеренное на местности горизонтальное расстояние между точками А и В равно 46,60 м. Какой из показанных на нормальном поперечном масштабе отрезков соответствует этому расстоянию? Численный масштаб 1:1000.
Измеренное на местности горизонтальное расстояние между точками А и В равно 24,70 м. Какой из показанных на нормальном поперечном масштабе отрезков соответствует этому расстоянию? Численный масштаб 1:500
![]()

В результате какой поверки теодолита вычисляется коллимационная ошибка?
Нивелирование из середины. Выбрать формулу вычисления превышения на станции
Назовите часть теодолита под цифрой 8
![]()

Что принято за ось абсцисс и ординат в общегосударственной зональной системе плоских прямоугольных координат?
Выберите правильное утверждение поверки круглого уровня нивелира:
Магнитный азимут линии АВ равен 62°. Склонение магнитной стрелки восточное 6°, сближение меридианов западное 2°. Каков дирекционный угол линии АВ?
Номенклатура карты N-37-26-Б-а. Каков масштаб этой карты?
Назовите часть нивелира под цифрой 6:
Каков масштаб карты с номенклатурой К-37-22?
На карте вершина горы несет отметку 152,2м. Сечение рельефа 5 м. Какова высота ближайшей к вершине горизонтали?
В каком наименьшем масштабе должен быть составлен план местности, чтобы на нем могли различаться детали размером от 50 см?
Характеристики ответов (шпаргалок) к заданиям
Тип
Коллекция: Ответы (шпаргалки) к заданиям
Учебное заведение
Номер задания
Теги
Просмотров
3
Качество
Идеальное компьютерное
Количество вопросов

📚Помощь в сдаче любых видов работ✒️Более 6000 готовых студенческих работ и тестов для НСПК, ОСЭК, НИИДПО, НАДПО и других ВУЗов👨🏫Гарантирую результат или полностью верну деньги!✅💰