Ответ на вопрос №935763: Назовите часть нивелира под цифрой 6: элевационный винт кремальера наводящий винт закрепительный винт Назовите часть нивелира под цифрой 6: элевационный винт кремальера - Ответ на вопрос №935763Назовите часть нивелира под цифрой 6: элевационный винт кремальера - Ответ на вопрос №935763
2025-08-162025-08-16СтудИзба
Назовите часть нивелира под цифрой 6: элевационный винт кремальера - Ответ на вопрос №935763
Вопрос
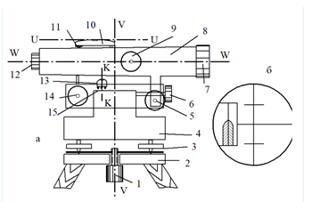
Назовите часть нивелира под цифрой 6:-
![]()
- элевационный винт
- кремальера
- наводящий винт
- закрепительный винт
Ответ
Этот вопрос в коллекциях
-43%
-43%

📚Помощь в сдаче любых видов работ✒️Более 6000 готовых студенческих работ и тестов для НСПК, ОСЭК, НИИДПО, НАДПО и других ВУЗов👨🏫Гарантирую результат или полностью верну деньги!✅💰



















