Л22_Саша (994582)
Текст из файла
Московский Энергетический Институт
(технический университет)
А. В. Т. И.
кафедра Электротехники и Интроскопии
Лабораторная работа №22
Радиоволновой дефектоскоп
К работе допущен: Выполнил: студент гр. А-15-0
.
Проверил: преподаватель
Касимов Г. А.
Москва 200
Цель работы:
-
Изучение принципов радиоволновой дефектоскопии и устройства дефектоскопа СД-12Д.
-
Исследование влияния дефектов, свойств материала и геометрических факторов на выходные сигналы дефектоскопа.
-
Получение практических навыков работы с СВЧ дефектоскопами.
Домашнее задание
-
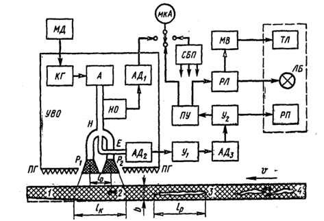
Функциональная схема радиоволнового дефектоскопа СД-12Д.
| Минимальный размер дефектов мм, расслоений сферы | Толщина материала мм, | Диэлектрическая проницаемость материала | Потери tgδ | Допустимый зазор мм | Допустимый перекос мм/мм | Рабочая частота ГГц | Особенности |
| 0,1×10×15 1 | 1-30 | 1,1-4,5 | 0,01 | 10 | 0,1/50 | 10,3 | Метод самосравнения |
Технические характеристики радиоволнового дефектоскопа СД-12Д
Клистронный генератор КГ создает СВЧ-радиоимпульсы (что обеспечивает модулятор МД) и через аттенюатор А и секцию с направленным ответвителем НО передает энергию к СВЧ-мосту. Направленный ответвитель НО отводит часть СВЧ-энергии к детекторной секции АД1 для индикации уровня мощности с помощью стрелочного прибора-микроамперметра мкА. СВЧ-мост через Н-плечо разделяет
СВЧ-энергию на два одинаковых потока, излучаемых одинаковыми рупорами Р1 и Р2. Прием СВЧ-колебаний, отраженных от участков контролируемого объекта, также производится рупорами Р1 и Р2. Если оба рупора находятся над одинаковыми бездефектными участками, то оба отраженных СВЧ-сигнала будут иметь одинаковую амплитуду, фазу и СВЧ-колебания в Е-плечо проходить не будут. При наличии же под одним из рупоров дефекта изменится коэффициент отражения от этого участка, отраженные СВЧ-сигналы будут разные и в Е-ответвлении двойного
СВЧ-моста появится сигнал разбаланса. Ввиду неидеальности конструкции двойного моста, несмотря на подстройку с помощью симметрирующих штырей, имеется остаточное прохождение
СВЧ-колеба-ний из Н- в Е-ответвления (для моста в дефектоскопе СД-12Д этот уровень равен 50—55 дБ), которое в первую очередь определяет возможности электронной части прибора по реальному значению минимально выявляемого дефекта. Амплитудный детектор АД2 выпрямляет разностный СВЧ-сигнал и подает полученное напряжение частоты 1 кГц к усилителю У1, позволяющему получить большую абсолютную чувствительность к дефектам. Усиленное напряжение частоты 1 кГц подводится к амплитудному детектору АД3 и далее к усилителю постоянного тока У2 и регистрирующему устройству РП типа Н340, фиксирующему сигналы от дефектов на бумаге. С усилителя У2 напряжение подводится также к пороговому устройству ПУ, которое производит отсечку шумов и сигналов от структурных неоднородностей, и на его выход проходит только напряжение, больше уровня отсечки, устанавливаемого оператором в зависимости от целей контроля конкретной задачи. К выходу порогового устройства подключено электромагнитное реле РЛ, включающее элементы сигнализации: световой с помощью лампы «Брак» ЛБ и звуковой в виде мультивибратора МВ, питающего телефон ТЛ.
-
Рассчитать глубину проникновения СВЧ волны в органическое стекло, картон и алюминий для рабочей частоты дефектоскопа СД-12Д.
Рабочая частота дефектоскопа СД-12Д f=10,3 ГГц.
Глубина проникновения плоской волны
δ=√(2/(ω∙μ0∙μ∙σ)),
но так как, волна будет близка к сферической, то сигналы будут завесить от координаты. Т.е.глубина проникновения будет меньше, чем рассчитанная .
Так как органическое стекло и картон являются диэлектриками то для них глубину проникновения рассчитывать нет смысла.
Удельная электрическая проводимость алюминия равна σа=36 МСм/м
Рассчитаем глубину проникновения
δ=√(2/(ω∙μ0∙μ∙σ), δа=8,26∙10-4 мм.
Выполнение работы
-
Настройка дефектоскопа для выявления минимальных дефектов из алюминия.
-
Снятие диаграмм для наборов дефектов из алюминия и оргстекла.
Таблица расположения и размеров дефектов
| Материал | № п/п | Координата, мм | Lφ | Lr |
| Органическое стекло | 4 | 63 | 10 | 10 |
| 5 | 73 | 9 | 9 | |
| 6 | 83 | 8 | 8 | |
| 1 | 1 | 7 | 7 | |
| 2 | 12 | 6 | 6 | |
| 3 | 32 | 4 | 4 | |
| Алюминий | 1 | 0 | 7 | 7 |
| 2 | 3 | 8 | 8 | |
| 3 | 7 | 10 | 10 | |
| 4 | 11 | 12 | 12 | |
| 5 | 15 | 13 | 13 | |
| 6 | 25 | 8 | 12 | |
| 7 | 29 | 12 | 8 | |
| 8 | 34 | 6 | 12 | |
| 9 | 40 | 12 | 6 |
-
Зависимости показаний индикатора дефектоскопа от площади и расположения дефектов
-
Зависимость показаний индикатора дефектоскопа от площади для дефектов из алюминия в виде квадрата
| № дефекта | 1 | 2 | 3 | 4 | 5 |
| S, мм2 | 49 | 64 | 100 | 144 | 169 |
| Показание индикатора, дел. | 24,5 | 18,5 | 34,0 | 33,5 | 33,2 |
-
Зависимость показаний индикатора дефектоскопа от площади для дефектов из алюминия в виде прямоугольника
| № дефекта | 6 | 7 | 8 | 9 |
| Форма | █ | █ | █ | █ |
| S, мм2 | 96 | 96 | 72 | 72 |
| Показание индикатора, дел. | 34,0 | 32,0 | 26,5 | 28,5 |
-
Зависимость показаний индикатора дефектоскопа от площади для дефектов из оргстекла в виде квадрата
| № дефекта | 2 | 3 | 4 | 5 | 6 |
| S, мм2 | 36 | 16 | 100 | 81 | 64 |
| Показание индикатора, дел. | 39,0 | 29,5 | 40,0 | > 50 | 18,0 |
При увеличении площади квадратного дефекта наблюдается увеличение амплитуды сигнала, причем для органического стекла получаем большую чувствительность, чем для алюминия. Нелинейность характеристик можно объяснить неоптимальной настройкой дефектоскопа.
Зависимость показаний индикатора дефектоскопа от площади для дефектов из алюминия в виде прямоугольника позволяет сделать вывод о том, что при Lφ > Lr амплитуда сигнала уменьшается.
Ответы на контрольные вопросы
-
Какие факторы влияют на разрешающую способность дефектоскопа?
Разрешающая способность дефектоскопа СД−12Д определяется степенью симметрии настройки моста, возможным непостоянством условий контроля и вариацией свойств ОК.
При организации контроля следует учитывать, что резкое изменение свойств ОК будет восприниматься как дефект.
Сильным мешающим фактором при работе с СД−12Д является взаимный перекос ОК и системы рупоров в плоскости их расположения.
К снижению чувствительности к дефектам приводит изменение зазора и электромагнитных параметров ОК (удельная электрическая проводимость σ), увеличение толщины ОК.
Ложные сигналы могут создавать металлические частицы и капли влаги, попавшие на поверхность ОК.
-
Почему необходимо малое прохождение СВЧ- энергии из Н-ответвление в Е-ответвление двойного тройника?
Из-за неидеальности конструкции СВЧ-моста имеется остаточное прохождение колебаний из Н- в Е-ответвление (для моста в дефектоскопе СД-12Д этот уровень равен 50 – 55 дБ). Это определяет реальное значение размера минимально выявляемого дефекта. Следовательно, чем меньше энергии будет проходить, тем меньше будет пороговое значение обнаружения дефекта, и дефекты малых размеров будут выявляться лучше.
-
Какие устройства можно использовать в качестве источников СВЧ-колебаний при радиоволновом контроле?
В качестве источников СВЧ-колебаний используются полупроводниковые генераторы, где в качестве активных элементов применяют лавинно-пролетные диоды, диоды Ганна, туннельные диоды, СВЧ-транзисторы, и электронные генераторы, которые строятся на базе различных электронных вакуумных приборов (клистрон и др.).
-
Как влияет увеличение СВЧ мощности на обнаружение дефектов?
Установка оптимального уровня мощности осуществляется на этапе настройки дефектоскопа, этот уровень определяется параметрами ОК, коэффициентом усиления усилителя и уровнем отсечки порогового устройства U0. Следовательно, при увеличении мощности возможно обнаружение дефектов малых размеров, но также возможно увеличение прохождение колебаний из Н- в Е-ответвление в СВЧ-тройнике, пороговое значение будет увеличиваться, что повлияет на достоверность определения значения размера минимально выявляемого дефекта.
-
Почему затруднена дефектоскопия объектов с большими потерями?
СВЧ-колебания по мере проникновения в глубь материала ОК уменьшаются по амплитуде тем сильнее, чем больше потери. В дефектоскопе СД-12Д реализован режим контроля на отражение. Следовательно, если величина потерь будет большой, то энергии отраженной волны может быть недостаточно для выявления дефектов, особенно малых размеров (это будет сильнее проявляться с увеличением толщины ОК).
-
Можно ли производить дефектоскопию объекта при ступенчатом изменении его толщины?
Каждое изменение толщины ОК на величину ступеньки может быть воспринято как дефект. Следовательно, необходимо каждый раз настраивать дефектоскоп при изменении толщины ОК на высоту ступеньки, что не очень удобно.
-
Возможен ли контроль теплозащитных диэлектрических покрытий на металлических трубах с помощью СД-12Д?
СД-12Д предназначен для контроля изделий в виде листов или покрытий из диэлектриков монолитных и слоистых материалов, следовательно, контроль невозможен из-за формы ОК.
8
Характеристики
Тип файла документ
Документы такого типа открываются такими программами, как Microsoft Office Word на компьютерах Windows, Apple Pages на компьютерах Mac, Open Office - бесплатная альтернатива на различных платформах, в том числе Linux. Наиболее простым и современным решением будут Google документы, так как открываются онлайн без скачивания прямо в браузере на любой платформе. Существуют российские качественные аналоги, например от Яндекса.
Будьте внимательны на мобильных устройствах, так как там используются упрощённый функционал даже в официальном приложении от Microsoft, поэтому для просмотра скачивайте PDF-версию. А если нужно редактировать файл, то используйте оригинальный файл.
Файлы такого типа обычно разбиты на страницы, а текст может быть форматированным (жирный, курсив, выбор шрифта, таблицы и т.п.), а также в него можно добавлять изображения. Формат идеально подходит для рефератов, докладов и РПЗ курсовых проектов, которые необходимо распечатать. Кстати перед печатью также сохраняйте файл в PDF, так как принтер может начудить со шрифтами.
















