Л22_Настя (994581)
Текст из файла
Московский Энергетический Институт
(технический университет)
А. В. Т. И.
кафедра Электротехники и Интроскопии
Лабораторная работа №22
Радиоволновой дефектоскоп
К работе допущен: Выполнил: студент гр. А-15-0
.
Проверил: преподаватель
Касимов Г. А.
Москва 200
Цель работы:
-
Изучение принципов радиоволновой дефектоскопии и устройства дефектоскопа СД-12Д.
-
Исследование влияния дефектов, свойств материала и геометрических факторов на выходные сигналы дефектоскопа.
-
Получение практических навыков работы с СВЧ дефектоскопами.
Домашнее задание
-
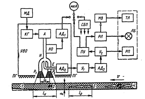
Функциональная схема радиоволнового дефектоскопа СД-12Д.
КГ – клистронный генератор, МД – модулятор, А – аттенюатор, НО – направленный ответвитель, Н, Е – СВЧ-мост, Р1, Р2 – рупоры, ПГ – поглотитель, АД1, АД2, АД3 – детекторные секции (амплитудные детекторы), мкА – микроамперметр для индикации уровня мощности, У1, У2 – усилители, РП – регистрирующий прибор, ПУ – пороговое устройство, РЛ – электромагнитное реле, ЛБ – лампа “Брак”, МВ – мультивибратор, ТЛ – телефон, 1 – бездефектный участок, 2 – точечный дефект, 3 – протяженный дефект, 4 – дефект сложной формы, V – скорость равномерного поступательного движения контролируемого объекта.
Дефектоскоп СД-12Д предназначен для бесконтактного обнаружения дефектов типа нарушения сплошности (расслоения, неоднородности материала, инородные включения, отсутствие материала или его компонентов и т. д.) в изделиях в виде листов или покрытий из диэлектрических монолитных и слоистых материалов (резины, пластмассы, керамики, стеклопластика и т. д.).
-
Рассчитать глубину проникновения СВЧ волны в органическое стекло, картон и алюминий для рабочей частоты дефектоскопа СД-12Д.
Рабочая частота дефектоскопа СД-12Д f=10,3 ГГц.
Глубина проникновения для плоской волны
δ=√(2/(ω∙μ0∙μ∙σ)),
но необходимо учесть, что волна близка к сферической и сигналы будут дополнительно снижаться за счет геометрического фактора.
-
Органическое стекло
Удельная электрическая проводимость органического стекла близка к нулю, следовательно, глубина проникновения составляет величину порядка несколько десятков метров.
-
Картон
Картон так же, как и органическое стекло, является диэлектриком, поэтому глубина проникновения составляет величину порядка несколько десятков метров.
-
Алюминий (σ=36 МСм/м)
δ=√(2/(ω∙μ0∙μ∙σ))=√(2/(2∙π∙10,3∙109∙4∙π∙10-7∙36∙106))=8,26∙10-7 м=8,26∙10-4 мм.
-
Рассмотреть влияние свойств материала, размеров и формы объектов контроля на обнаружение дефектов минимальных размеров.
На обнаружение дефектов минимальных размеров оказывают влияние нестабильность блоков дефектоскопа, геометрические и электрические параметры ОК. К снижению чувствительности обнаружения дефектов приводит изменение зазора, увеличение толщины контролируемого объекта и его электромагнитных параметров, в первую очередь, - удельной электрической проводимости. Ложные сигналы могут создаваться металлическими частицами на поверхности ОК и каплями влаги.
Выполнение работы
-
Настройка дефектоскопа для выявления минимальных дефектов из алюминия.
-
Снятие диаграмм для наборов дефектов из алюминия и оргстекла.
Таблица расположения и размеров дефектов
| № п/п | Координата, мм | Материал | Lφ | Lr |
| 4 | 63 | Органическое стекло | 10 | 10 |
| 5 | 73 | 9 | 9 | |
| 6 | 83 | 8 | 8 | |
| 1 | 1 | 7 | 7 | |
| 2 | 12 | 6 | 6 | |
| 3 | 32 | 4 | 4 | |
| 1 | 0 | Алюминий | 7 | 7 |
| 2 | 3 | 8 | 8 | |
| 3 | 7 | 10 | 10 | |
| 4 | 11 | 12 | 12 | |
| 5 | 15 | 13 | 13 | |
| 6 | 25 | 8 | 12 | |
| 7 | 29 | 12 | 8 | |
| 8 | 34 | 6 | 12 | |
| 9 | 40 | 12 | 6 |
-
Зависимости показаний индикатора дефектоскопа от площади и расположения дефектов
-
Зависимость показаний индикатора дефектоскопа от площади для дефектов из алюминия в виде квадрата
| № дефекта | 1 | 2 | 3 | 4 | 5 |
| S, мм2 | 49 | 64 | 100 | 144 | 169 |
| Показание индикатора, дел. | 24,5 | 18,5 | 34,0 | 33,5 | 33,2 |
-
Зависимость показаний индикатора дефектоскопа от площади для дефектов из алюминия в виде прямоугольника
| № дефекта | 6 | 7 | 8 | 9 |
| Форма | █ | █ | █ | █ |
| S, мм2 | 96 | 96 | 72 | 72 |
| Показание индикатора, дел. | 34,0 | 32,0 | 26,5 | 28,5 |
-
Зависимость показаний индикатора дефектоскопа от площади для дефектов из оргстекла в виде квадрата
| № дефекта | 2 | 3 | 4 | 5 | 6 |
| S, мм2 | 36 | 16 | 100 | 81 | 64 |
| Показание индикатора, дел. | 39,0 | 29,5 | 40,0 | > 50 | 18,0 |
При увеличении площади квадратного дефекта наблюдается увеличение амплитуды сигнала, причем для органического стекла получаем большую чувствительность, чем для алюминия. Нелинейность характеристик можно объяснить неоптимальной настройкой дефектоскопа.
Зависимость показаний индикатора дефектоскопа от площади для дефектов из алюминия в виде прямоугольника позволяет сделать вывод о том, что при Lφ > Lr амплитуда сигнала уменьшается.
Ответы на контрольные вопросы
-
Какие факторы влияют на разрешающую способность дефектоскопа?
Разрешающая способность дефектоскопа СД−12Д определяется степенью симметрии настройки моста, возможным непостоянством условий контроля и вариацией свойств ОК.
При организации контроля следует учитывать, что резкое изменение свойств ОК будет восприниматься как дефект.
Сильным мешающим фактором при работе с СД−12Д является взаимный перекос ОК и системы рупоров в плоскости их расположения.
К снижению чувствительности к дефектам приводит изменение зазора и электромагнитных параметров ОК (удельная электрическая проводимость σ), увеличение толщины ОК.
Ложные сигналы могут создавать металлические частицы и капли влаги, попавшие на поверхность ОК.
-
Почему необходимо малое прохождение СВЧ- энергии из Н-ответвление в Е-ответвление двойного тройника?
Из-за неидеальности конструкции СВЧ-моста имеется остаточное прохождение колебаний из Н- в Е-ответвление (для моста в дефектоскопе СД-12Д этот уровень равен 50 – 55 дБ). Это определяет реальное значение размера минимально выявляемого дефекта. Следовательно, чем меньше энергии будет проходить, тем меньше будет пороговое значение обнаружения дефекта, и дефекты малых размеров будут выявляться лучше.
-
Какие устройства можно использовать в качестве источников СВЧ-колебаний при радиоволновом контроле?
В качестве источников СВЧ-колебаний используются полупроводниковые генераторы, где в качестве активных элементов применяют лавинно-пролетные диоды, диоды Ганна, туннельные диоды, СВЧ-транзисторы, и электронные генераторы, которые строятся на базе различных электронных вакуумных приборов (клистрон и др.).
-
Как влияет увеличение СВЧ мощности на обнаружение дефектов?
Установка оптимального уровня мощности осуществляется на этапе настройки дефектоскопа, этот уровень определяется параметрами ОК, коэффициентом усиления усилителя и уровнем отсечки порогового устройства U0. Следовательно, при увеличении мощности возможно обнаружение дефектов малых размеров, но также возможно увеличение прохождение колебаний из Н- в Е-ответвление в СВЧ-тройнике, пороговое значение будет увеличиваться, что повлияет на достоверность определения значения размера минимально выявляемого дефекта.
-
Почему затруднена дефектоскопия объектов с большими потерями?
СВЧ-колебания по мере проникновения в глубь материала ОК уменьшаются по амплитуде тем сильнее, чем больше потери. В дефектоскопе СД-12Д реализован режим контроля на отражение. Следовательно, если величина потерь будет большой, то энергии отраженной волны может быть недостаточно для выявления дефектов, особенно малых размеров (это будет сильнее проявляться с увеличением толщины ОК).
-
Можно ли производить дефектоскопию объекта при ступенчатом изменении его толщины?
Каждое изменение толщины ОК на величину ступеньки может быть воспринято как дефект. Следовательно, необходимо каждый раз настраивать дефектоскоп при изменении толщины ОК на высоту ступеньки, что не очень удобно.
-
Возможен ли контроль теплозащитных диэлектрических покрытий на металлических трубах с помощью СД-12Д?
СД-12Д предназначен для контроля изделий в виде листов или покрытий из диэлектриков монолитных и слоистых материалов, следовательно, контроль невозможен из-за формы ОК.
8
Характеристики
Тип файла документ
Документы такого типа открываются такими программами, как Microsoft Office Word на компьютерах Windows, Apple Pages на компьютерах Mac, Open Office - бесплатная альтернатива на различных платформах, в том числе Linux. Наиболее простым и современным решением будут Google документы, так как открываются онлайн без скачивания прямо в браузере на любой платформе. Существуют российские качественные аналоги, например от Яндекса.
Будьте внимательны на мобильных устройствах, так как там используются упрощённый функционал даже в официальном приложении от Microsoft, поэтому для просмотра скачивайте PDF-версию. А если нужно редактировать файл, то используйте оригинальный файл.
Файлы такого типа обычно разбиты на страницы, а текст может быть форматированным (жирный, курсив, выбор шрифта, таблицы и т.п.), а также в него можно добавлять изображения. Формат идеально подходит для рефератов, докладов и РПЗ курсовых проектов, которые необходимо распечатать. Кстати перед печатью также сохраняйте файл в PDF, так как принтер может начудить со шрифтами.
















