L22mod_our (548444)
Текст из файла
МОСКОВСКИЙ ЭНЕРГЕТИЧЕСКИЙ ИНСТИТУТ
(ТЕХНИЧЕСКИЙ УНИВЕРСИТЕТ)
Лабораторная работа №22
Радиоволновой дефектоскоп
Студенты :
.
.
.
Преподаватель Касимов Г. А.
К работе допущен
Работа выполнена
Работа защищена
200
Цель работы
-
Изучение принципов радиоволновой дефектоскопии и устройства дефектоскопа СД-12Д.
-
Исследование влияния дефектов, свойств материала и геометрических факторов на выходные сигналы дефектоскопа.
-
Получение практических навыков работы с СВЧ дефектоскопами.
Домашнее задание
-
Изобразите функциональную схему радиоволнового дефектоскопа СД-12Д и изучине взаимодействие его блоков.
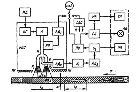
1 – бездефектный участок, 2 – точечный дефект, 3 – протяженный дефект, 4 – дефект сложной формы
КГ – клистронный генератор, МД – модулятор, А – аттенюатор, НО – направленный ответвитель, Н, Е – СВЧ-мост, Р1, Р2 – рупоры, ПГ – поглотитель, АД1, АД2, АД3 – детекторные секции (амплитудные детекторы), мкА – микроамперметр для индикации уровня мощности, У1, У2 – усилители, РП – регистрирующий прибор, ПУ – пороговое устройство, РЛ – электромагнитное реле, ЛБ – лампа “Брак”, МВ – мультивибратор, ТЛ – телефон, 1 – бездефектный участок, 2 – точечный дефект, 3 – протяженный дефект, 4 – дефект сложной формы, V – скорость равномерного поступательного движения контролируемого объекта.
Дефектоскоп СД-12Д предназначен для бесконтактного обнаружения дефектов типа нарушения сплошности (расслоения, неоднородности материала, инородные включения, отсутствие материала или его компонентов и т. д.) в изделиях в виде листов или покрытий из диэлектрических монолитных и слоистых материалов (резины, пластмассы, керамики, стеклопластика и т. д.).
Клистронный генератор КГ создает СВЧ-радиоимпульсы (что обеспечивает модулятор МД) и через аттенюатор А и секцию с направленным ответвителем НО передает энергию к СВЧ-мосту. Направленный ответвитель НО отводит часть СВЧ-энергии к детекторной секции АД1 для индикации уровня мощности с помощью стрелочного прибора-микроамперметра мкА. СВЧ-мост через Н-плечо разделяет
СВЧ-энергию на два одинаковых потока, излучаемых одинаковыми рупорами Р1 и Р2. Прием СВЧ-колебаний, отраженных от участков контролируемого объекта, также производится рупорами Р1 и Р2. Если оба рупора находятся над одинаковыми бездефектными участками, то оба отраженных СВЧ-сигнала будут иметь одинаковую амплитуду, фазу и СВЧ-колебания в Е-плечо проходить не будут. При наличии же под одним из рупоров дефекта изменится коэффициент отражения от этого участка, отраженные СВЧ-сигналы будут разные и в Е-ответвлении двойного
СВЧ-моста появится сигнал разбаланса. Ввиду неидеальности конструкции двойного моста, несмотря на подстройку с помощью симметрирующих штырей, имеется остаточное прохождение СВЧ-колебаний из Н- в Е-ответвления (для моста в дефектоскопе СД-12Д этот уровень равен 50—55 дБ), которое в первую очередь определяет возможности электронной части прибора по реальному значению минимально выявляемого дефекта. Амплитудный детектор АД2 выпрямляет разностный СВЧ-сигнал и подает полученное напряжение частоты 1 кГц к усилителю У1, позволяющему получить большую абсолютную чувствительность к дефектам. Усиленное напряжение частоты 1 кГц подводится к амплитудному детектору АД3 и далее к усилителю постоянного тока У2 и регистрирующему устройству РП типа Н340, фиксирующему сигналы от дефектов на бумаге. С усилителя У2 напряжение подводится также к пороговому устройству ПУ, которое производит отсечку шумов и сигналов от структурных неоднородностей, и на его выход проходит только напряжение, больше уровня отсечки, устанавливаемого оператором в зависимости от целей контроля конкретной задачи. К выходу порогового устройства подключено электромагнитное реле РЛ, включающее элементы сигнализации: световой с помощью лампы «Брак» ЛБ и звуковой в виде мультивибратора МВ, питающего телефон ТЛ.
| Минимальный размер дефектов мм, | Толщи-на мате-риала, мм | Диэлектри-ческая про-ницаемость материала | Потери, tgδ | Допусти-мый зазор, мм | Допусти-мый перекос, мм/мм | Рабочая частота ГГц | Режим контро-ля | Особен-ности дефек-тоскопа |
| расслоений: 0,1×10×15 сферы: 1 | 1-30 | 1,1-4,5 | 0,01 | 10 | 0,1/50 | 10,3 | На отраже-ние | Метод самосрав-нения |
Технические характеристики радиоволнового дефектоскопа СД-12Д
-
Рассчитать глубину проникновения СВЧ волны в органическое стекло, картон и алюминий для рабочей частоты дефектоскопа СД-12Д.
Рабочая частота дефектоскопа СД-12Д f =10,3 ГГц.
Глубина проникновения плоской волны
| Материал | μr, Гн/м | σ, МСм/м | δ, мм |
| оргстекло | 1 | - | несколько метров |
| картон | 1 | - | несколько метров |
| алюминий | 1 | 36 | 0,83·10-3 |
-
Рассмотреть влияние свойств материала, размеров и формы объектов контроля на обнаружение дефектов минимальных размеров.
На обнаружение дефектов минимальных размеров оказывают влияние нестабильность блоков дефектоскопа, геометрические и электромагнитные параметры ОК. К снижению чувствительности обнаружения дефектов приводит изменение зазора, изменение толщины контролируемого объекта и его электромагнитных параметров, в первую очередь, - удельной электрической проводимости. Ложные сигналы могут создаваться металлическими частицами на поверхности ОК и каплями влаги.
Задание, выполняемое в лаборатории
-
Включить и прогреть дефектоскоп СД-12Д, не подавая напряжение на отражатель кристрона, и настроить дефектоскоп для выявления минимальных дефектов для объекта контроля из слоистого картона.
-
Снять зависимости показаний индикатора дефектоскопа от площади металлического включения в виде квадрата и прямоугольника при расположении их длинных сторон вдоль и поперек направления поляризации для моделей объектов из картона и оргстекла без основания и с алюминиевым основанием.
| Дефект | S, мм2 | Показание индикатора | |
| вдоль | поперек | ||
-
Снять зависимость показаний индикатора дефектоскопа от площади модели расслоения или уплотнения квадратного сечения.
| Дефект | S, мм2 | Показание индикатора |
-
Сопоставить полученные зависимости при одинаковой площади включениями объяснить различие между ними
-
Исследовать влияние глубины залегания дефектов и зазора при наличии металлического основания и без него.
С металлическим основанием
| Дефект | Глубина, мм | Показание индикатора |
Без металлического основания
| Дефект | Глубина, мм | Показание индикатора |
-
Изменяя диэлектрическую проницаемость образца 2231 или 2241 и толщину образца 2233 или 2243 определить их допустимый перепад, соответствующий дефекту минимальной величины.
-
Исследовать влияние перекоса и края и определить их допустимые значения для дефекта минимального размера.
-
Получить форму сигнала при сканировании модели объекта контроля.
-
Для моделей объектов контроля 2241 и 2243 при трех уровнях чувствительности найти число регистрируемых дефектов и их положение.
Контрольные вопросы
-
Как изменится коэффициент отражения при увеличении размеров дефекта от 1
до 2 мм?
Если считать, что увеличение дефекта не привело к значительному изменению угла падения на него, то коэффициент отражения не изменится; а увеличение площади дефекта приведет к увеличению абсолютной величины сигнала за счет увеличения отражающей волны поверхности (т.к. коэффициент отражения определяется волновыми сопротивлениями сред и углом падения волны, тогда).
-
Какие факторы влияют на разрешающую способность дефектоскопа?
Разрешающая способность дефектоскопа СД−12Д определяется степенью симметрии настройки моста, а также возможным непостоянством условий радиоволнового контроля и вариацией свойств контролируемого объекта.
-
Почему необходимо малое прохождение СВЧ- энергии из Н-ответвление в Е-ответвление двойного тройника?
Из-за неидеальности конструкции СВЧ-моста имеется остаточное прохождение колебаний из Н- в Е-ответвление (для моста в дефектоскопе СД-12Д этот уровень равен 50 – 55 дБ). Это определяет реальное значение размера минимально выявляемого дефекта. Следовательно, чем меньше энергии будет проходить, тем меньше будет пороговое значение обнаружения дефекта, и дефекты малых размеров будут выявляться лучше.
-
Какие устройства можно использовать в качестве источников СВЧ-колебаний при радиоволновом контроле?
В качестве источников СВЧ-колебаний используются полупроводниковые и электронные генераторы. Полупроводниковые генераторы СВЧ-колебаний используют в качестве активных элементов лавинно-пролетные диоды, диоды Ганна, туннельные диоды, СВЧ-транзисторы и т.д. Электронные генераторы строят на базе различных электронных вакуумных приборов (например, на базе клистрона). Вообще источником СВЧ-колебаний также являются нагретые тела, но ввиду малой интенсивности их излучения, применение их в радиоволновом контроле носит уникальный характер.
-
Как влияет увеличение СВЧ мощности на обнаружение дефектов?
Установка оптимального уровня мощности осуществляется на этапе настройки дефектоскопа, этот уровень определяется параметрами ОК, коэффициентом усиления усилителя и уровнем отсечки порогового устройства U0. Следовательно, при увеличении мощности возможно обнаружение дефектов малых размеров, но также возможно увеличение прохождение колебаний из Н- в Е-ответвление в СВЧ-тройнике, пороговое значение будет увеличиваться, что повлияет на достоверность определения значения размера минимально выявляемого дефекта.
-
Почему ограничены величина зазора и толщина объекта контроля?
С увеличением толщины ОК размеры минимально выявляемых дефектов возрастают ввиду затухания электромагнитных волн в материале и их рассеяния. То же можно сказать и о зазоре, особенно что касается рассеяния волн.
-
Почему затруднена дефектоскопия объектов с большими потерями?
СВЧ-колебания по мере проникновения в глубь материала ОК уменьшаются по амплитуде тем сильнее, чем больше потери. В дефектоскопе СД-12Д реализован режим контроля на отражение. Следовательно, если величина потерь будет большой, то энергии отраженной волны может быть недостаточно для выявления дефектов, особенно малых размеров (это будет сильнее проявляться с увеличением толщины ОК).
-
Можно ли производить дефектоскопию объекта при ступенчатом изменении его толщины?
Каждое изменение толщины ОК на величину ступеньки может быть воспринято как дефект. Следовательно, необходимо каждый раз настраивать дефектоскоп при изменении толщины ОК на высоту ступеньки, что не очень удобно.
-
Возможен ли контроль теплозащитных диэлектрических покрытий на металлических трубах с помощью СД-12Д?
СД-12Д предназначен для контроля изделий в виде листов или покрытий из диэлектриков монолитных и слоистых материалов, следовательно, контроль невозможен из-за формы ОК.
7
Характеристики
Тип файла документ
Документы такого типа открываются такими программами, как Microsoft Office Word на компьютерах Windows, Apple Pages на компьютерах Mac, Open Office - бесплатная альтернатива на различных платформах, в том числе Linux. Наиболее простым и современным решением будут Google документы, так как открываются онлайн без скачивания прямо в браузере на любой платформе. Существуют российские качественные аналоги, например от Яндекса.
Будьте внимательны на мобильных устройствах, так как там используются упрощённый функционал даже в официальном приложении от Microsoft, поэтому для просмотра скачивайте PDF-версию. А если нужно редактировать файл, то используйте оригинальный файл.
Файлы такого типа обычно разбиты на страницы, а текст может быть форматированным (жирный, курсив, выбор шрифта, таблицы и т.п.), а также в него можно добавлять изображения. Формат идеально подходит для рефератов, докладов и РПЗ курсовых проектов, которые необходимо распечатать. Кстати перед печатью также сохраняйте файл в PDF, так как принтер может начудить со шрифтами.















