ОНД 86 (994569), страница 11
Текст из файла (страница 11)
1.6. В общем случае при наличии застройки максимальное значение приземной концентрации
определяется через максимальную концентрацию см, полученную без учета влияния застройки (см. п. 1.2 Приложения 2), по формуле
где
- поправка, учитывающая влияние застройки. Концентрация
достигается на расстоянии xм от источника при опасной скорости ветра
и опасном направлении ветра.
1.7. Для высоких источников учет влияния застройки производится по схеме, изложенной в разделах 2 - 9 данного Приложения, по согласованию с органами Госкомгидромета в отдельных случаях (например, при размещении источников вблизи здания, высота которого превышает высоту источников).
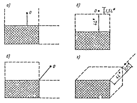
2. Расчет максимальных концентраций от одиночного точечного источника в случае одного здания.
2.1. Порядок определения
устанавливается в зависимости от расположения источника относительно здания. При размещении основания источника в зонах возможного образования подветренной тени при перпендикулярном к стене здания направлении ветра (см., например, рис, 4 а),
определяется в соответствии с п. 2.2 Приложения 2. При размещении основания источника в зонах, где ветровые тени образуются только при направлении ветра, составляющем острый угол с нормалью к одной из стен здания (см, например, рис. 4 б),
определяется в соответствии с п. 2.3 Приложения 2. Если основание источника располагается вне зон возможного образования ветровой тени на удалении до 1,5L* от их границы x? (рис. 4 в, г), то расчет
производится в соответствии с п. 2.4 Приложения 2. В остальных случаях расчет максимальных концентраций производится без учета влияния зданий, т. е.
= см.
Рис. 4.
Рис. 5.
2.2. При размещении основания источника в зонах возможного образования ветровых теней при перпендикулярном к стене здания направлении ветра (рис. 4 д) максимальная приземная концентрация достигается при опасном направлении ветра, соответствующем переносу воздуха по перпендикуляру от здания к источнику. В этом случае
где
Коэффициенты в формулах (6) и (7) являются безразмерными. Коэффициент rз описывает влияние различия в опасных скоростях ветра при наличии здания (
) и при его отсутствии (им), коэффициент
- изменение структуры воздушного потока при наличии застройки, коэффициенты s и м - влияние турбулентной диффузии внутри тени и колебаний направления ветра. Коэффициент s1 имеет тот же смысл, что и в соответствующих формулах раздела 2.
Для определения коэффициента rз предварительно вычисляется опасная скорость ветра
по формулам (2.16а) - (2.17в). При этом, если высота источника Н меньше высоты зоны ветровой тени Нв в точке расположения источника, т. е. Н < Нв, (рис. 5 а), то расчет входящих в указанные формулы значений vм и f производится при замене высоты источника H на высоту зоны тени Нв. Далее коэффициент rз определяется в зависимости от
по графику, приведенному на рис. 6, или по формулам
Рис. 6.
Рис. 7.
Если Н > Нв (рис. 5 б), то
и rз = 1.
При Н > Нв коэффициент
определяется по графику, приведенному на рис. 7, или по формуле
в зависимости от отношения Н/Нв. При Н < Нв принимается значение
, соответствующее Н = Нв.
Если
то при расчетах принимается:
Рис. 8.
Коэффициент s в (7) определяется по графику, приведенному на рис. 8, или по формулам:
в зависимости от аргумента
где при Н < Нв коэффициент рз устанавливается в зависимости от отношения
по графику, приведенному на рис. 6, или по формулам:
а при Н > Нв принимается pз = 1. Если при этом 1 1, где 1 определяется по формуле (7), то принимаются соотношения (11).
Рис. 9.
Для низких источников (т. е. при Н < 10 м), коэффициент s в (7) заменяется на sL, где sL определяется по формулам:
Для определения м предварительно по рис. 9 или по формулам:
находится вспомогательный угол к (в градусах) в зависимости от отношения
Безразмерный коэффициент м определяется по рис. 10 или по формуле
Рис. 10.
в зависимости от аргумента t3:
Если значение м удовлетворяет неравенству
м 0,05, (20)
то принимаются соотношения (11).
При Н/Нв 1 принимается
s1 =1. (21)
При Н/Нв < 1 коэффициент s определяется в зависимости от отношения
Если 1, то коэффициент s1 находится по формуле (21), а при < 1 коэффициент s1 находится по рис. 11 в зависимости от отношения
или по формуле (2.23а)
Расстояние
от источника до точки, в которой достигается максимум приземной концентрации
, в случае 1 определяется по формуле
а в случае < 1 по формулам
Рис. 11.
Примечание.
Если рассчитанное значение
удовлетворяет условию
то принимается соотношение (11).
2.3. В тех случаях, когда основание источника находится в зонах, где образование подветренной тени возможно только при направлении ветра, отличном от направления нормалей к стенам здания (см. рис. 4 б), максимальная приземная концентрация
достигается при опасном направлении ветра, соответствующем переносу воздуха к источнику от ближайшего к нему угла здания. Расчет
производится при этом по формулам п. 2.2 Приложения 2 со следующими изменениями:
- для определения того, какая из сторон здания при указанном направлении ветра является подветренной, через центр здания (рис. 12 а) проводится прямая, ориентированная вдоль направления ветра. Если эта прямая находится внутри или на границах угла, который образован диагоналями, примыкающими к более длинной стороне здания (например, к стороне CD на рис. 12 а), то данная сторона рассматривается как подветренная и ее длина обозначается Lш, а длина смежной стороны - Lд. В противном случае подветренной является более короткая сторона здания. Полученное значение Lш используется для определения L* по формуле (3) Приложения 2;
- величина м вычисляется из соотношений:
где - положительный острый угол (в градусах) между опасным направлением ветра и нормалью к стене здания (рис. 12 а). Здесь
находится по графику, приведенному на рис. 10, или по формуле (18) как значение м, вычисленное по аргументу t3 (формула (19)) при замене к на к + , а
вычисляется аналогичным образом при замене к на
Рис. 12.
2.4. Для источников, основание которых расположено вне зоны возможного образования подветренной тени (см. рис. 4 в, г), опасное направление ветра соответствует переносу воздуха от здания к источнику по нормали (рис. 4 в) или по направлению от ближайшего угла здания (рис. 4 г). Если при этом расстояние от источника до границы ветровой тени xв (рис. 4 в, г) удовлетворяет условию хв 1,5L* (где L* определяется в соответствии с п. 2.3 Приложения 2), то
где
и
определяется в соответствии с п. 2.2, 2.3 Приложения 2 как значения
и
для источника, расположенного на границе зоны ветровой тени (т. е. в точке с координатой хв). При хв > 1,5L* принимается
= 1.
2.5. При размещении основания источника на крыше здания производится расчет
для двух случаев, в которых направление ветра совпадает с направлением нормали к двум наименее удаленным от источника стенам здания (рис. 13 а). Далее, из полученных значений выбирается максимальное, а соответствующее ему направление ветра принимается за опасное.
Расчет
для каждого из двух указанных направлении ветра производится по формулам п. 2.2 Приложения 2 со следующими изменениями:
- высота зоны ветровой тени заменяется на высоту здания
Нв = Нз; (29)
- принимается опасная скорость ветра
s в формуле (7) заменяется на коэффициент
, определяемый по формулам
Здесь xн и xв - расстояния от источника до наветренного и подветренного краев подветренной тени (рис. 13 в), а sн и sв - вычисляются по формулам (13 а - 13 г) или по графику, приведенному на рис. 8, как значения s при значениях аргумента t1, вычисленных по формуле (13) при замене LI на xн и xв соответственно. Формула (30) используется также в случае низких источников для определения коэффициента
, который подставляется в (7) вместо sL, вычисленного по формулам (13 а - 13 г) (при этом в правой части (30) коэффициенты s, sв и sн заменяются на соответствующие значения sL).
















