Лабораторная работа №2 (989109)
Текст из файла
Лабораторная работа №2
ИССЛЕДОВАНИЕ ЗРИТЕЛЬНОЙ РАБОТОСПОСОБНОСТИ
ПРИ КОРРЕКТОРСКОЙ РАБОТЕ
ЦЕЛЬ РАБОТЫ
Целью данной работы является исследование зрительной работоспособности при корректорской работе.
Объектами исследования являются корректорские тексты, выполненные по специальной методике.
В следуемой работе исследуется влияние уровня освещённости на зрительную работоспособность, влияние контраста объекта с фоном на зрительную работоспособность, также проводится оценка зрительного утомления по измерениям видимости объектов до и после выполнения корректорской работы.
ОПИСАНИЕ УСТАНОВКИ
-
корректорские тексты;
-
столик, на котором располагаются объекты исследования (корректорские тексты) распложенный в светотехнической камере, в которой создаются все необходимые уровни освещённости;
-
люксметр для измерения освещенности;
-
секундомер, с помощью которого фиксируется время проведения механической работы вычёркивания одной строки;
-
монокулярный поляризационный измеритель видимости для измерения видимости стандартных текстов до и после работы;
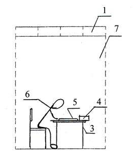
Рис 1. Схема установки.
-
осветительные приборы;
-
столик;
-
люксметр;
-
тест;
-
наблюдатель;
-
светотехническая камера.
ВАРИАНТЫ ПРАКТИЧЕСКИХ ЗАДАНИЙ
-
Исследовать влияние разных ламп на зрительную работоспособность при одинаковой освещенности
-
Галогенная лампа накаливания (ГЛН);
-
Лампа накаливания (ЛН);
-
Люминесцентная лампа (ЛЛ).
-
2. Оценка зрительного утомления после работы.
ИЗМЕРЕНИЯ
| Наблю-датель | Тип лампы | Буква | видимость (измерения) | Время работы, с | Видимость | tзач.1,с | ||
| начало | конец | начало | конец | |||||
| Олеся | ЛН | К | 80,70 | 77,50 | 600 | 79,10 | 80,50 | 36,00 |
| М | 77,50 | 83,50 | 430 | |||||
| ГЛН | А | 85,50 | 92,50 | 540 | 89,00 | 82,50 | ||
| Й | 92,50 | 72,50 | 668 | |||||
|
| ЛЛ | Ъ | 80,9 | 85 | 301 | 82,95 | 88,40 | |
|
| Й | 85 | 91,8 | 147 | ||||
| Алёна | ЛН | А | 95 | 102 | 403 | 98,50 | 101,25 | 36,5 |
| Й | 102 | 100,5 | 230 | |||||
| ГЛН | Я | 102 | 98 | 501 | 100,00 | 96,30 | ||
| Ф | 98 | 94,5 | 373 | |||||
|
| ЛЛ | В | 99,7 | 95,4 | 301 | 83,00 | 88,40 | |
|
| Н | 95,4 | 93 | 147 | ||||
| Татьяна | ГЛН | Л | 91,50 | 93,00 | 660 | 92,30 | 93,50 | 37,5 |
| Х | 93,00 | 94,00 | 660 | |||||
| ЛЛ | Й | 90,00 | 93,00 | 240 | 91,50 | 92,00 | ||
| Щ | 93,00 | 91,00 | 330 | |||||
|
| ЛН | Ъ | 91 | 90,75 | 480 | 90,80 | 90,30 | |
|
| Й | 90,75 | 90 | 180 | ||||
Таблица 2. Результаты измерений.
Оценка зрительного утомления.
Просуммируем разности видимостей и усредним(1) ;
получим оценку утомления при рассмотрении трех ламп при делении на среднюю видимость(2)
ЛН:
1) (1,4+2,75+0,5)/3=1,55
2)1,55* 100%/89,5=1,7%
ЛЛ:
1)3,78
2)3,78/85=4,5%
ГЛН:
1)3,8
2)3,8/93,77=4,1%
Можно сделать вывод о рациональности использования лампы накаливания
для чтения, письма и других работ, требующих сосредоточенности.
МЕТОДИЧЕСКИЕ УКАЗАНИЯ ПО ВЫПОЛНЕНИЮ РАБОТЫ
-
По заданию преподавателя выбирается буква, которую нужно вычёркивать;
-
Производится нумерация строк в тексте;
-
Люксметром измеряется освещенность на рабочем месте;
-
Измеряется видимость стандартного текста;
-
Вычёркивается заданная буква;
-
По секундомеру фиксируется время вычёркивания буквы в столбце.
ОБРАБОТКА ИЗМЕРЕНИЙ
Расчет производится по нижеприведённым формулам, результаты которого сведены в таблицу 6.1.
-
производится подсчёт количества вычеркнутой буквы (
) и количества неправильно вычеркнутой буквы (
). Далее вычисляется
и
по формулам:
Количество правильно вычеркнутой заданной буквы (
) вычисляется по формуле:
Q=Q1´-Qн
-
Измеряется видимость стандартного текста;
-
Определяется время механической работы:
- время зачеркивания одной строки;
- количество вычеркнутой данной буквы на листе
- время вычёркивания заданной буквы;
| Наблю-датель | Тип лампы | Буква | Q1' | Qн' | Q1 | t м.р. | t вып.зр. | ||||||||
| Олеся | ЛН | К | 96 | 1 | 95 | 38,4 | 561,6 | ||||||||
| М | 83 | 0 | 83 | 33,2 | 396,8 | ||||||||||
| ЛЛ | А | 108 | 2 | 106 | 43,2 | 496,8 | |||||||||
| Й | 100 | 1 | 99 | 40 | 628 | ||||||||||
| Ъ | 59 | 0 | 59 | 23,6 | 296,4 | ||||||||||
| Й | 71 | 0 | 71 | 28,4 | 136,6 | ||||||||||
| Алёна | ЛН | А | 109 | 0 | 109 | 44,21 | 469,8 | ||||||||
| Й | 89 | 0 | 89 | 36,09 | 230,9 | ||||||||||
| ГЛН | Я | 89 | 1 | 89 | 32,14 | 396,9 | |||||||||
| Ф | 74 | 0 | 74 | 26,72 | 201,3 | ||||||||||
| ЛЛ | В | 106 | 1 | 105 | 43,46 | 257,54 | |||||||||
| Н | 108 | 0 | 108 | 44,28 | 102,72 | ||||||||||
| Татьяна | ГЛН | Л | 94 | 1 | 93 | 39,5 | 620,5 | ||||||||
| Х | 108 | 0 | 108 | 45,4 | 614,5 | ||||||||||
| ЛЛ | Й | 101 | 3 | 98 | 42,42 | 197,58 | |||||||||
| Щ | 87 | 1 | 86 | 36,54 | 293,46 | ||||||||||
| Ъ | 101 | 0 | 101 | 42,42 | 437,6 | ||||||||||
| Й | 123 | 0 | 123 | 51,66 | 128,1 | ||||||||||
Таблица 3. Предварительный расчет.
РАСЧЁТ
Зрительная работоспособность определяется по следующей формуле:
Характеристики
Тип файла документ
Документы такого типа открываются такими программами, как Microsoft Office Word на компьютерах Windows, Apple Pages на компьютерах Mac, Open Office - бесплатная альтернатива на различных платформах, в том числе Linux. Наиболее простым и современным решением будут Google документы, так как открываются онлайн без скачивания прямо в браузере на любой платформе. Существуют российские качественные аналоги, например от Яндекса.
Будьте внимательны на мобильных устройствах, так как там используются упрощённый функционал даже в официальном приложении от Microsoft, поэтому для просмотра скачивайте PDF-версию. А если нужно редактировать файл, то используйте оригинальный файл.
Файлы такого типа обычно разбиты на страницы, а текст может быть форматированным (жирный, курсив, выбор шрифта, таблицы и т.п.), а также в него можно добавлять изображения. Формат идеально подходит для рефератов, докладов и РПЗ курсовых проектов, которые необходимо распечатать. Кстати перед печатью также сохраняйте файл в PDF, так как принтер может начудить со шрифтами.
















