[11] Методы Выращивания Кристаллов В Электронной Технике (987513), страница 20
Текст из файла (страница 20)
Рентгеновская литография
Рентгеновская литография является по существу частным случаем оптической бесконтактной печати с длиной волны экспонирующего облучения в пределах 0,4—5 мм и величиной зазора между шаблоном и пластиной порядка 40 мкм. Проявление дифракционных эффектов в этом методе за счет малой
Величины длины волны рентгеновского излучения сведено до минимума.
Применение метода рентгеновской литографии позволяет:
а) одновременно получать высокое разрешение элементов топологии и высокую производительность процесса переноса изображения;
б
) уменьшить проявление эффектов рассеяния в резистах и подложке за счет малой величины энергии мягкого рентгеновского излучения.
Рис.11.4.11 Геометрические искажения в рентгенографии
К недостатку метода следует отнести так называемый геометрический эффект (рис. 11.4.11). Конечная протяженность источника рентгеновского излучения d приводит к размытию изображения на резисте = d(g/L). Размытие изображения элементов топологии обычных установок рентгеновской литографии достигает величины порядка 0,2 мкм.
11.4.5. Другие методы литографии
Литография в УФ-области
Уменьшение длины волны экспонирующего излучения до 200—300 нм (стандартная фотолитография обычно проводится в спектральном диапазоне 300—450 нм) позволяет формировать изображение элементов топологии с размерами порядка 0,5 мкм, что в 2-3 раза лучше фактического разрешения стандартной фотолитографии. Применение этого метода требует незначительной модернизации стандартного фотолитографического оборудования. Так, все стеклянные детали установок для пропускания ими УФ-излучения необходимо заменить на кварцевые или сапфировые. Для экспонирования применяются ксеноно-ртутные лампы промышленного изготовления, обладающие излучением в глубокой УФ-области. Преимущество метода определяется также возможностью использовать практически любой электронный резист.
Ионно-лучевая литография
Формирование рисунка на кремниевой пластине Возможно также при помощи ионных пучков. Преимуществами этого метода являются меньшее рассеивание ионов вследствие их массы и большее разрешение по сравнению с электроннолучевой литографией ввиду отсутствия эффекта близости. Ионно-лучевая литография применяется как для непосредственного нанесения рисунка на пластину, так и для изготовления шаблонов. Формирование рисунка также возможно с помощью радикального повреждения окиси кремния SiO2 ионами водорода и гелия. Повреждения участков пластины, вызванные ионным пучком, ускоряют последующие процессы травления или распыления. Использование тонких сфокусированных ионных пучков позволяет изменять электрические и механические свойства полупроводниковых материалов при имплантации, непосредственно формировать рисунки на тонких металлических слоях. Этот метод применим и для изготовления шаблонов методом мультиплицирования в масштабе 1 : 1 для рентгеновской литографии. Единственным сдерживающим фактором широкого применения метода ионно-лучевой литографии в настоящее время является слабая интенсивность ионных источников, что сказывается на производительности метода.
Тенденции развития процесса литографии и основные ограничения в уменьшении предельных размеров И С
Существуют две основные причины сдерживания степени интеграции ИС: имеющиеся возможности получения требуемых размеров элементов схем и физические принципы работы приборов. Основные ограничения литографических методов определяются точностью изготовления шаблонов и травления рисунка элементов ИС.
Фундаментальные ограничения работы приборов связаны с основными законами квантовой статистической физики,
1. В квантовой механике существуют принципиальные неточности в определении пространственного положения и величины импульса частицы, связанные с неклассической природой микрочастиц. Неточность х в определении координаты х частицы связана с неточностью рx, в определении проекции рх ее импульса соотношением неопределенности Гейзенберга
x*рx h/4
где h — постоянная Планка, h=6,34 * 10-34 Дж*с.
2. Измерение любой физической величины, характеризующей микрообъем, за время t приводит к изменению энергии
E h/(2t)
Эта энергия высвобождается в виде тепла и может рассматриваться как нижний предел мощности рассеяния на одну операцию.
Минимальная величина указанной энергии на одну операцию имеет порядок 2*10-25Дж. Ясно, что при определенной степени интеграции ИС эту энергию невозможно будет отвести даже при охлаждении жидким гелием.
3
. В случае очень тонкого изолятора, расположенного между двумя проводниками, затухание волновых функций электрона в нем может привести к нулевой вероятности обнаружения последнего на другой стороне этого изолятора. Явление прохождения («просачивания») частиц сквозь потенциальный барьер называется в квантовой механике туннельным эффектом. Так, для прямоугольного барьера вводится понятие прозрачности
где Iпад и Iпрох — интенсивность падающей и проходящей волн; а — ширина; U0 — высота потенциального барьера; Е — энергия частицы; т — масса частицы; До — коэффициент близкий к единице.
Толщина оксида под затвором транзистора, например, не может быть уменьшена до толщины в 2-3 атомных слоя, так как даже при толщинах порядка 10-3 мкм МОП-транзистор перестает функционировать вследствие появления туннельных токов.
Свойства материалов также накладывают ограничения на линейные размеры элементов ИС. К этим свойствам относятся пробивная напряженность поля, концентрация примесей, плотность дислокаций, химическая чистота материалов и т. д.
Дополнительные ограничения накладывают условия функционирования приборов: температурный диапазон их работы, полоса пропускания, рабочая частота, напряжение включения и выключения, коэффициент усиления и многие другие параметры.
При работе, например, МОП-транзистора вблизи порогового напряжения проводимость канала 1/R при условии, что напряжение на затворе несколько ниже напряжения порога, определяется следующим выражением:
1/R=1/R0 ехр [(Uqs—Utn)q/KT].
Уменьшение рабочих напряжений Uqs и Utn и линейных размеров канала (с ними связано R0) может привести к заметным утечкам. Определяющей в этом случае является величина KT/q, при комнатной температуре равная 0,025 В.
Ограничения процесса литографии в части техники его исполнения определяются тремя факторами: точностью совмещения, разрешением и производительностью. Целью же всех исследований в области поиска новых методов проведения литографического процесса является уменьшение ширины линий элементов ИС (рис. 11.4.1).
11.5. ИОННАЯ ИМПЛАНТАЦИЯ
11.5.1. Общие принципы процесса ионной имплантации
Ионной имплантацией называют процесс внедрения ускоренных в электромагнитном поле ионов в пластину полупроводника. Глубина проникновения легирующей примеси при этом зависит от типа бомбардирующих ионов, их энергии и кристаллической структуры мишени. Процесс внедрения ионов в мишень обычно приводит к образованию нарушений кристаллической структуры полупроводниковой пластины, которые затем частично устраняются во время отжига.
В
ысокая доза имплантируемых ионов может привести к сильному повреждению приповерхностного слоя и образованию в результате последующего отжига мелкозернистых поликристаллических слоев. Тем не менее метод позволяет формировать легированные области в полупроводнике с концентрацией примесей до 1021 см-1. Возможность легкого управления профилем легирования внедренных ионов по глубине определяет основное преимущество метода ионной имплантации. Длина пробега внедренных в пластину ионов связана с их энергией и не превышает 1 мкм.
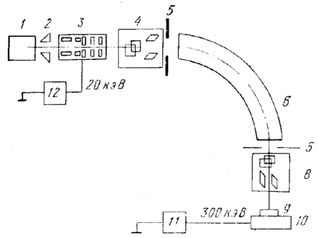
Рис. 11.5.1. Схема установки ионного легирования: 1—ионный источник; 2 — вытягивающий электрод; 3 — фокусирующая система с ускорителем; 4—система коррекции электронного пучка; 5—диафрагмы для пропускания сфокусированного пучка; 6 — электромагнитный сепаратор; 8—система электромагнитного сканирования пучка ионов; 9—облучаемый образец; 10—держатель;11—высоковольтный ускоритель; 12—предварительный ускоритель
Технология ионной имплантации позволяет получать тонкие легированные слои с точностью залегания по глубине порядка 0,02 мкм, а также управлять их концентрацией, начиная с диапазона 1014—1016 см-3. Другим преимуществом процесса ионного легирования является возможность формирования практически любого профиля распределения примеси с помощью варьирования энергии и дозы вводимых ионов. Энергия бомбардируемых ионов находится обычно в диапазоне от десятков килоэлектронвольт.до единиц мегаэлектронвольт. На рис. 11.5.1 представлена схема установки ионного легирования. В ионном источнике происходит ионизация паров или газа, содержащих атомы примеси. Вытянутый из источника, сфокусированный и ускоренный ионный пучок разделяется по массе ионов в электромагнитном сепараторе. Перед попаданием на поверхность пластины он расфокусируется до требуемых размеров элементов ИС и сканируется по ее поверхности с помощью электромагнитной отклоняющей системы 8.
11.5.2. Распределение пробегов ионов
Ядерная тормозная способность
Длина пробега внедренных в пластину ионов определяется согласно теории Линдхарда, Шарфа и Шиотта. Механизмы потерь энергии иона при его торможении в мишени по этой теории предполагаются независимыми друг от друга и аддитивными. К двум важнейшим механизмам ионного торможения относятся упругие соударения ионов с ядрами атомов мишени и взаимодействие со связанными электронами мишени, что в обоих случаях приводит к их рассеянию. При торможении ионов потери энергии на единицу длины их пробега в мишени определяются выражением
dE/dx=N*(Sn+Se) (11.5.1)
где Е—энергия иона; х—глубина его проникновения;
N
—концентрация атомов в мишени; Sn,Se —ядерная и электронная тормозные способности мишени.
Рис. 11.5.2. Схема рассеяния иона 1 и атома мишени 2 в системе центра масс
Рассмотрим задачу о рассеянии двух частиц, одна из которых до рассеяния покоится. Эта задача является частным случаем задачи для двух тел, когда интересуются лишь скоростями частиц после рассеяния (рис. 11.5.2). При соударении имплантируемый ион отклоняется от направления первоначального своего движения на угол и передает энергию атому мишени Е1. Угол рассеяния может изменяться от 0 до 180°, причем значение =0 соответствует бесконечно далекому пролету иона, а = 180°—лобовому удару, значение Е1 при этом меняется от 0 до
(11.5.2)
где т1 и т2—относительные молекулярные массы иона примеси и атома мишени; Е — начальная энергия внедренного иона.
Р
асчеты показывают, что энергия E1 зависит от угла рассеяния следующим образом:(11.5.3)
г
де угол является углом рассеяния частиц в системе центра масс (рис. 11.5.2). Зависимость угла от величины прицельного расстояния и скорости иона до рассеяния определяется интегралом(11.5.4)
















